Foram encontradas 1.030 questões.
Câncer de pele, mesotelioma de pleura, câncer de fígado, asfixia e narcose, em trabalhadores, estão relacionados respectivamente a riscos gerados de exposições ocupacionais a:
Provas
Questão presente nas seguintes provas
Qual a alternativa que lista apenas processos da fase de Operação de Serviço do ciclo de vida da biblioteca ITIL v3?
Provas
Questão presente nas seguintes provas
As técnicas de recuperação de acervos bibliográficos podem ser realizadas de modo convencional e artesanal, mas, em condições mais avançadas, também podem ser conduzidas por modernas técnicas de estabilização do material, buscando aumentar o tempo de vida útil do papel. Em relação às técnicas de recuperação de acervos bibliográficos, assinale a alternativa incorreta.
Provas
Questão presente nas seguintes provas
O que dispõe a Lei 6514, de 22.12.1977?
Provas
Questão presente nas seguintes provas
Para a UNESCO, os processos de globalização e as novas tecnologias de comunicação podem constituir ameaça à diversidade das culturas humanas, pondo em risco certos “repertórios culturais”. Sobre esta perda de repertórios culturais a UNESCO afirma que:
Provas
Questão presente nas seguintes provas
A diferenciação de elementos em um agrupamento cria um foco para reflexão. Acerca disso, analise as proposições abaixo.
1) O isolamento de um elemento em relação aos outros da composição constrói uma situação de destaque ou oposição.
2) A mudança de tamanho dos elementos compositivos pode dar-se de maneira abrupta ou progressiva.
3) A diferenciação dos elementos pode ser obtida através de mudanças de forma, posição, orientação, cor, valor ou textura.
Está(ão) correta(s):
Provas
Questão presente nas seguintes provas
A questão refere-se ao trecho abaixo, extraído da canção “Desafio” de Edino Krieger, com poema de Manuel Bandeira.

A base rítmica tocada pela mão esquerda da música de Krieger remete a qual ritmo brasileiro?
Provas
Questão presente nas seguintes provas
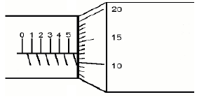
A figura abaixo mostra as escalas de leitura de um micrômetro, aparelho bastante útil para medidas precisas das dimensões de pequenos objetos. O princípio de funcionamento deste aparelho consiste na divisão da escala principal (milimétrica) do instrumento em uma escala angular (vernier) de maior precisão, de tal forma que duas voltas completas do tambor correspondem a um avanço de 1 milímetro no parafuso micrométrico. A escala angular do tambor contém 50 subdivisões, de tal forma que cada subdivisão menor do aparelho corresponde a uma fração de!$ (0.5/50) mm = 0.01 mm = 10 \mu m !$. Com base na figura abaixo, o melhor valor da medida do comprimento do objeto analisado com este micrômetro será igual a:

Provas
Questão presente nas seguintes provas
São características da canção de Câmara Brasileira:
1) a escrita pianística como parte integrante do discurso, reforçando o poema.
2) a utilização de ritmos e gêneros do folclore nacional.
3) a liberdade, dada tanto ao cantor como ao pianista, de improvisar melodia e harmonia.
4) a utilização das formas estrófica e continuada (durchkomponiert).
5) caráter eminentemente tonal.
Estão corretas, apenas:
Provas
Questão presente nas seguintes provas
Os procedimentos de esterilização geralmente visam à eliminação de contaminantes microbianos de utensílios e equipamentos utilizados no laboratório. Sobre a esterilização de vidrarias, é correto afirmar que:
Provas
Questão presente nas seguintes provas
Cadernos
Caderno Container