Foram encontradas 520 questões.
No âmbito dos Web Services, o protocolo padrão OASIS que especifica um método para descoberta de diretórios de serviços é o
Provas
Questão presente nas seguintes provas
A equação da posição de um móvel é dada pela equação S = ln (2t² – 4t – 4), sendo S dado em metros e t em segundos, a velocidade deste móvel para t = 3 s é
Provas
Questão presente nas seguintes provas
Analise o circuito elétrico abaixo.

Considerando que a lâmpada foi projetada para 24 Volts e 60 Watts, qual a maior tensão elétrica (V1) possível com que podemos alimentar o circuito, e a menor resistência elétrica (R1) possível que podemos associar no circuito para que a lâmpada incandescente dissipe sua potência máxima sem queimar o fusível de corrente elétrica máxima de 4 Ampéres?
Provas
Questão presente nas seguintes provas
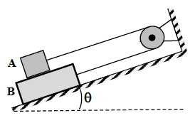
Dois blocos A e B são conectados entre si por uma corda inextensível, que passa numa roldana, como está representado na figura ao lado. A massa do bloco A é igual à metade da massa do bloco B. Os coeficientes de atrito cinético e estático entre o bloco A e o bloco B são, respectivamente, iguais a 0,4 e 0,5.

Considerando-se que a superfície do plano inclinado é uma superfície lisa e que a massa da corda, a massa da roldana e o atrito no eixo que prende a roldana são desprezíveis, o ângulo !$ θ !$ indicado na figura, a partir do qual começa ocorrer o movimento dos blocos, é de
Provas
Questão presente nas seguintes provas
O órgão ambiental competente estabelecerá os prazos de validade de cada tipo de licença, especificando-os no respectivo documento. Com relação a estas determinações, deve-se considerar que o prazo de validade da
Provas
Questão presente nas seguintes provas
Considerando o seguinte Diagrama Entidade-Relacionamento:

Qual a sequência correta de comandos DDL que cria o modelo físico correspondente ao Diagrama Entidade-Relacionamento acima?
Provas
Questão presente nas seguintes provas
Considere uma carga trifásica ligada em estrela, constituída por impedâncias iguais a 4+j3Ω/fase, sendo a tensão de linha igual a 208V.
O que indica, aproximadamente, os valores das potências ativa e reativa, por fase, respectivamente?
Provas
Questão presente nas seguintes provas
Praticamente todas as instalações frigoríficas estão sujeitas a um regime de carga térmica variável. Se uma instalação operasse permanentemente a plena carga, em períodos de pequena exigência frigorífica, a temperatura de evaporação diminuiria até que a capacidade da instalação satisfizesse a demanda. Uma maneira para evitarmos este problema na refrigeração industrial, em que se opera com compressores de maiores potências, é controlar a capacidade dos compressores.
Com base nisto, o que é mais adequado do ponto de vista de eficiência energética da instalação de refrigeração quando temos variação da carga térmica?
Provas
Questão presente nas seguintes provas
No cálculo da carga térmica de instalações de refrigeração industrial, um dos principais parâmetros a se considerar é o calor transmitido através das paredes das câmaras de congelamento e estocagem. Um fluxo de calor por unidade de área de 10 kcal/h.m² corresponde a um isolamento de boa qualidade. Em uma câmara de estocagem de congelados, mantida a -30°C, a temperatura máxima média observada no verão para a localização é de 45°C.
Admitindo-se um isolamento de boa qualidade e desprezando os coeficientes de convecção externo e interno, qual seria a espessura aproximada do isolamento térmico (k=0,02 kcal/h. m.°c) utilizado na câmara?
Provas
Questão presente nas seguintes provas
The extract below is a sample from a senior-year student of Language Studies (Letras) who is presenting some material on semantics and pragmatics. She is a Brazilian Portuguese native speaker.
Conventions: S9 stands for Student 9; UNID for Unidentified student; T2 for Teacher two; […] for omitted parts; and // for overlapping.
S9: [...] (Reading a sentence from the overhead projector:)The thief tried to
S9: [...] (Reading a sentence from the overhead projector:)The thief tried to
conceal/hide the evidence. These two words here conceal and hide have the same sense so these two words are synonym. It’s clear?
UNID: Hmm-hmm.
UNID: Hmm-hmm.
S9: [...] the professor... said… that… thank you (She thanks her classmate for putting the transparency on the overhead projector) children can be son or a daughter... Here we have, we don’t, we don’t know how old is the kid so how old //T2: And kid is a little bit more informal …
(ARAÚJO-SILVA, 2006, p. 70)
Based on the sample above, it can be inferred that:
Provas
Questão presente nas seguintes provas
Cadernos
Caderno Container