Foram encontradas 300 questões.
Observe as figuras a seguir.

As funções orgãnicas que possuem os grupos funcionais acima, (I) e (II), são classificadas, respectivamente, como
Provas
Observe o composto a seguir.
\( CH_3 - CH - CH - CH_3 \\ CH_3 - CH_2 \ \ CH_3 \)
Assinale a opção que apresenta o nome do composto acima.
Provas
Uma mola tem um comprimento normal de 10 centímetros. Se uma força de 8 Newtons é necessária para distender a mola em 2 centímetros, qual será o trabalho realizado ao se alongar a mola em 6 centímetros?
Provas
Observe a figura a seguir.

Uma força F dada por \( F = \dfrac{s^2}{2} + 1 \) Newtons, conforme figura acima, age numa partícula P no eixo S e move a partícula de S = 2 metros até S = 6 metros. Sendo assim, a quantidade de trabalho realizado será
Provas
Determine o valor da integral \( \int x \sqrt{5-x} \ \ dx \) e assinale a opção correta.
Provas
Dada a função \( f(x) = \left ( \dfrac{x^2 + x}{1 - 2x} \right )^4 \), o valor da derivada de f(x) será
Provas
Dada a função g (x) = (3x2 + 7) 2 (5 - 3x) 3 , o valor da derivada de g (x) será
Provas
Em um experimento, considere que o ar a T\( _{∞} \)= 800°C (mantida invariável) transmite, em regime permanente, um fluxo de 2 calor q1" = 70kW/m a um pequeno bloco vazado. Para manter a temperatura superficial do bloco Ts,1 = 700ºC, a quantidade de calor transferida pelo ar a esse bloco é removida pela vazão de uma substância refrigerante que escoa em um canal interno ao bloco. Admita que o coeficiente convectivo médio local h (do ar) permanece constante. Sendo a temperatura superficial do bloco reduzida para Ts,2 = 600ºC (em função do aumento de vazão do refrigerante), determine o novo fluxo térmico q2" (em kW/m2 ) transmitido pelo ar ao bloco e assinale a opção correta.
Provas
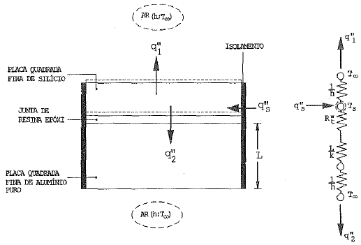
Observe as figuras a seguir.

O sistema acima é formado por duas placas quadradas, uma de silício e uma de aluminio, este com coeficiente de condutividade térmica K e espessura L. Entre essas placas existe uma junta de resina epóxi. A superficie de cada placa é refrigerada a ar (com temperatura constante T00 e coeficiente convecti vo h) . Admita que Rt'' é a resistência térmica da interface de silício/alumínio, contendo o epóxi entre esses dois materiais. Despreze os efeitos radiativos e a resistência térmica da placa de silício (placa isotérmica) .
Determine a expressão para a temperatura Ts da placa de silício que absorve um fluxo de calor unidimensional qs " (em regime permanente) e, a seguir, assinale a opção correta.
Provas
Observe as figuras a seguir.

No ciclo ideal Rankine acima representado, o vapor d'água deixa a caldeira e entra na turbina como vapor superaquecido a 5MPa e 500ºC. A pressão no condensador é de 25kPa. Admita que os processos desse ciclo ocorram em regime permanente e com variações desprezíveis de energias cinética e potencial. Nessas condições e utilizando o critério de arredondamento na primeira casa decimal, calcule o rendimento do ciclo e assinale a opção correta.
Provas
Caderno Container