Foram encontradas 300 questões.
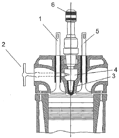
Observe a figura a seguir que apresenta a vista em corte de uma câmara de pré-combustão (ou de injeção indireta) de um motor Diesel, cuja forma é do tipo cilíndrico-cônica.

Sendo assim, assinale a opção que apresenta os nomes dos componentes 1,2,3,4,5 e 6 respectivamente, indicados na figura acima.
Provas
Com relação (Verdadeiro) aos ou eixos e F (Falso), componentes de eixos, coloque V nas afirmativas abaixo e, a seguir, assinale a opção correta.
( ) Para transmitir torque de uma engrenagem de entrada para uma engrenagem de saída, um eixo deve ser dimensionado apenas para suportar deflexão torcional.
( ) Em eixos, tensões axiais transmitidas (em virtude de componentes axiais) por meio de engrenagens helicoidais ou mancais de rolos cõnicos serão quase sempre desprezivelmente pequenas se comparadas às tensões de momento fletor. () O uso de ressaltos de um eixo cilíndrico escalonado é um meio excelente de localizar axialmente os elementos (componentes) de eixo e de transmitir quaisquer cargas axiais.
( ) Em um eixo de comprimento extremamente longo, onde devem ser montados vários componentes de suporte (apoio) de carga, sempre serão necessários apenas dois mancais de sustentação bem alinhados para garantir a mínima deflexão aceitável ao referido eixo.
Provas
Com relação aos motores Diesel, assinale a opção que apresenta um defeito que ocorre em anéis de segmento que foram demasiadamente abertos durante a colocação dos pistões, em virtude de terem sido submetidos a uma tensão excessiva.
Provas
Com relação às concepções de compressores alternativos utilizados na refrigeração, coloque V (Verdadeiro) ou F (Falso) nas afirmativas abaixo e, em seguida, assinale a opção que apresenta a sequência correta.
( ) Os compressores herméticos e semi-herméticos eliminam a necessidade de um selo de vedação para o eixo, entretanto, podem perder um pouco de sua eficiência em virtude do aquecimento do fluido refrigerante promovido pelo enrolamento do motor.
( ) No compressor aberto, o eixo de acionamento atravessa a carcaça, sendo, portanto, acionado por um motor exterior.
( ) No compressor semi-hermético, a carcaça exterior aloja tanto o compressor propriamente dito quanto o motor de acionamento. Esse compressor deve sua denominação ao fato de permitir a remoção do cabeçote, tornando acessíveis as válvulas e os pistões.
Provas
O líquido, quando escoa ao longo de dispositivos (tubulações, válvulas, conexões, órgãos de máquinas, etc.), cede energia para vencer as resistências que se oferecem ao seu escoamento, decorrentes de atrações moleculares no próprio líquido, e as próprias resistências desses dispositivos. Essa energia despendida para que o líquido possa escoar entre duas seções consideradas é denominada
Provas
Observe a figura a seguir.

Um momento de 5 N.m é aplicado ao cabo de uma chave de fenda, conforme a figura acima. Decomponha esse momento de binário em um par de binários P atuando na lâmina da ferramenta e assinale a opção correta.
Provas
Como é denominado o acessório utilizado em tubulações com a finalidade de absorver total ou parcialmente as dilatações provenientes das variações de temperatura e, em alguns casos, com a finalidade de impedir a propagação de vibração ou de esforços mecânicos?
Provas
Uma das funções das válvulas de retenção especiais é manter a escorva nas linhas de sucção de bombas. Essas válvulas são semelhantes às válvulas de retenção de pistão, tendo, geralmente no tampão, um disco de material resiliente para melhorar a vedação. Assinale a opção que corresponde ao tipo de válvula da descrição acima.
Provas
Com relação às bombas industriais, analise as afirmativas abaixo e assinale a opção correta.
Provas
Com relação à classificação e descrição das bombas, assinale a opção correta.
Provas
Caderno Container