Foram encontradas 300 questões.
Observe a figura abaixo.

Uma espira circular de raio R = 5cm é percorrida por uma corrente i. A uma distãncia de 15cm do centro dessa espira, encontram-se dois condutores retilíneos infinitamente longos, que são percorridos por uma corrente il, conforme a figura acima. Calcule a razão entre as correntes ii/ i para que se anule o campo de indução magnética no centro da espira e assinale a opção correta.
Provas
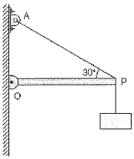
Observe a figura a seguir.

Na figura acima, a barra OP, homogênea e de secção reta e uniforme, de 77,57 cm de comprimento e peso 80 N, pode girar livremente em torno de O. Ela sustenta, na extremidade P, um corpo de peso 110N. A barra é mantida em equilíbrio, em posição horizontal, pelo fio de sustentação PQ. Qual é o valor da força de tração no fio?
Provas
Observe a figura a seguir.

Um fluido incompressível, com densidade igual a 10Kg/m3, conforme ilustrado acima, Flui de S1 para S2, onde a seção de S1 mede 8m2 e a seção de S2 mede 4m2. Sabendo que a diferença de pressão entre S1 e S2 é de 2,4Pa, qual é o valor da velocidade do fluido, em m/s na seção S2?
Provas
Considere um gás ideal, colocado no interior de êmbulo a uma temperatura de 27°C e à pressão de 10N/m2 , em um volume de 5m3 . Suponha que esse gás sofra uma expansão isobárica e sua temperatura atinja o triplo do valor inicial. Assinale a opção que apresenta o trabalho realizado sobre o gás, em joules.
Provas
Encontre uma possível solução da equação diferencial d2y/dt - 4.dy/dt + 5y = 0 e assinale a opção correta.
Provas
Escreva o vetor v = (15,5,20) de R3 como uma combinação dos vetores x = (1,1,2), y = (1,-1,0) e z = (3,1,-3) e assinale a opção correta.
Provas
Encontre os autovalores da matriz \( A = \begin{vmatrix} 4 & 2 \\ 5 & 1 \end{vmatrix} \) e assinale a opção correta.
Provas
Sabendo-se que a probabilidade de sobrevivência de um determinado procedimento cirúrgico é de 4/5, se 4 pacientes realizarem essa cirurgia, a probabilidade de, pelo menos 1, não sobreviver, é de
Provas
- Estatística DescritivaMedidas de Tendência CentralMédiasMédia AritméticaMédia Simples (Não Agrupados)
Foi realizada uma amostra para se obter informação sobre a distribuição dos salários entre os militares da Marinha. Encontrou-se que o salário médio era de R$ 6.000,00. O salário médio observado entre os homens foi de R$ 6.500,00 e entre as mulheres foi de R$ 5.500,00. Com relação a essas informações, assinale a opção correta.
Provas
Observe o circuito abaixo.

Dado que V1 = 10.sen1000t, é uma fonte de tensão elétrica senoidal, assinale a opção que apresenta o valor da capacitância C do circuito acima, em \( \mu F, \) de modo que a tensão Vo medida tenha amplitude máxima, e o valor máximo de Vo, respectivamente.
Provas
Caderno Container