Foram encontradas 40 questões.
Considerando o diagrama Fe-C e as características estruturais do ferro, qual o microconstituinte considerado o mais mole, o mais duro fora do equilíbrio e o mais duro no equilíbrio, respectivamente:
Provas
Em conformidade com a Lei 9.394, o Ensino Médio, etapa final da Educação Básica, com duração mínima de três anos, terá como finalidades:
( ) a consolidação e o aprofundamento dos conhecimentos adquiridos no ensino fundamental, possibilitando o prosseguimento de estudos.
( ) a preparação básica para o trabalho e a cidadania do educando, para continuar aprendendo, de modo a ser capaz de se adaptar com flexibilidade a novas condições de ocupação ou aperfeiçoamentos posteriores.
( ) o aprimoramento do educando como pessoa humana, incluindo a formação ética e o desenvolvimento da autonomia intelectual e do pensamento crítico.
( ) a compreensão dos fundamentos científico-tecnológicos dos processos produtivos, relacionando a teoria com a prática, no ensino de cada disciplina.
Provas
Sobre o fresamento de engrenagens é CORRETO afirmar que
Provas
Em relação ao diagrama ferro-carbono o ponto eutetoide é:
Provas
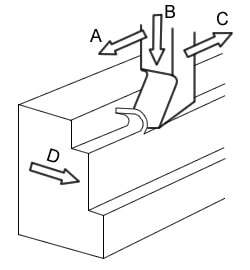
A figura abaixo apresenta os movimentos de um processo de aplainamento. Marque a opção que identifica corretamente estes movimentos.

Provas
Uma das formas de classificação das fresas é quanto ao ângulo de cunha. Sobre esta classificação, é CORRETO afirmar que:
Provas
Considerando o raio atômico R, qual é o volume da célula unitária cúbica simples (CS)?
Provas
A figura abaixo apresenta os ângulos em uma ferramenta de aplainamento.

Sobre estes ângulos é CORRETO afirmar que:
Provas
A rugosidade superficial, no processo de torneamento, é influenciada pela velocidade de avanço da ferramenta e pelo raio da ferramenta. É CORRETO afirmar que:
Provas
No torneamento de peças cilíndricas, o operador avança a ferramenta, diminuindo o diâmetro da peça usinada, através de um mecanismo tipo rosca sem fim. Considere que o torno possui um mecanismo com rosca sem fim de passo 4mm, com uma única entrada, e foi dado um avanço na ferramenta de 0,5mm. Se a peça que está sendo usinada tem um diâmetro inicial de 40mm, após a operação de desbaste apresentada (avanço na ferramenta de 0,5mm), o diâmetro final da peça será:
Provas
Caderno Container