Foram encontradas 520 questões.
A posição de uma partícula que se move em um plano xy é dada pelo vetor !$ \vec{r} (4,0t - 0,5t^2) \hat{i} + (3,0t) \hat{j} !$, em unidades do SI. O módulo da velocidade média entre 0,0 s e 2,0 s e o módulo da velocidade para o instante 2,0 s valem, respectivamente
Provas
Questão presente nas seguintes provas
O protocolo HTTP admite os seguintes tipos de conexão:
Provas
Questão presente nas seguintes provas
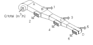
Um projetista da área de climatização necessita dimensionar uma rede de dutos de ar condicionado, conforme esquema ilustrado ao lado. Ele pretende utilizar o método da velocidade arbitrária, conforme recomendação NBR – 6401. Para tal, fixou a velocidade do ar em 4 m/s em todos os trechos da rede. Considerando as limitações de pé-direito do prédio, a altura da secção transversal dos dutos será para o trecho AB de 40 cm, para o trecho BC de 30 cm e para o trecho CD de 20 cm. A vazão de cada boca de insuflamento será de 1050 m³/h.

Nessas condições, podemos afirmar que as larguras das secções transversais dos trechos AB, BC e CD (sendo utilizados para isso arredondamentos de 5 cm) são, respectivamente:
Provas
Questão presente nas seguintes provas
Os filtros de linha são dispositivos simples, baseados quase sempre em fusíveis e varistores.
É a função principal de um filtro de linha
Provas
Questão presente nas seguintes provas
Observe o circuito de polarização de transistor apresentado ao lado.

Sendo R1 = 82kΩ, R2 = 22kΩ, R3 = 5,6kΩ, R4 = 1,2kΩ, β = 50 e Va = 18V, Qual o valor exato da corrente de coletor e da tensão !$ V_{CEQ} !$, respectivamente?
Provas
Questão presente nas seguintes provas
De acordo com a resolução CONAMA 237/97, ao ser notificado, o empreendedor deverá atender à solicitação de esclarecimentos e complementações, formuladas pelo órgão ambiental competente, dentro do prazo máximo de
Provas
Questão presente nas seguintes provas
Durante a construção de um edifício de 30 m de altura, uma caixa d’água é colocada no alto do prédio. Para enchê-la, um engenheiro deve decidir entre duas bombas de recalque de água: uma aspirante, que é capaz de reduzir a pressão na extremidade superior da tubulação, e uma impelente, capaz de aumentar a pressão exercida sobre a água a partir do solo. A bomba aspirante tem potência de 1 cv e a bomba impelente tem potência de !$ { \large 1 \over 2} !$ cv.
Com base nos conhecimentos de física, o engenheiro decidirá por utilizar uma bomba
Provas
Questão presente nas seguintes provas
1328435
Ano: 2013
Disciplina: TI - Organização e Arquitetura dos Computadores
Banca: IF-SUL
Orgão: IF-SUL
Disciplina: TI - Organização e Arquitetura dos Computadores
Banca: IF-SUL
Orgão: IF-SUL
Um microprocessador possui internamente pequenas memórias de acesso rápido, com capacidade de armazenamento de 8, 16, 32 ou 64 bits. Quando um programa é executado, os dados resultantes do processamento das instruções são armazenados nessas memórias, com o objetivo de aumentar a velocidade de processamento.
Essas memórias são conhecidas como
Provas
Questão presente nas seguintes provas
- Gerenciamento de MemóriaPaginação de Memória
- Gerenciamento de ProcessosCriação de Processos
- Gerenciamento de ProcessosEstados dos Processos
Considerando a atividade de Gerenciamento de Memória, é correto afirmar que o Sistema Operacional é envolvido com a paginação quando:
I. Na criação de um processo.
II. Quando o processo é escalonado.
III. Na finalização de um processo.
Está(ão) correta(s) a(s) afirmativa(s)
Provas
Questão presente nas seguintes provas
Uma espira circular de raio 10 cm está sob a ação de um campo magnético uniforme e variável no tempo. O vetor indução magnética é perpendicular ao plano da espira e o seu módulo B varia de acordo com o tempo t da seguinte forma: !$ B = 0,5 + 0,2t !$ , onde as grandezas estão expressas no Sistema Internacional de Unidades.
O campo magnético induz na espira uma força eletromotriz de
Provas
Questão presente nas seguintes provas
Cadernos
Caderno Container