Foram encontradas 1.269 questões.
A Organização Mundial da Saúde (OMS) e o Ministério da Saúde recomendam a utilização dos valores de referência para o acompanhamento do crescimento e do ganho de peso das curvas da OMS de 2006 (para crianças menores de 5 anos) e 2007 (para a faixa etária dos 5 aos 19 anos). São utilizados como parâmetros para avaliação do crescimento de crianças (menores de 10 anos) os seguintes gráficos: perímetro cefálico, peso para a idade, peso para comprimento/estatura, comprimento/estatura para a idade e Índice de Massa Corporal (IMC) para a idade. Qual(is) destes parâmetros é utilizado até os 2 anos?
Provas
Segundo a ABNT NBR 5410:2004 – Instalações Elétricas de Baixa Tensão, em caso de identificação por cor, deve ser usada a cor _____________ na isolação do condutor isolado ou da veia do cabo multipolar, ou na cobertura do cabo unipolar utilizado como condutor neutro. Além disso, quando qualquer um destes forem utilizados como condutor de proteção (PE) deve ser usada a dupla coloração ________________ ou a cor __________. Assinale a alternativa que preenche, correta e respectivamente, as lacunas do trecho acima.
Provas
Uma empresa comercial registrou na contabilidade as seguintes transações no mês de agosto de 2019:
- Realização de um empréstimo bancário para pagamento em 6 parcelas, no valor de R$ 80.000,00.
- Compra de Máquinas e Equipamentos no valor de R$ 160.000,00, sendo R$ 60.000,00 pagos à vista e R$ 100.000,00 a prazo para 30 dias.
- Pagamento à vista de despesas com materiais, no valor de R$ 20.000,00.
- Venda de Mercadorias a prazo, no valor de 70.000,00.
- Compra de mercadorias para estoque no valor de 120.000,00, sendo 10.000,00 pagos à vista e o saldo a pagar em 30 e 60 dias.
Considerando as transações ocorridas nesse mês e o saldo do balancete em 31/08/2019, atendendo ao regime contábil de competência para o período, é correto afirmar que ocorreu:
Provas
São considerados traumas dentários todas as transmissões agudas de energia ao dente e às estruturas de sua sustentação, cujos resultados podem ser desde deslocamento dentário ou esmagamento dos tecidos de sustentação atéífratura do elemento dental. Nesse sentido, relacione a Coluna 1 à Coluna 2.
Coluna 1
1. Fratura complicada de coroa e raiz.
2. Fratura coronorradicular.
3. Concussão.
4. Subluxação.
Coluna 2
( ) Lesão às estruturas de suporte dentário, sem mobilidade ou deslocamento anormal do dente, mas com aumentada sensibilidade à percussão.
( ) Lesão às estruturas de suporte dentário, com mobilidade anormal, mas sem deslocamento dentário.
( ) Lesão com perda de estrutura envolvendo esmalte e dentina com exposição do complexo pulpar.
( ) Lesão com perda de estrutura envolvendo esmalte, dentina e o cemento sem exposição do complexo pulpar.
A ordem correta de preenchimento dos parênteses, de cima para baixo, é:
Provas
Sobre os tumores de pele, não melanoma e melanomas, assinale a alternativa INCORRETA.
Provas
Menina com 2 anos apresenta febre e cefaleia há dois dias. Passa a apresentar vômitos, tendo feito tratamento sintomático com metoclopramida. À noite, apresentou lesões cutâneas que pioraram na manhã do dia seguinte, evoluindo para sonolência. Transferida para o hospital, sendo iniciado ampicilina e cloranfenicol. Foi solicitado ao laboratório exame de líquor e verificado, a partir do resultado laboratorial, tratar-se de meningite viral. Os dados encontrados no exame foram:
I. Citologia diminuída.
II. Predomínio de linfócitos.
III. Existência de proteínas e glicose.
Quais estão corretos?
Provas
O emprego de chave estática tipo “soft starter” para acionamento de motores de indução apresenta vantagens como aceleração e desaceleração progressivas e permite também a adaptação da velocidade às condições de operação. Entre as formas de ligação da chave estática, podemos citar:
I. Ligação direta em que o motor é conectado diretamente à “soft starter”.
II. Ligação com contator de by pass, situação em que se tira a “soft starter” de operação quando o motor opera em regime normal de trabalho, reduzindo as perdas na chave.
III. Ligação em partida sequencial em que, após concluída a partida do primeiro motor, este passa a ser alimentado com a tensão da rede, ficando a “soft starter” liberada para partida do próximo motor.
IV. Ligação simultânea de diversos motores empregando uma “soft starter” apenas com potência maior ou equivalente à soma das potências dos motores acionados.
Quais estão corretas?
Provas
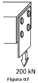
Quatro parafusos de aço com 21 mm de diâmetro são utilizados para fixar a chapa de aço em uma viga de madeira, conforme Figura 07 abaixo:

Sabendo que a chapa suportará uma carga de 200 kN e que o limite da tensão de cisalhamento do aço utilizado é de 360 MPa, o coeficiente de segurança para esse projeto é de aproximadamente:
Provas
Entre as complicações precoces da Cirurgia de Fontan, podemos encontrar os seguintes achados, EXCETO:
Provas
Disciplina: Legislação Específica das Agências Reguladoras
Banca: FUNDATEC
Orgão: GHC
De acordo com a RDC nº 15/2012, do Ministério da Saúde, produtos críticos para a saúde são aqueles:
Provas
Caderno Container