Magna Concursos

Foram encontradas 260 questões.

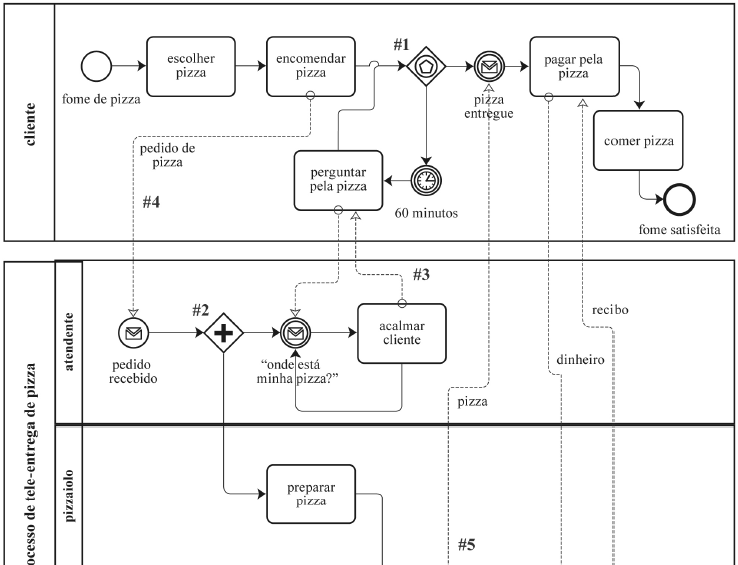
988500 Ano: 2019
Disciplina: TI - Gestão e Governança de TI
Banca: CESPE / CEBRASPE
Orgão: SEFAZ-RS

Enunciado 988500-1

Enunciado 988500-2

A respeito do modelo precedente, assinale a opção correta, de acordo com a BPM ( business process modeling).

Questão Anulada

Provas

Questão presente nas seguintes provas
988480 Ano: 2019
Disciplina: Direito Civil
Banca: CESPE / CEBRASPE
Orgão: SEFAZ-RS
Antônio outorgou, por procuração, um mandato para realizar negócios jurídicos de interesse do outorgante, Luciano. Um desses negócios jurídicos deveria ser realizado com a maior brevidade para evitar demora que pudesse gerar perigo. No entanto, pendente de conclusão do negócio jurídico a ele cometido, Luciano faleceu.
Nesse caso, de acordo com os dispositivos do Código Civil, os herdeiros de Luciano deverão
Questão Anulada

Provas

Questão presente nas seguintes provas
988431 Ano: 2019
Disciplina: Contabilidade de Custos
Banca: CESPE / CEBRASPE
Orgão: SEFAZ-RS
Determinada empresa industrial fabrica os produtos A e B e dispõe de um departamento de serviço e de um de produção. A tabela seguinte mostra informações relativas a determinado período de apuração de custos desses produtos.
custos produto A produto B
diretos R$ 2.000 R$ 4.000
totais R$ 4.000 R$ 6.000
Os custos indiretos próprios do departamento de produção, que somaram R$ 3.000, bem como os custos indiretos recebidos por rateio do departamento de serviço da fábrica, foram alocados aos produtos na proporção dos seus custos diretos.
O total dos custos indiretos do departamento de serviço dessa empresa corresponde a
Questão Anulada

Provas

Questão presente nas seguintes provas
988430 Ano: 2019
Disciplina: Contabilidade de Custos
Banca: CESPE / CEBRASPE
Orgão: SEFAZ-RS
A tabela a seguir mostra os gastos realizados, no período X0, por determinada empresa industrial que fabrica apenas um tipo de produto. Essa empresa utiliza o custeio por absorção, sendo o objeto de custeio o produto fabricado.
custo/despesa valor (em R$)
salários de vendedores 10.000
salários do pessoal da fábrica 30.000
salários da administração 20.000
materiais utilizados na produção 4.000
embalagens do produto fabricado 5.000
seguro do prédio da fábrica 1.500
manutenção do prédio da fábrica 5.000
matéria-prima consumida 120.000
despesas financeiras 10.000
depreciação dos equipamentos da fábrica 5.000
material de escritório 2.000
A partir dessas informações, assinale a opção correta.
Questão Anulada

Provas

Questão presente nas seguintes provas
988428 Ano: 2019
Disciplina: Contabilidade Geral
Banca: CESPE / CEBRASPE
Orgão: SEFAZ-RS
As informações mostradas a seguir foram extraídas de uma nota fiscal emitida por fornecedor a uma companhia industrial que havia adquirido matérias-primas para seu processo produtivo.
• valor das mercadorias: R$ 100.000,00
• imposto sobre produtos industrializados (IPI) destacado: R$ 10.000,00
• alíquota de ICMS: 18%
Se a transação não implicou outros custos, então a companhia industrial deve ter contabilizado
Questão Anulada

Provas

Questão presente nas seguintes provas
988419 Ano: 2019
Disciplina: Contabilidade Geral
Banca: CESPE / CEBRASPE
Orgão: SEFAZ-RS
Se uma entidade adquirir, à vista, ações da própria entidade pelo valor de mercado, então, para a entidade essa operação representará um fato contábil
Questão Anulada

Provas

Questão presente nas seguintes provas
988417 Ano: 2019
Disciplina: Contabilidade Geral
Banca: CESPE / CEBRASPE
Orgão: SEFAZ-RS
Em 2018, uma empresa converteu em ações as debêntures por ela emitidas no mercado em 2014. A data de vencimento dessas debêntures é 31/10/2019.
Nessa situação hipotética, os indicadores econômico-financeiros das demonstrações contábeis encerradas em 2018 mostrarão um(a)
Questão Anulada

Provas

Questão presente nas seguintes provas
988396 Ano: 2019
Disciplina: Direito Constitucional
Banca: CESPE / CEBRASPE
Orgão: SEFAZ-RS

A respeito do julgamento dos crimes de responsabilidade e dos crimes comuns cometidos pelo presidente da República, assinale a opção correta.

Questão Anulada

Provas

Questão presente nas seguintes provas
988376 Ano: 2019
Disciplina: Legislação Tributária Estadual
Banca: CESPE / CEBRASPE
Orgão: SEFAZ-RS
À luz da legislação do estado do Rio Grande do Sul, no caso de transmissão causa mortis, consiste em critério temporal da hipótese de incidência do ITCD a data
Questão Anulada

Provas

Questão presente nas seguintes provas
988260 Ano: 2019
Disciplina: Matemática Financeira
Banca: CESPE / CEBRASPE
Orgão: SEFAZ-RS
Um empréstimo, tomado no sistema de amortização francês, foi quitado em 5 prestações mensais, consecutivas e iguais a R$ 836,00. A primeira prestação vencia em um mês após a tomada do empréstimo, e a taxa de juros nominal do financiamento era de 54% ao ano. Na data de vencimento da quarta prestação, o tomador do empréstimo pagou, juntas, a quarta e a quinta prestações, quitando o empréstimo.
Nesse caso, o valor pago nessa data foi igual a
Questão Anulada

Provas

Questão presente nas seguintes provas