Foram encontradas 285 questões.
Com relação à execução de fundações do tipo tubulão, é correto afirmar:
Provas
Questão presente nas seguintes provas
Considere o trecho a seguir:
Ajuste pelo qual a Administração delega ao particular a execução remunerada de serviço ou de obra pública ou lhe cede o uso de um bem público, para que o explore por sua conta e risco, pelo prazo e nas condições regulamentares e contratuais. (MEIRELLES, Hely Lopes. Direito Administrativo Brasileiro, 2009)
Esse conceito refere-se ao contrato de:
Provas
Questão presente nas seguintes provas
Considere as figuras a seguir, da proposta de F. Testa, C. Alessandra, E. Torti, L. Picasso, C. Romano e F. Dell'Isola para um concurso de projeto com o tema habitação para a cidade africana de Luanda, Angola.

Com base nessas figuras, considere as seguintes afirmativas:
1. O sistema construtivo proposto pela equipe combina materiais industrializados, como as telhas metálicas curvas, com materiais tradicionais, como a alvenaria de tijolos cozidos ou de adobe, valorizando técnicas tradicionais e potencializando o uso de mão de obra local.
2. A casa com pátio interno é uma inovação do período modernista da arquitetura. A opção por essa tipologia, ausente das tradições vernaculares, demonstra o caráter inovador do projeto.
3. Apesar de obedecer a uma modulação rígida, as diferentes implantações da casa sobre o lote permitem variações na relação entre a casa e o jardim e entre aquela e a rua.
4. Em seu conjunto, o projeto resulta na nítida separação entre espaços públicos e privados, sem espaços semipúblicos de transição ou espaços residuais.
Assinale a alternativa correta.
Provas
Questão presente nas seguintes provas
No que diz respeito à Lei nº 1.047, de 23 de maio de 1996, de Araucária, as circulações verticais dos edifícios apresentadas pelas legislações de zoneamento em vias deverão possuir, contando-se desde o pavimento térreo:
Provas
Questão presente nas seguintes provas
A composição de preços de um serviço é formada da seguinte forma: 30% do custo total correspondem à mão de obra e 25% do custo de material correspondem ao material A. Se o material B sofrer um aumento de 20%, mantendo-se fixos os custos de mão de obra e do material A, o serviço sofrerá um aumento igual a:
Provas
Questão presente nas seguintes provas
Demolir e reconstruir: será essa a solução para a região da Luz?
Na última sexta-feira, a imprensa paulistana divulgou a decisão da prefeitura de reduzir as áreas a serem demolidas na Luz como parte do projeto de renovação urbanística da região. A medida foi anunciada após muita pressão por parte dos comerciantes da rua Santa Ifigênia. Mas essa redução foi ínfima – a proposta inicial estipulava a desapropriação de 66% dos imóveis. Agora são 61%. Ou seja, isso não muda em nada o caráter impositivo do projeto em questão, nem a lógica em que se insere: a de passar uma borracha nos problemas da cidade para eliminá-los de uma só vez.
Este parece ser o princípio do projeto Nova Luz: a partir de uma leitura que identifica a região como “cracolândia”, o projeto pretende apagar, da paisagem e da vida urbana de parte do centro de São Paulo, os usuários de drogas e, junto com eles, toda a população em situação de rua, o comércio, os mais de 12 mil moradores do bairro Santa Ifigênia, sua história e sua memória. A intervenção urbanística que pretende acabar com a “cracolândia”, na verdade, incide sobre um dos centros comerciais mais dinâmicos de toda a cidade e pretende substituir toda a estrutura consolidada por novos empreendimentos.
Remover lojistas e moradores para demolir o bairro, a fim de erguerem edifícios mais altos, tem a ver com uma estratégia de renovação urbana baseada em um conceito de parceria público-privada no qual é necessário garantir uma alta rentabilidade para viabilizar o negócio. Sob esta lógica, portanto, o melhor é demolir o máximo possível para construir um modelo totalmente distinto. Isso nada tem a ver com respostas ao problema do crack (que é real). Lançamentos de novos empreendimentos imobiliários seguramente não vão resolver uma questão social e de saúde.
Ninguém tem dúvidas de que o centro precisa de investimentos e de iniciativas que o requalifiquem. Mas qualquer projeto urbanístico que pretenda realizar uma renovação na área tem por obrigação incorporar, em suas diretrizes e em seu programa de ações, a população residente e trabalhadora do local. São essas pessoas, e as relações que elas estabelecem com o espaço, que fazem do bairro Santa Ifigênia um lugar tão vivo e dinâmico na cidade.
O patrimônio edificado do local, o tecido urbano e a morfologia – um dos últimos testemunhos de uma estrutura fundiária paulistana do século XVIII – também merecem ser respeitados. A vocação da área central como espaço para todo tipo de atividade humana e todo tipo de gente permite isso. Quem disse que não é possível reabilitar áreas, respeitando a população residente, moradora e frequentadora do local, suas residências, estabelecimentos comerciais e demais imóveis? Que história é essa de que o único valor reconhecido na cidade de São Paulo é o do potencial construtivo?
(Blog da Raquel Rolnik [http://raquelrolnik.wordpress.com/] – 28/06/2011.)
A partir da leitura do texto de Rolnik, e dos conhecimentos de história e teoria do urbanismo, considere as seguintes afirmativas:
1. O modelo de parceria público-privada adotado no Projeto da Nova Luz preza pela reversão dos bônus da urbanização aos atuais moradores e proprietários de imóveis, estando, assim, em acordo com princípios do Estatuto da Cidade.
2. É possível traçar paralelos entre a argumentação de Rolnik e a de Jane Jacobs quanto à importância da diversidade nos ambientes urbanos, em parte proporcionada pela presença de edificações heterogêneas, de diversos tamanhos e em diferentes estados de conservação.
3. O conceito de rentabilidade mencionado por Rolnik diz respeito, sobretudo, ao coeficiente de aproveitamento – quanto menor esse coeficiente, maior é a rentabilidade em potencial do empreendimento.
Assinale a alternativa correta.
Provas
Questão presente nas seguintes provas
- Fatos JurídicosDos Negócios Jurídicos (Art. 104 ao 184)Teoria da Invalidade dos Negócios Jurídicos (Art. 166 ao 184)
Sobre os negócios jurídicos, assinale a alternativa correta.
Provas
Questão presente nas seguintes provas
1098456
Ano: 2012
Disciplina: Desenho Técnico e Industrial
Banca: UFPR
Orgão: COHAB Araucária
Disciplina: Desenho Técnico e Industrial
Banca: UFPR
Orgão: COHAB Araucária
Provas:
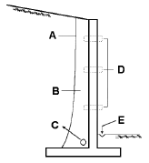
Muros de arrimo são estruturas projetadas para suportar esforços laterais, porém a carga a ser sustentada aumenta consideravelmente quando o solo fica encharcado. Para evitar essa sobrecarga, implanta-se um sistema de drenagem no muro, como na figura ao lado.

Assinale a alternativa que indica corretamente os nomes dos sistemas de drenagem apresentados na figura, na sequência A, B, C, D e E.
Provas
Questão presente nas seguintes provas
Considere o seguinte texto:
Guiado por um professor, um grupo de meninos aprende sobre raízes e plantas durante uma aula ao ar livre. ____ poucos metros, protegido por um bosque preservado, outro grupo, só de meninas, estuda o que _____ dentro das sementes. O ambiente escolar, aparentemente paradisíaco, ecoa regras do passado: na escola Bosque/Mananciais, meninos e meninas brincam, comem e estudam totalmente separados.
(Revista CartaCapital, 14 set. 2011, p. 64.)
Assinale a alternativa que preenche os espaços vazios desse texto com as expressões adequadas, grafadas corretamente.
Provas
Questão presente nas seguintes provas
“Dependendo das características das reservas, podemos identificar o tipo de organização bem como as políticas seguidas pela administração na salvaguarda do patrimônio da entidade” (Fávero, H.; Lonardoni, M.; Souza, C. e Takakura, M. Contabilidade: teoria e prática. V2. São Paulo: Atlas, 2008, p. 259). Em relação às características das reservas, é correto afirmar:
Provas
Questão presente nas seguintes provas
Cadernos
Caderno Container