Magna Concursos

Foram encontradas 810 questões.

3685714 Ano: 2025
Disciplina: Arquitetura
Banca: FUVEST
Orgão: USP

Observe o gráfico a seguir:

Enunciado 3685714-1

Gráfico da distribuição de Fator de Luz Diurna (FLD) no plano de trabalho

em função da profundidade do ambiente interno. Adaptado de Baker e

Steemers (2002).

Considerando condições externas de céu completamente encoberto e com disponibilidade de luz natural no plano horizontal de 20.000 lux, utilize o gráfico apresentado para identificar qual é, aproximadamente, o nível de iluminância no plano de trabalho a uma profundidade de 3,5 m.

 

Provas

Questão presente nas seguintes provas
O trabalho contínuo, sem pausas e repetitivo, tem levado os trabalhadores a desenvolver problemas de saúde e os ambientes de trabalho devem tomar medidas de prevenção que permitam pausas para recuperação psicofisiológica dos trabalhadores, ou alternâncias de atividades ou formas de execução de tarefas. Considerando essas medidas de prevenção, como devem ser enquadradas as pausas do trabalho?
 

Provas

Questão presente nas seguintes provas
Segundo a Norma Regulamentadora que trata de ergonomia (NR17), todas as organizações devem fazer uma Análise Ergonômica do Trabalho (AET) para compreender a natureza e o conteúdo das atividades, características dos trabalhadores, para subsidiar a implementação de medidas de prevenção e adequações das situações de trabalho. Mas quais organizações são obrigadas e quando se deve fazer?
 

Provas

Questão presente nas seguintes provas
Estamos assistindo ao aumento da temperatura e ondas de calor extremo, aumento da frequência dos eventos climáticos extremos a médio e longo prazos, inundações, deslizamentos de terra, ampliação das situações de risco à vida e dos deslocamentos forçados. Os ambientes de trabalho podem ser lugares de refúgio climático, e para isso as organizações devem adotar medidas de controle da temperatura, e
 

Provas

Questão presente nas seguintes provas
Grande parte das atividades de trabalho contemporâneas se dão com o uso de dispositivos eletrônicos com tela. Quais as precauções que devem ser tomadas nestes ambientes de trabalho, para garantir visibilidade de informação e conforto ao trabalhador para realizar a natureza das tarefas a serem executadas?
 

Provas

Questão presente nas seguintes provas
Segundo a Norma Regulamentadora que trata de Ergonomia (NR17), uma Análise Ergonômica do Trabalho (AET) deve abordar as seguintes etapas:
 

Provas

Questão presente nas seguintes provas

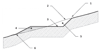
Observe a figura a seguir:

Enunciado 3685708-1

Considerando a figura apresentada, de uma seção esquemática de um projeto de corte e aterro, adaptada de NBR 6492 (ABNT, 2021, p.22), e seus conhecimentos de documentação técnica para projetos arquitetônicos e urbanísticos, assinale a alternativa correta.

 

Provas

Questão presente nas seguintes provas
3685707 Ano: 2025
Disciplina: Arquitetura
Banca: FUVEST
Orgão: USP
A norma NBR 16752 Desenho técnico - Requisitos para apresentação em folhas de desenho (ABNT, 2020) especifica que o formato A4 possui dimensões de 210 mm por 297 mm. Especifica, ainda, que as margens esquerda, direita, superior e inferior, para os formatos da série ISO-A, devem ser, respectivamente, de 20 mm, 10 mm, 10 mm e 10 mm. Considerando o espaço para desenho de uma folha A1 horizontal, qual a escala deve ser utilizada para a representação gráfica, com maior legibilidade, da implantação de um projeto em um lote urbano de 10 m por 50 m?
 

Provas

Questão presente nas seguintes provas
3685706 Ano: 2025
Disciplina: Arquitetura
Banca: FUVEST
Orgão: USP

Observe a imagem a seguir:

Enunciado 3685706-1

Considerando os requisitos de desenho técnico para representação dos métodos de projeção, pode-se afirmar que a figura da NBR 17006 (ABNT, 2021, p. 44) apresentada traz um objeto representado pelo método

 

Provas

Questão presente nas seguintes provas

Leia o trecho a seguir:

“Este tipo de Sistema Projetivo também é utilizado para a obtenção das chamadas perspectivas axonométricas, as quais possuem reduções proporcionais aos ângulos entre os eixos da peça e o do plano de projeção. Um exemplo é a perspectiva isométrica, que apresenta reduções idênticas nas três direções principais do objeto, pois os eixos da peça fazem o mesmo ângulo com o plano de projeção”

Teixeira e Silva, 2018, p. 11.

O Sistema Projetivo mencionado é o sistema de projeção

 

Provas

Questão presente nas seguintes provas