Foram encontradas 568 questões.
São indicações para solicitação da dosagem do anticorpo antifosfolipídeo:
Provas
Questão presente nas seguintes provas
A equação de Bernoulli tenta descrever a energia no fluido e utiliza hipóteses simplificadoras para poder ser aplicada. Por esse motivo, dificilmente produz resultados compatíveis com a vida real. Sobre a equação de Bernoulli apresentada abaixo, é correto afirmar que:
!$ Z \, + \, { \large p \over y} \, + \, { \large v^2 \over 2g} \, = \, constante !$
Provas
Questão presente nas seguintes provas
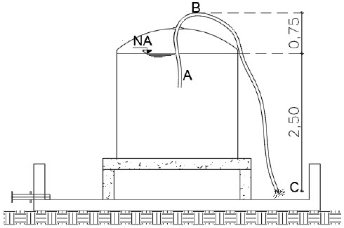
A fim de coletar um pouco de água de um reservatório, utilizou-se sifão, retirando o ar de uma tubulação flexível até estabelecer condições de escoamento, de “A” para “C”, por força da pressão atmosférica. Ver configuração ilustrativa do sistema abaixo. Admita que a perda de carga no trecho AB e BC é de 0,25 m e 0,75 m, respectivamente. (Considere aceleração da gravidade 10,0 m/s²)

A velocidade em “C”, em m/s, é:
Provas
Questão presente nas seguintes provas
Considere o arranjo de polarização para o JFET do circuito mostrado na figura abaixo e assinale a alternativa incorreta.

Provas
Questão presente nas seguintes provas
Que serviço(s) adota(m) o protocolo da camada de transporte UDP (User Datagram Protocol — Protocolo de Datagrama de Usuário)?
1) Gerenciamento de rede
2) Correio eletrônico
3) Videoconferência em tempo real
4) Web
5) Transferência de arquivos
Está(ão) correta(s), apenas:
Provas
Questão presente nas seguintes provas
À luz da Lei nº 8.112/1990, assinale a alternativa correta.
Provas
Questão presente nas seguintes provas
Considerando as fases de Planejamento de Contratação descritas na Instrução Normativa MP/SLTI nº 4, de 11 de setembro de 2014, analise as etapas abaixo.
1) Instituição da Equipe de Planejamento da Contratação
2) Estudo Técnico Preliminar da Contratação
3) Análise de Riscos
4) Termo de Referência ou Projeto Básico
Fazem parte da fase de planejamento da contratação, como descrito no Art. 9º:
Provas
Questão presente nas seguintes provas
A UFRPE licitará a obra de um bloco para engenharia de alimentos no Campus de Cabo de Santo Agostinho. A obra foi orçada em R$ 1.200.000,00 (um milhão e duzentos mil reais). Qual deverá ser a modalidade da licitação?
Provas
Questão presente nas seguintes provas
Cadernos
Caderno Container