Foram encontradas 760 questões.
3776889
Ano: 2024
Disciplina: Legislação Estadual e Distrital
Banca: VUNESP
Orgão: Pref. Vista Alegre Alto-SP
Disciplina: Legislação Estadual e Distrital
Banca: VUNESP
Orgão: Pref. Vista Alegre Alto-SP
Provas:
Segundo o Decreto Estadual nº
12.342/1978, no projeto
de edificações habitacionais, deve-se atentar ao fato de
que as áreas mínimas permitidas, em metros quadrados,
para salas e cozinhas são, respectivamente,
Provas
Questão presente nas seguintes provas
3776888
Ano: 2024
Disciplina: Direito Urbanístico
Banca: VUNESP
Orgão: Pref. Vista Alegre Alto-SP
Disciplina: Direito Urbanístico
Banca: VUNESP
Orgão: Pref. Vista Alegre Alto-SP
Provas:
Segundo o Estatuto das Cidades, Lei nº
10.257/2001,
aquele que possuir como sua área ou edificação urbana, por cinco anos, ininterruptamente e sem oposição,
utilizando-a para sua moradia ou de sua família, adquirir-lhe-á o domínio, desde que não seja proprietário de
outro imóvel urbano ou rural e desde que a área máxima
do imóvel seja de
Provas
Questão presente nas seguintes provas
3776887
Ano: 2024
Disciplina: Engenharia Civil
Banca: VUNESP
Orgão: Pref. Vista Alegre Alto-SP
Disciplina: Engenharia Civil
Banca: VUNESP
Orgão: Pref. Vista Alegre Alto-SP
Provas:
A reforma de um antigo edifício público foi licitada no
valor de R$ 12.000.000,00. Em função de incertezas no
projeto das reformas, foram celebrados dois termos aditivos de acréscimos do valor inicial do contrato, um de
R$ 2.500.000,00 e outro de R$ 2.200.000,00. Próximo ao
término da obra foi necessário celebrar mais um termo
aditivo de acréscimo no valor inicial do contrato. Segundo
a Lei Federal nº
14.133/2021, o valor máximo permitido
para esse termo aditivo é
Provas
Questão presente nas seguintes provas
3776886
Ano: 2024
Disciplina: Direito Constitucional
Banca: VUNESP
Orgão: Pref. Vista Alegre Alto-SP
Disciplina: Direito Constitucional
Banca: VUNESP
Orgão: Pref. Vista Alegre Alto-SP
Provas:
Sobre o artigo 37 da Constituição Federal, é correto
afirmar:
Provas
Questão presente nas seguintes provas
3776885
Ano: 2024
Disciplina: Legislação Municipal
Banca: VUNESP
Orgão: Pref. Vista Alegre Alto-SP
Disciplina: Legislação Municipal
Banca: VUNESP
Orgão: Pref. Vista Alegre Alto-SP
Provas:
Segundo o Código de Posturas do Município de Vista
Alegre do Alto, salvo exigências especiais das autoridades sanitárias, as residências urbanas deverão ser pintadas, no mínimo, a cada
Provas
Questão presente nas seguintes provas
3776884
Ano: 2024
Disciplina: Legislação Municipal
Banca: VUNESP
Orgão: Pref. Vista Alegre Alto-SP
Disciplina: Legislação Municipal
Banca: VUNESP
Orgão: Pref. Vista Alegre Alto-SP
Provas:
No Município de Vista Alegre do Alto, as implantações de
loteamentos com acesso controlado (loteamentos fechados) e de condomínios de lotes ficam isentas da reserva
de áreas institucionais e de áreas destinadas a uso
coletivo, desde que os condomínios de lotes tenham área
máxima de
Provas
Questão presente nas seguintes provas
3776883
Ano: 2024
Disciplina: Engenharia Civil
Banca: VUNESP
Orgão: Pref. Vista Alegre Alto-SP
Disciplina: Engenharia Civil
Banca: VUNESP
Orgão: Pref. Vista Alegre Alto-SP
Provas:
Para a elaboração de projeto hidráulico-sanitário de
redes coletoras de esgoto sanitário, funcionando em
lâmina livre, deve-se fazer o levantamento planialtimétrico da área de projeto e de suas zonas de expansão
com indicação das curvas de nível. A escala mínima do
levantamento planialtimétrico e a distância entre as curvas de nível devem ser, respectivamente,
Provas
Questão presente nas seguintes provas
3776882
Ano: 2024
Disciplina: Engenharia Civil
Banca: VUNESP
Orgão: Pref. Vista Alegre Alto-SP
Disciplina: Engenharia Civil
Banca: VUNESP
Orgão: Pref. Vista Alegre Alto-SP
Provas:
Nas instalações prediais de águas pluviais, a inclinação
percentual mínima das calhas de beiral e o diâmetro
interno mínimo dos condutores verticais de seção circular
devem ser, respectivamente,
Provas
Questão presente nas seguintes provas
3776881
Ano: 2024
Disciplina: Engenharia Civil
Banca: VUNESP
Orgão: Pref. Vista Alegre Alto-SP
Disciplina: Engenharia Civil
Banca: VUNESP
Orgão: Pref. Vista Alegre Alto-SP
Provas:
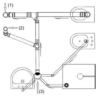
Considere a instalação de esgoto sanitário de um banheiro em um edifício de múltiplos andares.

Nessa instalação de esgoto sanitário, os números (1), (2) e (3) representam, respectivamente,
Provas
Questão presente nas seguintes provas
Em um canteiro de obras foi instalado um circuito elétrico dedicado para alimentar um aquecedor elétrico de
marmitas em banho-maria, com potência de 3300 W. Se
a tensão do circuito elétrico é 220 V, então a corrente
elétrica do circuito é
Provas
Questão presente nas seguintes provas
Cadernos
Caderno Container