Magna Concursos

Foram encontradas 690 questões.

1367069 Ano: 2014
Disciplina: Economia
Banca: UFMT
Orgão: IF-MT
Provas:
Considere o jogo abaixo entre Helena e Márcio, cada um com duas possíveis estratégias. Suponha que as duas pessoas tomem suas decisões simultaneamente.
Enunciado 1367069-1
Com base nas informações dadas, marque V para as afirmativas verdadeiras e F para as falsas.
( ) !$ H_1 !$ é estratégia dominante para Helena.
( ) !$ H_2 !$ é estratégia dominante para Helena.
( ) !$ M_1 !$ é estratégia dominante para Márcio.
( ) !$ M_2 !$ é estratégia dominante para Márcio.
Assinale a sequência correta.
 

Provas

Questão presente nas seguintes provas
1367059 Ano: 2014
Disciplina: Engenharia Elétrica
Banca: UFMT
Orgão: IF-MT
O diagrama esquemático abaixo mostra possibilidades de instalação de bancos de capacitores numa instalação elétrica.
Enunciado 1367059-1
Sobre essas possibilidades, marque V para as afirmativas verdadeiras e F para as falsas.
( ) A instalação do banco C3, no lado de média tensão, permite a liberação de capacidade de carregamento do transformador.
( ) Os bancos de capacitores C1, compatíveis com a energia reativa necessária dos motores, não permitem reduzir as perdas nos alimentadores dos motores.
( ) Os bancos de capacitores C1, compatíveis com a energia reativa necessária dos motores, permitem melhorar o nível de tensão nos pontos onde estão conectados os motores.
( ) O banco de capacitor C2 é dimensionado para compensar a energia reativa das diversas cargas ligadas ao barramento no qual está conectado.
Assinale a sequência correta.
 

Provas

Questão presente nas seguintes provas
1367058 Ano: 2014
Disciplina: Física
Banca: UFMT
Orgão: IF-MT
Provas:
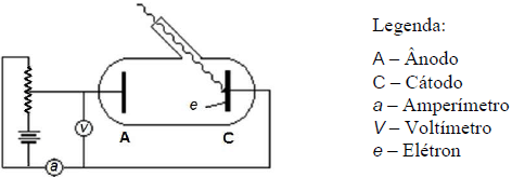
O efeito fotoelétrico foi descoberto por Heinrich Hertz, em 1887, utilizando um aparato semelhante ao do esquema abaixo.
Enunciado 1367058-1
Albert Einstein, em 1925, foi laureado com o Prêmio Nobel de Física por explicar em 1905 esse efeito, com base na hipótese de Planck do quantum de luz.
Assinale a alternativa que apresenta descrições corretas do que acontece quando radiação eletromagnética de diferentes intensidades e frequências incide sobre o cátodo.
 

Provas

Questão presente nas seguintes provas
1367048 Ano: 2014
Disciplina: Administração Geral
Banca: UFMT
Orgão: IF-MT
Do ponto de vista de sua aplicação, o recrutamento das pessoas na organização pode ser:
 

Provas

Questão presente nas seguintes provas
1367034 Ano: 2014
Disciplina: Engenharia Cartográfica
Banca: UFMT
Orgão: IF-MT
A coluna da esquerda apresenta funções de análise em SIG e a da direita, característica de cada uma. Numere a coluna da direita de acordo com a da esquerda.
1 - Análise de contiguidade
( ) Gera unidades geográficas bidimensionais em faixas, a partir de feições como ponto, linha e polígono.
2 - Reclassificação
( ) Usa um mesmo banco de dados para gerar informações de interesse variado.
3 - Análise de Proximidade
( ) Envolve análises lógicas, como a possibilidade fuzzy.
4 - Operação algébrica não cumulativa
( ) Produz superfícies contínuas a partir de dados pontuais.
Marque a sequência correta.
 

Provas

Questão presente nas seguintes provas
1367025 Ano: 2014
Disciplina: Contabilidade Pública
Banca: UFMT
Orgão: IF-MT
Com base nas informações abaixo, responda a questão.
Informações Valor em R$
Transferências a Instituições Privadas 200.000,00
Exploração de Bens e Serviços 780.000,00
Encargos de Empréstimos 14.000,00
Aquisição de Imóveis 580.000,00
Depreciação de Bens Imóveis 78.000,00
Alienação de Bens Imóveis 760.000,00
Empréstimos Obtidos 180.000,00
Remuneração de Pessoal 560.000,00
Desconto Financeiro Obtido 28.000,00
Reavaliação de Ativos 110.000,00
A soma total das Variações Patrimoniais Diminutivas é:
 

Provas

Questão presente nas seguintes provas
1367023 Ano: 2014
Disciplina: Geografia
Banca: UFMT
Orgão: IF-MT
Provas:
A originalidade dos sertões no Nordeste brasileiro reside num compacto feixe de atributos: climático, hidrológico e ecológico. Fatos que se estendem por um espaço geográfico de 720 mil quilômetros quadrados [...]. Na realidade, os atributos do Nordeste seco estão centrados no tipo de clima semiárido regional, muito quente e sazonalmente seco, que projeta derivadas radicais para o mundo das águas, o mundo orgânico das caatingas e o mundo socioeconômico dos viventes dos sertões.
(AB’SÁBER, A. N. Os Domínios de natureza no Brasil: potencialidades [...]. São Paulo: Ateliê Editorial, 2003.)
O texto descreve os sertões do Nordeste brasileiro como
 

Provas

Questão presente nas seguintes provas
1367015 Ano: 2014
Disciplina: Zootecnia
Banca: UFMT
Orgão: IF-MT
A tabela a seguir mostra algumas espécies lenhosas de uso múltiplo em Sistemas Agroflorestais (SAF) na região do Cerrado brasileiro.
Espécie
Nome
comum
Uso potencial
Madeira Alimentação Paisagístico Industrial Medicinal Ornamental Tóxico
Astronium urundeuva Aroeira X X
Caryocar brasiliense Pequi X X
Piptadenia macrocarpa Angico X X
Acrocomia aculeata Macaúba X X
Stryphnodendron adstringens Barbatimão X X
(Adaptado de Ribeiro et al, 1994.)
Alguns pré-requisitos da região Centro-Oeste são significativos para a boa disseminação e adoção de SAF. Analise os pré-requisitos abaixo.
I - Quantidade significativa de terras degradadas, cultivadas com agricultura e pastagens.
II - Predominância de pequenas propriedades.
III - Drástica redução da biodiversidade nas áreas de produção agropecuária.
IV - Deficiência nas práticas de conservação do solo e em outras.
Os pré-requisitos que condizem com a realidade da Região Centro-Oeste são:
 

Provas

Questão presente nas seguintes provas
1366952 Ano: 2014
Disciplina: Engenharia Cartográfica
Banca: UFMT
Orgão: IF-MT
Sobre projeções cartográficas, analise as afirmativas.
I - As projeções equidistantes têm a propriedade de não deformarem as áreas.
II - As projeções conformes não deformam ângulos.
III - As projeções afiláticas não conservam áreas, ângulos e distâncias.
IV - As projeções equivalentes não deformam áreas, ângulos e distâncias, mas são apropriadas apenas para projeções de áreas pequenas.
Estão corretas as afirmativas
 

Provas

Questão presente nas seguintes provas
1366920 Ano: 2014
Disciplina: Agronomia (Engenharia Agronômica)
Banca: UFMT
Orgão: IF-MT
Sobre as definições relacionadas ao agronegócio, assinale a afirmativa INCORRETA.
 

Provas

Questão presente nas seguintes provas