Foram encontradas 940 questões.
O equipamento responsável pela manobra de sistema, que pode ter como seu meio isolante o gás hexafluoreto de enxofre, é o
Provas
Questão presente nas seguintes provas
Os riscos ergonômicos são significativos nas atividades do setor elétrico e estão relacionados aos seguintes fatores:
• _____________________: posturas não fisiológicas do trabalho provocadas pela exigência de ângulo e posições inadequadas dos membros superiores e inferiores para realização das tarefas, principalmente em altura, sobre postes e apoios inadequados, levando a intensas solicitações musculares, levantamento e transporte de carga, etc.
• _____________________: pressão no tempo de atendimento e emergências ou a situações com períodos de tempo rigidamente estabelecidos, realização rotineira de horas extras, trabalho por produção, pressão da população com a falta de fornecimento de energia elétrica.
• _____________________: elevada exigência cognitiva necessária ao exercício das atividades a constante convivência ao risco de vida devido à presença do risco de choque elétrico e também do risco de queda.
• _____________________: compreendem fatores físicos, químicos e biológicos. Esta terminologia fica inadequada, devem separar os riscos naturais provenientes de causas naturais (raios, chuva, inundações, etc.).
As lacunas das afirmativas devem ser preenchidas corretamente por:
Provas
Questão presente nas seguintes provas
Segundo a Lei 8.666/93, “a licitação destina-se a garantir a observância do ______I_____, a ________II________ e a promoção do desenvolvimento nacional sustentável e será processada e julgada em estrita conformidade com os princípios básicos da legalidade, da _______III_______ da ________IV______, da igualdade, da publicidade, da _______V_______, da vinculação ao instrumento convocatório, do julgamento objetivo e dos que são correlatos”.
Os termos que tornam esta assertiva verdadeira são:
Provas
Questão presente nas seguintes provas
A respeito dos esquemas de aterramento definidos na Norma NBR-14039, pode-se afirmar, EXCETO:
Provas
Questão presente nas seguintes provas
O nível da água de um rio pode ser medido através da leitura direta de uma régua denominada régua limnimétrica. Devido a diversos fatores, a movimentação da água pode gerar ondas e, por consequência, mais de uma leitura de cota em uma mesma régua.
Neste caso, a leitura CORRETA obtida é:
Provas
Questão presente nas seguintes provas
No que se refere aos custos, leia atentamente as afirmativas a seguir:
I - A depreciação dos equipamentos de produção é um custo fixo.
II - O seguro da fábrica é um custo fixo.
III - O aluguel da fábrica é custo fixo.
IV - Os materiais indiretos utilizados na produção são custos fixos.
Estão CORRETAS apenas as afirmativas:
Provas
Questão presente nas seguintes provas
Razões da pós-modernidade
Carlos Alberto Sanches, professor, perito e consultor em Redação – [31/03/2014 - 21h06]
Foi nos anos 60 que surgiu o que se chama de “pós-modernidade”, na abalizada opinião de Frederic Jameson, como “uma lógica cultural” do capitalismo tardio, filho bastardo do liberalismo dos séculos 18 e 19. O tema é controverso, pois está associado a uma discussão sobre sua emergência funesta no pós-guerra. É que ocorre nesse período um profundo desencanto no homem contemporâneo, especialmente no que toca à diluição e abalo de seus valores axiológicos, como verdade, razão, legitimidade, universalidade, sujeito e progresso etc. Os sonhos se esvaneceram, juntamente com os valores e alicerces da vida: a “estética”, a “ética” e a “ciência”, e as repercussões que isso provocou na produção cultural: literatura, arte, filosofia, arquitetura, economia, moral etc.
Há, sem dúvida, uma crise cultural que desemboca, talvez, em uma crise de modernidade. Ou a constatação de que, rompida a modernidade, destroçada por guerras devastadoras, produto da “gaia ciência” libertadora, leva a outra ruptura: morreu a pós-modernidade e deixou órfã a cultura contemporânea?
Seria o caso de se falar em posteridade na pós-modernidade? Max Weber, já no início do século 19, menciona a chegada da modernidade trocada pela “racionalização intelectualista”, que produz o “desencanto do mundo”. Habermas o reinterpreta, dizendo que a civilização se desagrega, especialmente no que toca aos conceitos da verdade, da coerência das leis, da autenticidade do belo, ou seja, como questões de conhecimento...
Jean Francois Lyotard, em seu livro A condição pós-moderna, de 1979, enfoca a legitimação do conhecimento na cultura contemporânea. Para ele, “o pós-moderno enquanto condição de cultura, nesta era pós-industrial, é marcado pela incredulidade face ao metadiscurso filosófico – metafísico, com suas pretensões atemporais e universalizantes”. É como se disséssemos, fazendo coro, mais tarde, com John Lennon, que “o sonho acabou” (ego trip). A razão, como ponto nevrálgico da cultura moderna, não leva a nada, a não ser à certeza de que o racionalismo iluminista, que vai entronizar a ciência como uma mola propulsora para a criação de uma sociedade justa, valorizadora do indivíduo, vai apenas produzir o desencanto, via progresso e com as suas descobertas, cantadas em prosa e verso, que nos deixaram um legado brutal: as grandes tragédias do século 20: guerras atrozes, a bomba atômica, crise ecológica, a corrida armamentista...
A frustração é enorme, porque o iluminismo afirmara que somente as luzes da razão poderiam colocar o homem como gerador de sua história. Mas tudo não passou de um sonho, um sonho de verão (parodiando Shakespeare). Habermas coloca nessa época, o século 18, o gatilho que vai acionar essa desilusão da pós-modernidade. A ciência prometia dar segurança ao homem e lhe deu mais desgraças. Entendamos aqui também a racionalidade (o primado da razão cartesiana) como cúmplice dessa falcatrua da modernidade e, portanto, da atual pós-modernidade.
O mesmo filósofo fala em “desastre da modernidade”, um tipo de doença que produziu uma patologia social chamada de “império da ciência”, despótico e tirânico, que “digere” as esferas estético-expressivas e as religiosas-morais. Harvey põe o dedo na ferida ao dizer que o projeto do Iluminismo já era, na origem, uma “patranha”, na medida em que disparava um discurso redentor para o homem com as luzes da razão, em troca da lenta e gradual perda de sua liberdade.
A partir dos anos 50 e, ocorrido agora o definitivo desencanto com a ciência e suas tragédias (algumas delas), pode-se falar em um processo de sua desaceleração. O nosso futuro virou uma incerteza. A razão, além de não nos responder às grandes questões que prometeu responder, engendra novas e terríveis perguntas, que chegam até hoje, vagando sobre a incerteza de nossos precários destinos. Eu falaria, metaforicamente, do homem moderno acorrentado (o Prometeu) ao consumo desenfreado de coisas (res) para compensar suas frustrações e angústias. A vida se tornou absurda e difícil de ser vivida, face a esse “mal-estar” do homem ocidental. Daí surgem as grandes doenças psicossociais de hoje: a frustração, o relativismo e o niilismo, cujas sementes já estavam no bojo do Iluminismo, a face sinistra de sua moeda. Não há mais nenhuma certeza, porque a razão não foi capaz de dar ao homem alguns dos mais gratos dos bens: sua segurança e bem-estar. Não há mais certezas, apenas a percepção de que é preciso repensar criticamente a ciência, que nunca nos ofereceu um caminho para a felicidade, o que provoca um forte movimento de busca de liberdade. O mundo está sem ordem e valores, como disse Dostoievski: “Se Deus não existe, tudo é permitido”.
A incerteza do mundo moderno e a impossibilidade de organizar nossas vidas levam Giddens a dizer que “não há nada de misterioso no surgimento dos fundamentalismos, a radicalização para as angústias do homem”. Restou-nos o refúgio nos grandes espetáculos, como os do Coliseu antigo: o pão e o circo, para preencher o vazio da vida.
Na sua esteira de satanização social, o capitalismo engendra, então, a sociedade de consumo, para levar o cidadão ao ópio do consumo (esquecer-se das desilusões) nas “estações orbitais” dos shoppings, ou templos das compras, onde os bens nos consomem e a produção, sempre crescente, implica a criação em massa (ou em série) de novos consumidores. Temos uma parafernália de bens, mas são em sua maioria coisas inúteis, que a razão / ciência nos deu; mas, em troca, sofremos dos males do século, entre eles a elisão de nossa individualidade. Foi uma troca desvantajosa. É o que Campbell chama do sonho que gera o “signo-mercadoria”, que nos remete ao antigo sonho do Romantismo, da realização dos ideais.
Trocamos o orgasmo reprodutor instintivo pelo prazer lúdico-frenético de consumir, sem saber que somos consumidos. Gememos de prazer ao comprar, mas choramos de dor face à nossa solidão, cercados pela panaceia da ciência e da razão, que nos entope de placebos, mas não de remédios para a cura dos males dessa longínqua luz racional, que se acende lá no Iluminismo e que vem, sob outras formas, até hoje. A televisão nos anestesia com a estética da imagem. Para Baudrillard, ela é o nosso mundo, como o mundo saído da tela do grande filme O Vidiota (o alienado no mundo virtual da tevê), cujo magistral intérprete foi Peter Sellers.
Enquanto nos deleitamos com essa vida esquizofrênica e lúdica, deixamos no caixa do capitalismo tardio (iluminista / racional) o nosso mais precioso bem: a individualidade. Só nos sobrou a estética, segundo Jameson, ou a “colonização pela estética” que afeta diferentes aspectos da cultura, como a estética, a ética, a teórica, além da moral política.
A pós-modernidade talvez seja uma reação a esse quadro desolador. Bauman fala em pós-modernidade como a forma atual da modernidade longínqua. Já Giddens fala em modernidade tardia ou “modernidade radicalizada”: a cultura atual. Por certo que a atual discussão sobre o pós-moderno implica um processo de revisão e questionamento desse estado de coisas, em que o homem não passa de um res nulius, como as matronas romanas.
A cultura moderna, ou pós-modernista, não tem uma razão para produzir sua autocrítica, mas muitas razões, devido à sua prolongada irracionalidade do “modo de vida global”, segundo Jameson. O que se pode dizer é que não há uma razão, mas muitas razões para reordenar criticamente os descaminhos da pós-modernidade, sem esquecermos que a irracionalidade continua nos rondando.
http://www.gazetadopovo.com.br/opiniao/artigos/razoes-da-
pos-modernidade-8bs4bc7sv5e06z8trfk0pv80e. Acesso em 21/01/18.
Atente para o emprego dos pronomes pessoais oblíquos e a análise apresentada, na sequência. Assinale a opção que traz afirmação INCORRETA:
Provas
Questão presente nas seguintes provas
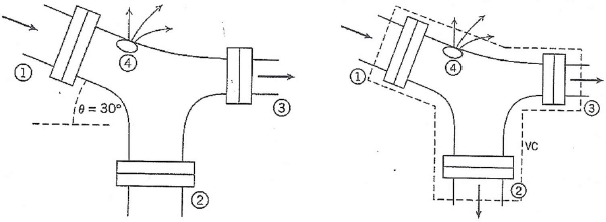
Considere o escoamento permanente de água em uma junção de tubos, conforme mostrado no diagrama.
As áreas das seções são: A1 = 0,2m2 ; A2 = 0,2m2 e A3 = 0,15m2. O fluido também vaza para fora do tubo através de um orifício em 4 com uma vazão volumétrica estimada em 0,1m3/s. As velocidades médias nas seções 1 e 3 são, respectivamente, V1 = 5m/s e V3 = 12m/s.
Determine a velocidade do escoamento na seção 2.

Provas
Questão presente nas seguintes provas
A figura a apresenta a conexão de uma proteção diferencial de um transformador.

Em um determinado momento, foram medidos os seguintes valores de corrente primária dos lados de Alta Tensão (AT) e Baixa Tensão (BT) desse transformador: Ip = 100 A; Is = 400 A.
Sabendo que as relações dos TCs que alimentam a proteção são RTC (AT) = 200-5 A e RTC (BT) = 2000-5 A, é CORRETO afirmar:
Provas
Questão presente nas seguintes provas
Um lote de peça é laminado com cobre em banho eletrolítico funcionando a 1,5 V, 15,0 A por 20 horas.
Qual o custo energético do processo, se a companhia elétrica cobra R$ 0,50 por kWh?
Provas
Questão presente nas seguintes provas
Cadernos
Caderno Container