Foram encontradas 200 questões.
Um grande edifício público dispõe de um sistema de ar condicionado baseado na distribuição de água gelada, produzida por uma grande unidade chiller, que utiliza o R22 como fluido refrigerante. O engenheiro responsável pela manutenção e operação do sistema de climatização, analisando os dados de pressão de condensação e evaporação registrados pelo módulo de monitoramento do chiller, observou que, entre dois períodos de operação consecutivos, houve um aumento da pressão de evaporação ao mesmo tempo em que a pressão de condensação permaneceu praticamente estável. Julgue o item a seguir, a respeito das modificações de pressão observadas.
Com a alteração da pressão, foi constatado aumento do consumo de energia do compressor.
Provas
Rising high above the Tyne, the "blinking eye" has become more of a fashion icon than a bridge since it opened a year ago. But the debate about whether the shiny, graceful curves of the 413 ft-wide span on the world's first tilting bridge represent adventurous engineering or design at its best, intensified last night when the Gateshead Millennium bridge scooped Britain's premier architectural award.
Judges for the RIBA's annual Stirling Prize said the "simple and incredibly elegant" £22 million bridge was not only an innovative and bold engineering challenge, but also the one piece of architecture that would be remembered by people this year.
Praising the structure at an awards ceremony last night, Paul Finch, editorial director of the Architects Journal and deputy chairman of the Commission for Architecture hailed the bridge as a "truly heroic piece of engineering and construction."
Internet: <http://www.guardian.co.uk/arts/news/story/ 0,11711,811294,00.html> (with adaptations).
From the previous text, it can be concluded that
the "Tyne" is a river, a road or a railway.
Provas
A idéia é que homens e mulheres são produzidos socialmente e esta produção se dá em múltiplas instâncias sociais: dá-se através dos discursos, das doutrinas, das imagens, dos símbolos, na escola, na família, na igreja, através da mídia; enfim, ser homem e ser mulher é um processo que não está pronto na hora do nascimento da pessoa. É um processo que se dá ao longo da vida e se dá de acordo com as múltiplas influências e instâncias.
Ser homem ou ser mulher, hoje, é diferente de ser homem e ser mulher no início do século passado. Ser mulher, hoje, branca, de classe média, é diferente de ser mulher negra na África do Sul, hoje. Portanto, há uma transformação dos conceitos de masculino e feminino, não só ao longo do tempo, mas também internamente em uma mesma sociedade e em sociedades diferentes. É um elemento que nos auxilia a fixar a idéia de que existem modelos, muitos projetos, muitas formas de ser homem e de ser mulher.
O que sabemos é que ser homem e ser mulher pode-se dar de muitas formas e que os diferentes modos de ser têm motivações muito mais sociais do que naturais. Não podemos negar que há elementos biológicos na caracterização do masculino e do feminino. Só que esses elementos estão articulados em um social. E, das articulações do biológico com o social, pode-se chegar a uma espécie de naturalização do social.
Todas as reflexões apontam-nos para o quanto, socialmente, as construções de masculino e de feminino não visam nos fazer apenas diferentes, mas desiguais.
Helena Confortin. Discurso e gênero: a mulher em foco (com adaptações).
Com referência ao texto acima, julgue o item a seguir.
Pelos sentidos textuais, depreende-se o acréscimo de valor alternativo ao valor aditivo da conjunção "e" nas ocorrências, onde corresponde a ou.
Provas
O emprego de correias em V é um meio confiável e eficiente de se transmitir potência entre eixos paralelos. A manutenção de um sistema desse tipo não é complicada e, em geral, é suficiente ver e ouvir a transmissão funcionando, para identificar o problema e corrigi-lo com o procedimento correto. A respeito desse assunto, julgue o item seguinte.
O surgimento de um ruído agudo constante, quando o motor está operando próximo de sua capacidade plena, é sinal de que a correia está deslizando por falta de tensionamento adequado.
Provas
À primeira vista, soa a exagero de militante de direitos humanos o uso da palavra escravidão para identificar a situação de trabalhadores libertados. Das poucas leis ensinadas nas escolas, a Lei Áurea, que alforriou os escravos negros em 1888, é a mais lembrada. Mas a realidade se sobrepõe a essa primeira impressão.
Dezenas de relatórios, diários e anotações de viagem escritos por integrantes do Grupo Móvel em suas ações de libertação contêm detalhes do cárcere dos trabalhadores, impressões pessoais dos agentes sobre os aspectos ambientais, econômicos e sociais encontrados, depoimentos e inúmeras fotografias.
Reunidos, esses documentos compõem o mais completo guia de viagem por este Brasil profundo, onde a escravidão é real e não uma página da história.
A característica do Plano Nacional de Erradicação do Trabalho Escravo é o desejo de uma República por inteiro contra esse crime e não apenas do governo.
O Brasil é um país com dois calendários — onde práticas do passado continuam a existir. Palácios diferentes, burocratas no lugar de cortesãos, 115 anos a separar uma cena da outra, mas um mesmo tema: a escravidão.
Carta Capital, 19/3/2003, p. 28-9 (com adaptações).
Com relação ao texto acima, julgue o item subseqüente.
Desde que sejam feitos os necessários ajustes no emprego das letras maiúsculas e minúsculas, os sentidos textuais admitem o deslocamento da expressão "Das poucas leis ensinadas nas escolas" para imediatamente antes de "que", para imediatamente antes de "é" ou, ainda, para imediatamente após "lembrada".
Provas
Com relação ao regime jurídico dos servidores públicos federais, julgue o item que se segue.
Nos casos de provimento de cargo efetivo mediante nomeação, a investidura no cargo dá-se mediante a assinatura do termo de posse.
Provas
Disciplina: Desenho Técnico e Industrial
Banca: CESPE / CEBRASPE
Orgão: Câm. Deputados
O AutoCAD é um programa computacional com ferramentas para auxiliar na execução de desenhos por computador. Suas ferramentas são ativadas por comandos específicos, permitindo ao usuário a criação de elementos como linhas, círculos e combinação e ainda a manipulação e modificação desses elementos. Com relação aos comandos do AutoCAD, julgue o item abaixo.
Dados os comprimentos dos eixos maior e menor de uma elipse, ela pode ser desenhada com o comando Ellipse e as opções Axis e End.
Provas
Rising high above the Tyne, the "blinking eye" has become more of a fashion icon than a bridge since it opened a year ago. But the debate about whether the shiny, graceful curves of the 413 ft-wide span on the world's first tilting bridge represent adventurous engineering or design at its best, intensified last night when the Gateshead Millennium bridge scooped Britain's premier architectural award.
Judges for the RIBA's annual Stirling Prize said the "simple and incredibly elegant" £22 million bridge was not only an innovative and bold engineering challenge, but also the one piece of architecture that would be remembered by people this year.
Praising the structure at an awards ceremony last night, Paul Finch, editorial director of the Architects Journal and deputy chairman of the Commission for Architecture hailed the bridge as a "truly heroic piece of engineering and construction."
Internet: <http://www.guardian.co.uk/arts/news/story/ 0,11711,811294,00.html> (with adaptations).
From the previous text, it can be concluded that
the Gateshead Millennium bridge cost less than twenty million pounds.
Provas

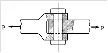
A figura acima mostra o esquema de uma junta articulada em torno de um pino. Com relação a essa informação, julgue o item a seguir.
Considerando d o diâmetro do pino, a sua tensão cisalhante vale !$ \tau = { P \over 2 \pi d^2}. !$
Provas

Na figura acima, observa-se uma figura com uma janela do aplicativo Word 2000. O texto ("O atendimento (...) Câmara") e a imagem do documento nela apresentado foram extraídos e adaptados do sítio http://www.camara.gov.br. Considerando essa figura, julgue o item subseqüente, referente ao Word 2000.
Sabendo que o ponto de inserção encontra-se logo após "Câmara", no fim do texto, caso se clique o botão
, então a margem esquerda do texto será desalinhada. E se, logo em seguida, o botão
for clicado, o texto voltará a ficar alinhado à margem esquerda.
Provas
Caderno Container