Foram encontradas 670 questões.
O alcance de uma emissora de FM é definido por vários parâmetros. A resposta mais adequada a essa definição é:
Provas
Questão presente nas seguintes provas
De acordo com Parks (1998), a gestão esportiva existe sob dois aspectos: em primeiro lugar, como uma área profissional, e, em segundo lugar, como uma área acadêmica de preparação profissional em muitas instituições de ensino superior. O autor afirma ainda que as responsabilidades do profissional habilitado para desempenhar a função de gestor esportivo podem ser divididas em quatro grandes domínios. São elas:
Provas
Questão presente nas seguintes provas
TEXTO 5
Guimarães Rosa
[...] Dava alegria, a gente ver o regato botar espuma e oferecer suas claras friagens, e a gente pensar no que era o valor daquilo. Um riachinho xexe, puro, ensombrado, determinado no fino, com rogojeio e suazinha algazarra – ah, esse não se economizava: de primeira, a água, pra se beber. Então, deduziram de fazer a Casa ali, traçando de se ajustar com a beira dele, num encosto fácil, com piso de lajes, a porta -da-cozinha, a bom de tudo que se carecia. Porém, estrito ao cabo de um ano de lá se estar, e quando menos esperassem, o riachinho cessou.
Foi no meio duma noite, indo para a madrugada, todos estavam dormindo. Mas cada um sentiu, de repente, no coração, o estalo do silenciozinho que ele fez, a pontuda falta da toada, do barulhinho. Acordaram, se falaram. Até as crianças. Até os cachorros latiram. Aí, todos se levantaram, caçaram o quintal, saíram com luz, para espiar o que não havia. Foram pela porta-da-cozinha. Manuelzão adiante, os cachorros sempre latindo. – “Ele perdeu o chio...” Triste duma certeza: cada vez mais fundo, mais longe nos silêncios, ele tinha ido s’embora, o riachinho de todos. Chegado na beirada, Manuelzão entrou, ainda molhou os pés, no fresco lameal. Manuelzão, segurando a tocha de cera de carnaúba, o peito batendo com um estranhado diferente, ele se debruçou e esclareceu. Ainda viu o derradeiro fiapo d’água escorrer, estilar, cair degrau de altura de palmo a derradeira gota, o bilbo. E o que a tocha na mão de Manuelzão mais alumiou: que todos tremiam mágoa nos olhos. Ainda esperaram ali, sem sensatez; por fim se avistou no céu a estrela-d’alva. O riacho soluço se estancara, sem resto e talvez para sempre. Secara-se a lagrimal, sua boquinha serrana. Era como se um menino sozinho tivesse morrido.
ROSA, Guimarães.Corpo de baile. 3.ed. Rio de Janeiro: Nova Fronteira, 2010, p. 169-170.
Leia o seguinte fragmento do texto 5: “Manuelzão, segurando a tocha de cera de carnaúba, o peito batendo com um estranhado diferente, ele se debruçou e esclareceu.” Com base na leitura do texto, pode-se afirmar que o segmento destacado revela:
Provas
Questão presente nas seguintes provas
Camundongos e ratos controlam sua temperatura corporal quando em ambientes quentes, da seguinte forma:
Provas
Questão presente nas seguintes provas
À luz dos estudos da diplomática empreendidos por Luciana Duranti foi possível estabelecer uma nova impressão acerca do princípio do quietat non movere ou princípio da santidade, cuja orientação é não macular a ordem original dada aos conjuntos documentais. Sob esta perspectiva, observe as assertivas a seguir:
I – O princípio do quietat non movere ou o princípio da santidade é conhecido, também, como princípio da ordem original;
II – Deve-se observar que o princípio do quietat non movere ou o princípio da santidade não corresponde exclusivamente ao ordenamento físico dos documentos;
III – No princípio do quietat non movere ou o princípio da santidade destaca-se a análise do fluxo natural e orgânico com que os documentos foram produzidos e não propriamente os detalhes ordenatórios de seu primeiro arquivamento.
Assinale a opção correta:
Provas
Questão presente nas seguintes provas
As fotografias em P&B podem representar um problema nas provas digitais, devido ao fato de a maioria dos sistemas de provas digitais:
Provas
Questão presente nas seguintes provas
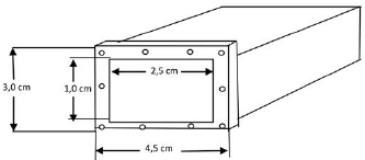
Os guias de onda metálicos de seção circular, elíptica ou retangular são usados para transmissão e recepção de sinais de RF de altas frequências nas faixas de micro-ondas. Um segmento de um guia retangular, com o seu respectivo flange de fixação, é mostrado a seguir.

A frequência de corte de um guia de onda é a frequência a partir da qual nenhum sinal de RF será transmitido pelo guia. Para o guia representado na figura, a frequência de corte será de:
Provas
Questão presente nas seguintes provas
A implantação das boas práticas e a sistematização da rotina do laboratório contribuem para o bom andamento das atividades realizadas, desta forma deve-se:
Provas
Questão presente nas seguintes provas
O CTP (Computer to Plate) é hoje a tecnologia padrão no mercado gráfico profissional. Em relação ao processo convencional, o CTP economiza tempo e custos, além de usar menos químicos ou não usar (como os modelos térmicos sem químicos). As imagens impressas por CTP são mais precisas do que aquelas gravadas a partir de fotolito convencional, porque:
Provas
Questão presente nas seguintes provas
TEXTO 2
RECADOS
José Miguel Wisnik
O Cerrado é o Matusalém dos biomas. Enquanto a Amazônia tem três mil anos de formada, e a Mata Atlântica, sete mil, o Cerrado tem quarenta milhões. É, ou chegou a ser, o maior viveiro de espécies florais do planeta. Ali, em sua lentidão ancestral, um buriti de vinte e cinco ou trinta metros de altura tem a idade do Brasil. Nas suas áreas planas, a água das chuvas é absorvida pela vegetação nativa, tendo esta a maior parte da sua estrutura dentro da terra, como uma verdadeira floresta invertida. Por suas raízes são alimentados os lençóis freáticos e os lençóis artesianos dos aquíferos, cuja carga interna aflora, por sua vez, na forma das nascentes dos rios (ou, para dizer como Guimarães Rosa, “rebrotam desengolidos num bilo-bilo fácil”).
Essa respiração hídrica veio sendo sufocada, no entanto, pela introdução de gramíneas para o pastoreio, pela expansão da fronteira agrícola com a soja e o algodão, cujas raízes são superficiais, pela ação dos fertilizantes, pela devastação dos insetos e animais polinizadores, impedindo a renovação da vegetação nativa, ditadas todas pela ocupação desenfreada que o agronegócio impôs ao Cerrado desde os anos 1970. Aparentemente, teríamos aí apenas uma mudança de paisagem, e a substituição da flora anciã pelas inovações progressistas das monoculturas, junto com o império do eucalipto a ser convertido em carvão. Mas, [...] o processo envolve uma devastação invisível de grandes consequências estruturais: é a floresta subterrânea das raízes que desaparece junto com a vegetação nativa, com ela o bioma de milhões de anos e o sistema que alimenta e realimenta os aquíferos.
Assim, dezenas de pequenos rios vêm desaparecendo, enquanto as nascentes dos grandes rios estão secando ou migrando para áreas mais baixas, à medida que o lençol que as abastece vai sendo também rebaixado. O esvaziamento a olhos nus das represas que abastecem São Paulo teria seu correspondente literalmente mais profundo no esgotamento invisível dos reservatórios subterrâneos, que deu seu sinal emblemático, faz poucos dias, com o estancamento da nascente do São Francisco. As chuvas que sobrevierem, quando vierem, não têm a mesma capacidade de nutrir, na falta da vegetação mediadora, os enfraquecidos reservatórios ocultos. O Brasil não pode mais ser visto, senão irresponsavelmente, como o paraíso dos mananciais inesgotáveis.
O Globo, 25, out. 2014
Assinale a alternativa em que todas as palavras são acentuadas segundo a mesma regra:
Provas
Questão presente nas seguintes provas
Cadernos
Caderno Container