Magna Concursos

Foram encontradas 447 questões.

63131 Ano: 2009
Disciplina: Engenharia Elétrica
Banca: CESGRANRIO
Orgão: SFE-RJ

A figura abaixo representa o visor de um wattímetro analógico.

Enunciado 63131-1

Segundo a ABNT, os símbolos e valores indicados na figura mostram que o princípio de funcionamento, a classe de precisão e a tensão de isolação são:

Princípio de funcionamento

Classe de precisão Tensão de isolação
 

Provas

Questão presente nas seguintes provas
63130 Ano: 2009
Disciplina: Engenharia Elétrica
Banca: CESGRANRIO
Orgão: SFE-RJ

A iluminação e os motores de uma pequena fábrica estabelecem uma demanda de potência igual a 20 kVA para um fator de potência atrasado 0,6, com uma fonte de 220 V e 60 Hz. O valor da potência reativa capacitiva a ser fornecida por um banco de capacitores, que deve ser colocado em paralelo com a carga, para elevar o fator de potência para 0,95 é, aproximadamente,

(Dado: tang(acos 0,95) = 0,33)

 

Provas

Questão presente nas seguintes provas
63129 Ano: 2009
Disciplina: Engenharia Elétrica
Banca: CESGRANRIO
Orgão: SFE-RJ

De acordo com a análise dos circuitos de correntes e tensões alternadas senoidais, é INCORRETO afirmar que em um circuito

 

Provas

Questão presente nas seguintes provas
63128 Ano: 2009
Disciplina: Engenharia Elétrica
Banca: CESGRANRIO
Orgão: SFE-RJ

Enunciado 63128-1

No circuito da figura acima, após a chave ser fechada, os valores da constante de tempo \( (\tau) \) do capacitor e a tensão Vc, considerando o capacitor completamente carregado, são

 

Provas

Questão presente nas seguintes provas
63127 Ano: 2009
Disciplina: Engenharia Elétrica
Banca: CESGRANRIO
Orgão: SFE-RJ

A distância entre o quadro de comando e um motor está sendo representada em escala em um desenho.

Se a distância de 12 metros está sendo representada no desenho por 24 centímetros, qual é a escala do desenho?

 

Provas

Questão presente nas seguintes provas
63126 Ano: 2009
Disciplina: Engenharia Elétrica
Banca: CESGRANRIO
Orgão: SFE-RJ

Em uma residência, o chuveiro elétrico tem, como especificações, tensão 110 V e potência de 4.400 W. Ao se fazer uma reforma na residência, mudou-se a tensão de alimentação para 220 V, e o chuveiro foi trocado por um novo, com as seguintes especificações: tensão 220 V e potência 4.400 W.

Sabendo-se que o valor de 1 kWh da concessionária local é de R$ 0,50, os gastos, em reais, com um banho de 1h antes e depois da reforma foram, respectivamente,

Antes da Reforma

Depois da Reforma

 

Provas

Questão presente nas seguintes provas
63125 Ano: 2009
Disciplina: Engenharia Elétrica
Banca: CESGRANRIO
Orgão: SFE-RJ

Dois condutores cilíndricos A e B, feitos de mesmo material, são de igual comprimento, mas o diâmetro de A é o dobro do de B.

Se a resistência de A é 24 \( \Omega \), então a resistência de B é

 

Provas

Questão presente nas seguintes provas
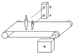
63124 Ano: 2009
Disciplina: Engenharia Mecânica
Banca: CESGRANRIO
Orgão: SFE-RJ

As figuras abaixo ilustram a operação de uma esteira acionada pelo motor M, que transporta garrafas de dois tamanhos (P e G), que sensibilizam dois sensores ópticos (A e B). O processo tem início quando a botoeira L é acionada e é interrompido pela botoeira D. A seleção do tipo de garrafa é feita a partir de uma chave seletora de duas posições (P e G). Assim, caso sejam selecionadas garrafas grandes G, a esteira deverá parar se uma garrafa de tamanho pequeno P for detectada.

Após a retirada manual da garrafa indesejada, o operador deverá religar o sistema em L. Considere que os sensores A e B serão acionados ao mesmo tempo sempre que passar uma garrafa do tipo grande G.

Enunciado 63124-1

Figura 1 - Ilustração

Enunciado 63124-2

Figura 2 - Ladder

A partir do que foi exposto, o programa da Figura 2 deve ser completado com o gráfico:

 

Provas

Questão presente nas seguintes provas
63123 Ano: 2009
Disciplina: Engenharia Mecânica
Banca: CESGRANRIO
Orgão: SFE-RJ
A B S
0 0 0
0 1 1
1 0 1
1 1 0

Em sistemas automatizados, a utilização de portas lógicas é fundamental para o estudo e o desenvolvimento de lógica de intertravamento.

Dada a tabela verdade acima, informe qual porta lógica está sendo utilizada e como ela pode ser representada em programação ladder no Controlador Lógico Programável (CLP).

 

Provas

Questão presente nas seguintes provas
63122 Ano: 2009
Disciplina: Engenharia Mecânica
Banca: CESGRANRIO
Orgão: SFE-RJ

O Foundation Fieldbus é um protocolo que, além de enviar e receber dados, controla dispositivos de forma distribuída no campo. Sua comunicação é digital, bidirecional e multidrop entre dispositivos de automação da planta e sistemas de supervisão.

A esse respeito, é correto afirmar que

 

Provas

Questão presente nas seguintes provas