Foram encontradas 447 questões.
Em uma peça, a inserção de furos, na extremidade de uma trinca, tem como sentido
Provas
A transformação que ocorre no interior de uma turbina a vapor é do tipo
Provas
Para proteger as paredes de um tanque de armazenamento, um engenheiro determinou que fosse aplicado um revestimento metálico pelo processo de cladização ou cladeamento, que pode ser obtido pela
Provas
O processo de calibração de um manômetro de range 0 a 100 psi apresentou as leituras mostradas na tabela abaixo.
|
Leitura 1 |
Leitura 2 |
Leitura 3 |
Leitura 4 |
Leitura 5 |
Leitura 6 |
Leitura 7 |
Leitura 8 |
Leitura 9 |
Leitura 10 |
|
60 psi |
45 psi | 30 psi | 35 psi | 50 psi | 30 psi | 40 psi | 45 psi | 50 psi |
35 psi |
Sabendo-se que foi usado um padrão de 40 psi, conclui-se que este instrumento
Provas

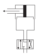
Analisando a representação esquemática do sistema de acionamento hidráulico ilustrado na figura acima, conclui-se que esse sistema aciona um cilindro de
Provas
Sobre os processos de soldagem mais utilizados na indústria, afirma-se que na soldagem
Provas
O ensaio de dureza é um ensaio mecânico de execução relativamente simples e muito útil para a determinação das propriedades mecânicas dos materiais.
A esse respeito, afirma-se que a(o)
Provas
Uma engrenagem de dentes retos tem módulo igual a 0,5.
Assim, o número de dentes que essa engrenagem possui, por polegada de diâmetro primitivo, é
Provas
A resolução de um equipamento de medição é identificada como
Provas
Um torneiro mecânico precisa desbastar uma peça cilíndrica de diâmetro 4 in e comprimento 60 mm, devendo deixála com 100 mm de diâmetro em toda a sua extensão. Sabendo-se que a profundidade de corte adotada pelo torneiro será de 0,8 mm, que o avanço da ferramenta será de 0,2 mm por rotação e que a peça girará a 600 rpm, conclui-se que o tempo gasto, em minutos, para esta operação de usinagem será de
Provas
Caderno Container