Foram encontradas 800 questões.
A tabela abaixo mostra o tempo gasto pelos carros A e B, para completar cada uma das quatro primeiras voltas de uma corrida de automóveis.

Sabendo que os carros A e B largaram simultaneamente do mesmo lugar, é correto concluir que o carro B completou sua 4ª volta T segundos após o carro A tê-lo feito. O valor de T é:
Provas
Paulo lavou seu carro utilizando uma mangueira cuja vazão é de 8,5 litros por minuto. Ele manteve a mangueira aberta durante 18 minutos, gerando grande desperdício de água. Se, em vez de utilizar a mangueira, Paulo tivesse lavado o carro com 4 baldes de 20 litros cada um, quantos litros de água teriam sido economizados?
Provas
Em certo cinema, o ingresso custa R$12,00, mas os estudantes pagam meia-entrada, ou seja, têm 50% de desconto. Se, numa sessão com 180 espectadores, 70% pagaram meia-entrada, qual foi, em reais, a arrecadação do cinema nessa sessão?
Provas
Um Banco apresentou, ao final do primeiro trimestre de 2007, o seguinte gráfico sobre a inadimplência de seus clientes:

Considere que
dos clientes desse Banco são empresas e
, pessoas físicas. Tendo em vista o total de clientes, qual foi, no primeiro trimestre de 2007, o percentual médio de inadimplência?
Provas
O dono de uma loja de doces calculou que venderia 125 doces por dia durante a primeira semana de maio. Ao final desses 7 dias, a loja tinha vendido 87 doces a menos do que o previsto. Quantos doces essa loja vendeu na primeira semana de maio?
Provas

Se o recruta iniciou seu descanso assim que foi autorizado e a fala do sargento, apresentada no primeiro quadrinho, ocorreu às 15h 45min, a que horas o descanso do recruta deveria ter-se encerrado?
Provas
Para produzir tinta rosa, um pintor misturou 6 litros de tinta branca com 4 litros de tinta vermelha. Como os 10 litros obtidos não foram suficientes, ele fez uma nova mistura, mantendo a mesma proporção da mistura anterior, na qual usou 3,6 litros de tinta branca. Quantos litros de tinta vermelha o pintor colocou na segunda mistura?
Provas
A partir de julho de 2007, as concessionárias de telefonia fixa passam a oferecer aos seus usuários um plano alternativo de acesso à Internet, cobrando R$7,50 por mês por 10 horas de conexão. Em relação ao preço desse serviço em abril do mesmo ano, esse valor é 80% menor. Qual era, em reais, o preço cobrado em abril, pelas concessionárias de telefonia fixa, por 10 horas de conexão?
Provas
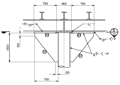
Observe a vista lateral e as afirmativas abaixo.

I - O diâmetro da coluna e a altura das vigas não podem ser
determinados.
II - Os símbolos de soldagem apresentam 3 procedimentos/
especificações diferentes.
III - A soldagem está indicada em 4 regiões diferentes.
Provas
A escala de medição retilínea é uma característica de qual dos instrumentos apresentados a seguir?
Provas
Caderno Container