Foram encontradas 824 questões.
A aplicação de uma visão de marketing às rotinas produtivas e aos ambientes humanos de uma empresa com o objetivo de fixar uma imagem positiva e aumentar a desempenho caracteriza o marketing:
Provas
Questão presente nas seguintes provas
No Word 2010 BR, o atalho de teclado Ctrl + = e o ícone
devem ser utilizados, respectivamente, com as seguintes finalidades:
devem ser utilizados, respectivamente, com as seguintes finalidades:Provas
Questão presente nas seguintes provas
Com relação aos tipos e à utilização de memória, assinale a afirmativa INCORRETA:
Provas
Questão presente nas seguintes provas
Avalie se são patrimônio nacional, cuja utilização tem de ser feita dentro de condições que assegurem a preservação do meio ambiente, inclusive quanto ao uso dos recursos naturais:
I- A Floresta Amazônica brasileira.
II - A Mata Atlântica.
III - A Serra do Mar.
IV - O Pantanal Mato-Grossense.
V - A Zona Costeira.
II - A Mata Atlântica.
III - A Serra do Mar.
IV - O Pantanal Mato-Grossense.
V - A Zona Costeira.
São patrimônio nacional:
Provas
Questão presente nas seguintes provas
Sobre adiantamento é correto afirmar, de acordo com lei n.º 4320/64, que:
Provas
Questão presente nas seguintes provas
O prazo de validade do concurso público será de , prorrogável , por igual período. As lacunas são corretamente preenchidas por:
Provas
Questão presente nas seguintes provas
O procedimento de auditoria que é utilizado pelo auditor para conferir a existência de contas a pagar a fornecedores é:
Provas
Questão presente nas seguintes provas
A Política Nacional do Meio Ambiente, estabelecida pela Lei nº 6.938/81, de 31 de agosto de 1981, visará:
I- à compatibilização do desenvolvimento econômico-social com a preservação da qualidade do meio ambiente e do equilíbrio ecológico.
II- à definição de áreas prioritárias de ação governamental relativa à qualidade e ao equilíbrio ecológico, atendendo aos interesses exclusivamente dos Municípios.
III- à preservação e restauração dos recursos ambientais com vistas à sua utilização racional e disponibilidade temporária, concorrendo para a descontinuidade do equilíbrio ecológico propício à vida.
Assinale a alternativa correta:
Provas
Questão presente nas seguintes provas
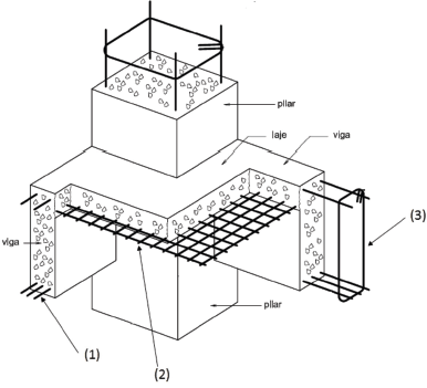
ATENÇÃO: A figura abaixo apresenta, esquematicamente, uma estrutura de concreto armado. Sobre essa estrutura, responda à questão.

A armadura indicada com o número (3) tem como função resistir:
Provas
Questão presente nas seguintes provas
O concreto de cimento Portland é um material constituído por um aglomerante, pela mistura de um ou mais agregados e água. No decorrer da execução da obra, precisam ser realizados ensaios de controle com a finalidade de verificar a uniformidade dos materiais constituintes do concreto, com relação ao especificado no projeto estrutural. São propriedades básicas do concreto endurecido:
Provas
Questão presente nas seguintes provas
Cadernos
Caderno Container