Foram encontradas 486 questões.
Assinale a afirmativa correta - O Que significa os números e letras SAE 20W40,50, etc, que aparecem nas embalagens de Óleos lubrificantes ?
Provas
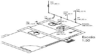
Disciplina: Engenharia Civil
Banca: Asconprev
Orgão: Pref. Lagoa Grande-PE
Qual projeto de instalações, o desenho abaixo está representando?

Provas
O Microsoft Excel (considere a versão 2007 em sua configuração padrão) é muito utilizado devido a sua facilidade de uso. Uma delas é permitir que uma fórmula possa ser escrita apenas uma vez e copiada para outras células da planilha, alterando as referências de célula contidas na fórmula. Qual das alternativas apresenta uma fórmula que deverá ser escrita em “C6” para calcular o “valor com desconto” e que poderá ser copiada corretamente para o intervalo de células “C7” à “C10”, da figura a seguir:

Provas
Disciplina: Segurança e Saúde no Trabalho (SST)
Banca: Asconprev
Orgão: Pref. Lagoa Grande-PE
Quanto aos cuidados com a Higiene Pessoal no Trabalho, é correto afirmar que:
Provas
Sobre os medicamentos Antihelmínticos, analise as proposições abaixo e assinale a opção incorreta:
Provas
“Documento específico elaborado por assistente social, que se traduz na apresentação descritiva e interpretativa de uma situação ou expressão da questão social, enquanto objeto da intervenção desse profissional, no seu cotidiano laborativo”. Este conceito refere-se a qual instrumental:
Provas
De acordo com os conhecimentos necessários que um profissional de telefonia deve possuir, julgue os itens abaixo e assinale a alternativa correta.
( ) É necessário saber decorado os ramais de todos os setores do trabalho, pois você não possuirá a lista de ramais disponível.
( ) É obrigatório conhecer e saber utilizar os equipamentos telefônicos adequadamente.
( ) Saber transferir a ligação é importante para a função a qual está exercendo.
( ) Algumas expressões nunca devem ser utilizadas, como gírias, meias palavras e palavras com conotação de intimidade.
Provas
Disciplina: Direito Educacional e Tecnológico
Banca: Asconprev
Orgão: Pref. Lagoa Grande-PE
A LDB 9.394/96 normatiza o currículo do ensino fundamental e ensino médio para a educação escolar. Com base na referida Lei, assinale (V) para verdadeiro e (F) para falso.
( ) O ensino da arte constituirá componente curricular obrigatório, nos diversos níveis da educação básica, de forma a promover o desenvolvimento cultural dos alunos.
( ) Os currículos devem abranger, obrigatoriamente, o estudo da língua portuguesa e da matemática, o conhecimento do mundo físico e natural e da realidade social e política, especialmente do Brasil.
( ) O ensino da História do Brasil levará em conta as contribuições das diferentes culturas e etnias para a formação do povo brasileiro, especialmente das matrizes indígena e africana.
( ) Na parte diversificada do currículo será incluído, opcionalmente, a partir da quinta série, o ensino de pelo menos uma língua estrangeira moderna, cuja escolha ficará a cargo da comunidade escolar, dentro das possibilidades da instituição.
( ) Os currículos do ensino fundamental e médio devem ter uma base nacional comum, a ser complementada, em cada sistema de ensino e estabelecimento escolar, por uma parte diversificada, exigida pelas características regionais e locais da sociedade, da cultura, da economia e da clientela.
A posição CORRETA dos itens é:
Provas
Assinale a alternativa em que todas as palavras devem ser completadas com a(s) letra (s) que está (estão) entre parênteses.
Provas
Disciplina: Engenharia Civil
Banca: Asconprev
Orgão: Pref. Lagoa Grande-PE
As cargas horizontais podem ser também de natureza permanente. Em relação às formas de distribuição dessas cargas, podem ser citadas as cargas uniformemente distribuídas, concentradas, triangulares e trapezoidais. Qual destes Elementos estruturais recebem a primeira carga:
Provas
Caderno Container