Foram encontradas 785 questões.
Pode-se afirmar corretamente que o efeito de grupo em fundações em estacas ocorre
Provas
Questão presente nas seguintes provas
Atente ao seguinte enunciado: “Grande parte desse bioma está sujeito ao clima semiárido, onde as chuvas são irregulares e o fenômeno da seca não é raro. Os solos são, em grande parte, rasos (neossolos); em alguns setores, ocorrem processos de desertificação. Espécies vegetais como o mandacaru e o juazeiro são comuns nesse tipo de ambiente”. Esse enunciado descreve algumas das características do bioma
Provas
Questão presente nas seguintes provas
Analisando a palavra “DENGUE”, pode-se afirmar corretamente que há
Provas
Questão presente nas seguintes provas
Antunes (2007) encerra o debate encetado em seu livro Muito além da gramática: por um ensino de línguas sem pedras no caminho afirmando:
- “É! Língua e gramática não são uma rima, porque não alinham pelo mesmo padrão sonoro; pelo mesmo tom. A língua tem mais acordes, tem mais vibrações; tem uma pauta maior, com mais notas, mais variações.”
- “Língua e gramática podem ser uma solução se soubermos ir adiante, muito além da gramática...”
A inspiração da autora para intitular o livro e encerrá-lo está calcada no recurso da
Provas
Questão presente nas seguintes provas
Os processos referentes ao metamorfismo das rochas envolvem condições muito particulares de pressão, temperatura e localização dos minerais e rochas envolvidos. Considerando essas condições, tem-se como produto do metamorfismo de um arenito uma outra rocha chamada de
Provas
Questão presente nas seguintes provas
O ajuste em que se pode modificar o espaço existente entre pares de caracteres específicos em uma palavra é denominado
Provas
Questão presente nas seguintes provas
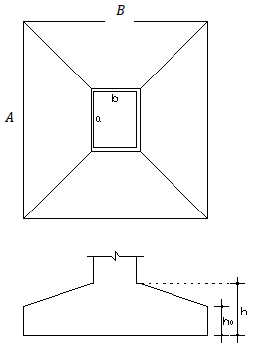
Considere uma sapata isolada em concreto armado, cujo volume se constitui de uma base prismática retangular e um tronco de pirâmide em sobreposição, conforme representado na figura abaixo.

Sabendo que a sapata considerada tem as seguintes dimensões: A = 3,00 m; B = 2,00 m; a = 0,65 m; b = 0,30 m; ho = 0,25 m; h = 0,50 m; e que
VTRONCO DE PIRÂMIDE é igual a
!$ 1/3 \times (h-h_0) \times \{A_{ab}+\sqrt{(A_{ab} \times A_{AB})}+A_{AB}\} !$
VPRISMA DA BASE = !$ (A_{AB} \times h_0) !$;
VTOTAL = VTRONCO DE PIRÂMIDE + V PRISMA DA BASE;
!$ A_{ab} \rightarrpw !$ área da base ab e !$ A_{AB} \rightarrow !$ área da base AB,
pode-se afirmar corretamente que o volume do sólido regular representado pela sapata é
Provas
Questão presente nas seguintes provas
Considere um caso de urgência, em que o paciente chega ao consultório com pulpite irreversível e necessidade de início de tratamento endodôntico.
No que diz respeito às limas utilizadas em tal tratamento, assinale a afirmação verdadeira.
Provas
Questão presente nas seguintes provas
No que diz respeito a comportamento ou característica que favorece as relações humanas e o bom funcionamento de uma equipe, considere os itens a seguir:
I. procurar ouvir os outros, mas, principalmente falar o que pensa de modo a se impor e dominar a discussão;
II. compreender as características dos membros da equipe;
III. dar atenção para compreender os interesses do outro, mesmo quando são opostos aos seus;
IV. criar soluções em grupo, buscando se sobrepor às opiniões dos outros.
Correspondem a comportamentos ou características que favorecem as relações humanas e o bom funcionamento de uma equipe apenas os itens
Provas
Questão presente nas seguintes provas
Assinale a opção que NÃO está relacionada com o aumento da formação de cálculos nas vias urinárias.
Provas
Questão presente nas seguintes provas
Cadernos
Caderno Container