Foram encontradas 3.478 questões.

No circuito acima, a corrente i3 e a tensão no nó E são, respectivamente,
Provas
Uma bola é lançada horizontalmente a uma certa altura h do solo.

Desprezando a resistência do ar, qual das figuras abaixo representa os vetores velocidade e aceleração do corpo no ponto P?
Provas
Um corpo é abandonado de um ponto A, a uma altura de h = 10,0 m por meio de um plano inclinado, conforme mostrado abaixo.

Supondo que não haja atrito e desprezando a resistência do ar, qual é, em m/s, a velocidade do corpo no ponto B? Dado: considere g = 10 m/s2.
Provas
Um veículo parte do repouso em movimento uniformemente variado até atingir a velocidade de 30 m/s no instante t = 10s. A partir daí, segue com movimento uniforme até t = 20s, quando começa a desacelerar uniformemente até parar no instante t = 30s, conforme mostrado no gráfico abaixo.

Qual é, em m, a distância total percorrida pelo veículo em todo o percurso?
Provas
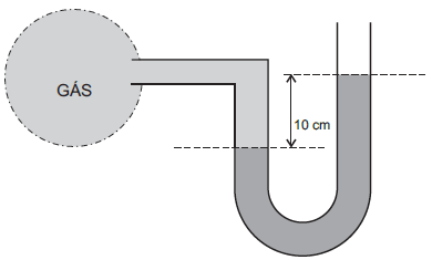
Para medir a pressão de um gás no interior de um reservatório, utiliza-se um manômetro de tubo aberto, conforme mostrado na figura abaixo.

A diferença de altura entre as colunas de mercúrio é de 10 cm, e a pressão externa é a pressão atmosférica. Qual é, em N/m2, a pressão do gás ?
Dados: considere que a massa específica do mercúrio é = 13,6 x 103kg/m3 e a pressão atmosférica p0 = 1,0 x 105 N/m2.
Provas
Considere que uma força total de 100 N é aplicada perpendicularmente a uma superfície de área 25 cm2, conforme mostrado na figura abaixo.

Qual o valor, em N/m2, da pressão exercida?
Provas

Considere dois blocos presos um ao outro por uma mola comprimida, conforme mostra a figura acima. Em certo instante, o sistema é liberado, e os blocos passam a se movimentar, sem atrito, em sentidos opostos. Sabendo-se que a massa do bloco 1 é o dobro da massa do bloco 2, m1 = 2m2 , qual a relação entre as velocidades v1 e v2 dos blocos 1 e 2, respectivamente, logo após perderem contato com a mola?
Provas
Uma caixa de massa m = 100 kg está suspensa por um sistema de cabos, conforme mostrado na figura abaixo.

Considerando-se que as tensões nos dois cabos são iguais, qual o valor, em N, da intensidade da tensão? Dados: sen 30° = 0,5.
Provas
Um goleiro, ao recolocar a bola em jogo, dá um tiro de meta, que é um chute forte com o objetivo de lançar a bola no campo adversário. Considere que a bola tem massa de 600g e sai com uma velocidade inicial de 30m/s. O tempo de contato entre o pé do goleiro e a bola foi de !$ Delta !$t = 0,1 s. Qual a força média, em N, que o jogador exerce sobre a bola?
Provas
Um recipiente, contendo água em repouso, possui na sua parede lateral 3 orifícios tampados por rolhas, nas três posições mostradas na figura abaixo.

Com relação à pressão exercida pela água nos três pontos, afirma-se que
Provas
Caderno Container