Foram encontradas 863 questões.

Considerando a figura acima, que mostra uma janela do navegador Internet Explorer 6 (IE6) com parte da página do Ministério Público do Estado de Roraima, julgue os itens que se seguem.
Para se incluir a página na lista de
é suficiente clicar a ferramenta
.
Provas

Considerando a figura acima, que mostra uma janela do navegador Internet Explorer 6 (IE6) com parte da página do Ministério Público do Estado de Roraima, julgue os itens que se seguem.
Para recortar o texto da página e transferi-lo para um documento do Word, é suficiente clicar a ferramenta
, abrir o documento do Word e clicar a opção Colar do menu Editar.
Provas
Disciplina: Segurança Privada e Transportes
Banca: CESPE / CEBRASPE
Orgão: MPE-RR

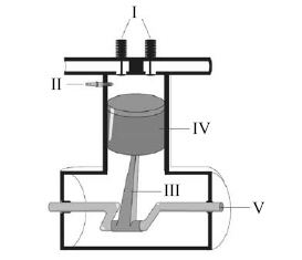
Na figura acima, é mostrada uma representação simplificada das principais partes de uma das unidades de um motor a combustão de quatro tempos que costuma equipar os veículos automotores. Com referência ao funcionamento desse tipo de motor, julgue os itens seguintes.
Quando a unidade mostrada estiver no chamado ponto
morto, a peça IV estará na posição mais afastada possível da
peça II.
Provas
Provas
Julgue o item a seguir, relativos ao reflexo do registro das operações de uma empresa em seu patrimônio.
O registro da amortização de itens do ativo proporciona redução do ativo permanente diferido e, conseqüentemente, reduz o resultado do exercício.
Provas
Julgue os trechos apresentados nos itens a seguir quanto à grafia das palavras e à correção gramatical.
Os indígenas dos grupos lingüísticos Caribe e Aruaque vieram das ilhas caribenhas.
Provas
Julgue os itens de 81 a 95, relacionados ao direito civil e ao direito processual civil.
No curso de ação judicial, a colidência de interesses do menor com os do seu representante legal implica a necessidade de nomeação de curador especial para o menor.
Provas
Julgue os itens de 81 a 95, relacionados ao direito civil e ao direito processual civil.
Quando o réu, embora não citado, comparece aos autos espontaneamente, apresentando defesa, faz que se caracterize a nulidade decorrente da falta de citação.
Provas
Julgue os itens de 81 a 95, relacionados ao direito civil e ao direito processual civil.
A presunção de boa-fé do possuidor com justo título não admite prova em contrário
Provas
No que se refere à legislação especial penal, julgue os itens de 96 a 110.
A autoridade policial que deixa de comunicar ao juiz competente a prisão ou detenção de qualquer pessoa pratica abuso de autoridade.
Provas
Caderno Container