Foram encontradas 1.300 questões.
Existe um circuito essencial para um receptor super-heteródino responsável pela recuperação do sinal modulante original presente no estágio de FI. No caso de receptores AM, com portadora, este mesmo tipo de circuito é composto, geralmente, por um diodo retificador de alta frequência, seguido por um filtro passa-baixa e, no caso de receptores para SSB, DSB/SC ou CW, utiliza-se um detetor de produto, ou seja, um circuito multiplicador composto por diodos dispostos em anel ou ponte. De acordo com as informações apresentadas, que circuito é esse?
Provas
Analise o circuito combinacional a seguir.

De acordo com o circuito acima, assinale a opção que apresenta corretamente a expressão da saída S.
Provas
Considerando a natureza da eletricidade, analise as afirmativas abaixo.
I - A quantidade de carga elétrica de um corpo é expressa em Coulomb.
II - O movimento de cargas produz uma corrente.
III - Certos cristais geram uma tensão quando vibram mecanicamente. Este fenômeno é conhecido como efeito Joule.
IV - Uma carga +Q significa que o corpo contém uma carga de 6,25 x 1018 mais prótons do que elétrons.
V - O nível de energia de um elétron é proporcional ao número de prótons existentes no núcleo.
Assinale a opção correta.
Provas
Observe o circuito a seguir.

Assinale a opção que apresenta o valor da resistência equivalente Rt, entre os pontos a e d, do circuito acima.
Provas
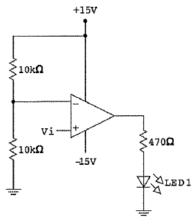
Analise o circuito a seguir, considerando componentes ideais.

Em relação ao circuito acima, é correto afirmar que o LED
Provas
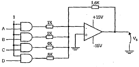
Observe o circuito a seguir.

Considerando que as portas lógicas do circuito conversor D/A da figura acima pertencem à família TTL (nível lógico 0= 0 V e nível lógico 1 = 5 V), assinale a opção que apresenta o valor da tensão analógica Vs quando as entradas forem: A 1, B = 0, C = 1 e D= 0.
Provas
Considerando o contido no livro "Eletricidade Básica" (GUSSOW, 1997), em relação à teoria sobre circuitos elétricos, analise as afirmativas abaixo:
I - Um ramo aberto (para um circuito de ramos paralelos) faz com que a corrente que passa por aquele ramo seja nula. Contudo, os outros ramos continuam apresentando um valor de corrente.
II - A resistência equivalente RT de ramos paralelos é menor do que a menor resistência dos ramos, uma vez que todos os ramos reunidos devem retirar mais corrente da fonte do que qualquer ramo isolado.
III- Quando dois resistores estão ligados em paralelo, a tensão através de cada um dos resistores é a mesma.
IV - Um curto circuito possui resistência excessiva, resultando numa corrente nula.
Assinale a opção correta.
Provas
Observe a figura a seguir

Assinale a opção que apresenta o valor da corrente instantânea quando \( θ \) = 30º e \( θ \) = 270º, respectivamente.
Provas
Qual das opções abaixo apresenta o valor da potência elétrica total consumida por um ferro elétrico de 4,5 A, um ventilador de 0,9 A e um motor de geladeira de 2,4 A, todos ligados em paralelo a uma fonte de alimentação de 120 Vdc?
Provas
Quais são as duas características que um receptor de rádio super-heteródino deve apresentar?
Provas
Caderno Container