Foram encontradas 1.300 questões.
No AUTOCAD, o gerenciador de estilo de cotas permite
Provas
Duas retas "r" e "s", não verticais, são paralelas entre si somente se
Provas
Curvas de níveis representam mudanças na topografia em desenhos ortográficos em planta por linhas de elevação. Sendo assim, é correto afirmar que:
Provas
Analise as figuras a seguir.

Assinale a opção que apresenta corretamente as associações dos cortes realizados na figura acima (pentágono) com as vistas resultantes.
Provas
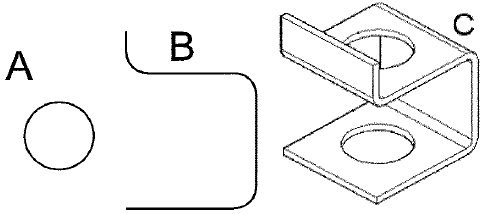
Assinale as figuras a seguir.

Assinale a opção que relaciona a sequência de comandos do AUTOCAD que viabiliza o resultado do desenho da figura C, acima, partindo-se dos desenhos representados nas figuras A-POLYLINE e B-CIRCLE.
Provas
Em relação à aplicação de áreas de luz e sombras ao desenho à mão livre, assinale a opção correta.
Provas


Com base nas informações constantes do Anexo, qual será a altura aproximada da cumeeira do telhado da residência representada nas plantas de situação e baixa, considerando-se que serão utilizadas telhas francesas, a 33% de caimento?
Provas
A ANP (Agência Nacional do Petróleo) e a ANVISA (Agência Nacional de Vigilância Sanitária) são organizações que já celebraram convênios com a Marinha. Essas organizações são consideradas:
Provas
Segundo a teoria materialista, as contas traduzem simples entradas e saídas de valores que evidenciam o ativo (valores positivos) e o passivo (valores negativos). Nessas condições é correto afirmar que as contas são divididas em dois grupos:
Provas
Qual é o princípio contábil que pressupõe que a entidade continuará em operação no futuro e, portanto, a mensuração e a apresentação dos componentes do patrimônio levam em conta esta circunstância?
Provas
Caderno Container