Foram encontradas 1.300 questões.
Em relação às diversas plantas de um prédio residencial, é correto afirmar que:
Provas
Com base nas informações constantes do Anexo, considerando- se uma perda de 15% na aplicação, qual será a quantidade aproximada de azulejos necessária para revestir as paredes do banheiro a uma altura de 1,50m do piso acabado, sendo que no box do chuveiro o revestimento será aplicado até o teto?
Provas
No Autocad, a aba OBJECT SNAP MODES seleciona OBJECT SNAPS fixos a serem utilizados durante a edição do desenho. São opções de OBJECT SNAP MODES:
Provas
Segundo NBR-6492/1994, a planta que contém as informações de movimentos de terra, redes hidráulicas, elétrica e redes de drenagem é chamada de planta de
Provas
Em relação à Planta de Situação, de acordo com a escala do desenho, o número de detalhes representados pode variar, vindo a incluir também
Provas

Com base nas informações constantes do Anexo, considerando o quadro de áreas do referido projeto, os valores aproximados correspondentes à área construída e à taxa de ocupação são, respectivamente:
Provas
Observe a figura a seguir.

Assinale a opção que apresenta a correta associação dos itens apresentados acima.
Provas
A fundação que forma uma placa contínua em toda área de construção é denominada de
Provas
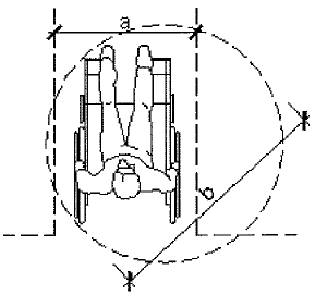
Analise a figura a seguir.

Para atender às condições de acessibilidade plena aos usuários portadores de necessidades especiais, em ambientes de acesso ao público, as medidas mínimas para a e b, apresentadas na figura acima, deverão ser, respectivamente:
Provas
Analise a figura a seguir.

Na estrutura de um telhado, a tesoura recebe tipos diferentes de solicitação em suas peças. Algumas peças que sofrem tração são o tirante, o suspensório e o frechal, indicados na figura acima, respectivamente, pelas letras
Provas
Caderno Container