Foram encontradas 340 questões.
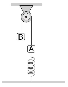
No sistema esquematizado a seguir, o fio e
a polia são ideais, a influência do ar é desprezível.
Os blocos A e B, de massas respectivamente
iguais a 6,0 kg e 4,0 kg, encontram-se inicialmente
em repouso, nas posições indicadas. O bloco
A é liberado com a mola ainda não deformada.
Calcule a deformação máxima sofrida pela mola.

Adote: Constante elástica da mola = 1000 N/m. Módulo da aceleração da gravidade = 10 m/s². Despreze a massa da mola.

Adote: Constante elástica da mola = 1000 N/m. Módulo da aceleração da gravidade = 10 m/s². Despreze a massa da mola.
Provas
Questão presente nas seguintes provas
Um bloco de massa m encontra-se no ponto
A, em repouso, sobre uma superfície horizontal
sem atrito, quando passa a agir sobre ele uma
força resultante F, paralela ao eixo dos x. Na
posição B a velocidade do bloco é de 2 m/s. 
Determine a velocidade com que esse bloco passa pelo ponto C.

Determine a velocidade com que esse bloco passa pelo ponto C.
Provas
Questão presente nas seguintes provas
Na figura, o sistema está sujeito à ação da
resultante externa F, paralela ao plano horizontal
sobre o qual uma prancha com degrau está
apoiada. Sobre o degrau repousa uma esfera de
raio R (R = 3H). Todos os atritos são desprezíveis
e o módulo da aceleração da gravidade é 10 m/s2
. 
Calcule a aceleração máxima da prancha de modo que a esfera não tombe.

Calcule a aceleração máxima da prancha de modo que a esfera não tombe.
Provas
Questão presente nas seguintes provas
Um bloco mostrado na figura a seguir não desliza sobre a superfície do carro e o dinamômetro registra 36 N. Despreze qualquer tipo de atrito e considere que a aceleração gravitacional local vale 10 m/s².

O módulo da força de reação do carro sobre o bloco é:
Provas
Questão presente nas seguintes provas
Considere um carrinho de massa 0,30kg
unido por uma corda a um bloco de 0,20kg. A
massa da corda e da roldana são desprezíveis.
São dadas as condições iniciais: tº = 0, xº = 0 e
vº = 5,0m/s² ( adote o sentido positivo do eixo x
apontando para a esquerda e a gravidade 10m/s²). 
Com base nas condições dadas, pode-se concluir que o valor da velocidade e a posição do carrinho, decorridos 2,5s, são:

Com base nas condições dadas, pode-se concluir que o valor da velocidade e a posição do carrinho, decorridos 2,5s, são:
Provas
Questão presente nas seguintes provas
A energia relacionada à massa m de um
objeto é chamada de energia de repouso E0
e é
obtida a partir da famosa equação E0
= m.c², onde
c é a velocidade da luz no vácuo. Assim, suponha
que a energia associada a um grão de feijão de
massa m = 0,2 g seja usada para movimentar
um carro. Sabendo que este carro percorre 15
km a cada litro de combustível usado e que cada
litro de combustível pode fornecer uma energia
equivalente a 4.108
J, é correto AFIRMAR que,
usando a energia proveniente do grão de feijão, o
carro pode trafegar por até:
(Dado: use c = 3.108 m/s.)
(Dado: use c = 3.108 m/s.)
Provas
Questão presente nas seguintes provas
Hamilton estabeleceu, em 1831, uma
relação entre a óptica geométrica e a mecânica
clássica, que passou a ser chamada de analogia
óptico-mecânica. Em adição, em 1923, durante a
preparação de sua tese de doutorado, Louis de
Broglie, baseado na analogia óptico-mecânica
de Hamilton e em resultados obtidos na época
para fótons na teoria de Bohr, postulou que o
comprimento de onda λ (de Broglie) associado
a uma partícula não relativística de massa m
e velocidade v seria λ = h/(m.v), onde h é a
constante de Planck. Este postulado passou a ser
conhecido como dualidade onda-partícula, uma
vez que relaciona características de partículas a
características de ondas. Atualmente, diversas
tecnologias têm seus funcionamentos baseados
fundamentalmente na dualidade onda-partícula,
como por exemplo:
Provas
Questão presente nas seguintes provas
A lei de Gauss, uma das quatro equações
de Maxwell, em sua forma diferencial, permite a
determinação do campo elétrico E gerado por uma
distribuição de cargas com determinada densidade
de cargas ρ. Assim, seja E0
= (C.x, 0, 0) (onde C é
uma constante e x é uma coordenada cartesiana),
o campo elétrico gerado por uma distribuição de
cargas com densidade de cargas P0
, localizada
no vácuo. Com base nestas informações e sendo
ε0
a permissividade elétrica no vácuo, pode-se
AFIRMAR que a densidade de cargas P0
que gera
o campo elétrico E0
supracitado vale:
Provas
Questão presente nas seguintes provas
Uma amostra de gás ideal sofre uma
expansão isotérmica reversível estando a uma
temperatura T = 90 ºC. Sabe-se que a amostra de
gás ideal possui volume inicial Vi
= 2 L, volume
final Vf
= 4 L e sua variação de entropia, neste
processo, foi de 25 J/K. Considerando ln(2) = 0,69
e sendo a constante universal dos gases R = 8,31
J/mol.K, pode-se AFIRMAR que o número de mols
que constitui esta amostra de gás ideal é:
Provas
Questão presente nas seguintes provas
A partir de janeiro de 2022, o município X mudou a sede da prefeitura para um novo prédio, desativando o imóvel onde exercia suas atividades anteriormente. Até o presente momento, a municipalidade não deu nenhuma destinação ao prédio desativado e não existem indícios de que isso será feito futuramente. Com base nisso, é CORRETO afirmar que:
Provas
Questão presente nas seguintes provas
Cadernos
Caderno Container