Foram encontradas 409 questões.
- EletrotécnicaCircuitos Elétricos em Eletricidade
- EletrotécnicaCircuitos de Corrente Contínua e de Corrente Alternada
Analise o circuito a seguir em que o instrumento utilizando a escala de 10 VDC apresenta uma sensibilidade de 1 kΩ/V.

Nesse caso, a indicação desse instrumento será igual a:
Provas
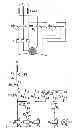
Analise os diagramas de força e de comando a seguir.

Com relação a esses diagramas, é correto afirmar:
Provas
Analise o diagrama unifilar a seguir.

Esse diagrama representa a utilização de um(a):
Provas
- EletrotécnicaCircuitos Elétricos em Eletricidade
- EletrotécnicaCircuitos de Corrente Contínua e de Corrente Alternada
Observe o circuito a seguir.

A potência dissipada no resistor R5 é, aproximadamente, igual a:
Provas
Analise as formas de onda a seguir, referentes às técnicas do controle de tensão nos inversores trifásicos.

Com relação a essas formas de ondas, é correto afirmar que se utilizou a técnica de modulação:
Provas
- EletrotécnicaCircuitos Elétricos em Eletricidade
- EletrotécnicaCircuitos de Corrente Contínua e de Corrente Alternada
- Chaves Seccionadoras
Analise o circuito amplificador a seguir, considerando que as Probe – Pontas de prova – são referidas ao terminal de terra.

Com relação a esse amplificador, é correto afirmar:
Provas
Analise a seguir a curva de resposta em frequência de um filtro na qual foram relacionadas com as letras de A a M algumas de suas características.

Com relação a esse filtro, é correto afirmar:
Provas
- EletrotécnicaCircuitos Elétricos em Eletricidade
- EletrotécnicaCircuitos de Corrente Contínua e de Corrente Alternada
Analise as afirmativas a seguir referentes às características dos transformadores e assinale com V as verdadeiras e com F as falsas.
( )A perda no núcleo e a reatância de magnetização de um transformador são obtidas por um teste de circuito aberto.
( )A perda total no cobre do enrolamento é medida no teste de curto-circuito, determinada pela razão PSC/ISC 2 .
( )Para os transformadores de distribuição, a resposta em frequência é uma característica mais importante do que seu rendimento.
( )O fornecimento de uma tensão constante na carga exige um valor menor da regulação de tensão por parte do transformador.
( )Os autotransformadores são empregados nas aplicações que utilizam grandes relações de transformação, tais como os transformadores de distribuição.
Assinale a sequência CORRETA.
Provas
Associe a COLUNA I com a COLUNA II, relacionando a categoria econômica / origem / espécie da Receita Pública com as suas respectivas descrições.
COLUNA I
1. Receita corrente – taxas
2. Receita corrente – contribuição de melhoria
3. Receita corrente – patrimonial
4. Receita de capital – transferências de capital
COLUNA II
( )Recursos devidos aos entes da Federação como forma de participação no resultado da exploração dos seus recursos minerais, hídricos, florestais e outros, definidos no ordenamento jurídico.
( )Espécie de tributo e tem como fato gerador a valorização imobiliária que decorra de obras públicas, contanto que haja nexo causal entre o acréscimo de valor obtido e a realização da obra pública.
( )Recursos financeiros recebidos de outras pessoas de direito público ou privado e destinados para atender despesas em investimentos ou inversões financeiras, a fim de satisfazer finalidade pública específica; sem corresponder, entretanto, a contraprestação direta ao ente transferidor.
( )Espécie de tributo que tem como fato gerador o exercício regular do poder de polícia administrativa ou a utilização, efetiva ou potencial, de serviço público específico e divisível, prestado ao contribuinte ou posto a sua disposição.
Assinale a sequência CORRETA.
Provas
Provas
Caderno Container