Foram encontradas 1.000 questões.
Considere as tabelas discentes e matriculas para responder às questões 19 e 20.

A linguagem SQL possui uma série de operações de “junção” (JOIN) que permite que o programador escreva algumas consultas de forma mais natural e expresse outras consultas que são difíceis de fazer apenas com o produto cartesiano.
Considerando as tabelas discentes e matriculas e o uso de JOINS em SQL, analise as afirmativas a seguir, assinalando V, para as Verdadeiras, e F, para as Falsas:
( ) O script SELECT nome, disciplina FROM discentes NATURAL JOIN matriculas; retornará exatamente o mesmo que SELECT nome, disciplina FROM discentes, matriculas WHERE discentes.ID = matriculas.ID; pois são equivalentes.
( ) O script SELECT nome, disciplina FROM discentes NATURAL JOIN matriculas; retornará exatamente 15 tuplas.
( ) O script SELECT * FROM discentes NATURAL LEFT OUTER JOIN matriculas; retornará 17 tuplas, incluindo os dados dos discentes 1004 e 1008, que não possuem registros na tabela matriculas.
( ) O script SELECT * FROM matriculas NATURAL LEFT OUTER JOIN discentes; retornará 17 tuplas, incluindo os dados dos discentes 1004 e 1008, que não possuem registros na tabela matriculas.
A sequência correta, de cima para baixo, é:
Provas
O corte consiste em seccionar o objeto, por uma superfície convenientemente escolhida. Quanto a este aspecto, analise as afirmativas a seguir:
I. Corte pode ser definido como a representação de uma seção de um objeto e da parte deste situado para além da superfície secante.
II. A superfície secante, ou superfície na qual se executa o corte, referencia-se sempre em uma vista do objeto pelo seu traço num plano que seja normal à referida superfície.
III. O corte, de acordo com a extensão em que se supõe cortado o objeto, pode ser total, parcial ou meio corte.
Estão corretas as afirmativas
Provas
Considere que há uma tabela chamada docentes no banco de dados, a qual armazena informações sobre os professores, incluindo matrícula, nome, departamento e salário. Os registros da tabela são os seguintes:

Para fazer uma consulta que retorne o nome dos departamentos com mais de um docente, a quantidade de docentes que possuem e sua média salarial, ordenados de forma decrescente pela média salarial, utiliza-se o seguinte script SQL:
1 SELECT departamento,
2 __________(*) AS quantidade_docentes,
3 __________(salario) AS salario_medio
4 FROM docentes
5 GROUP BY departamento
6 __________ quantidade_docentes > 1
7 ORDER BY salario_medio DESC;
Em sequência, as palavras que completam corretamente as lacunas das linhas 2, 3 e 6, para que o script no padrão SQL seja executado corretamente, são:
Provas
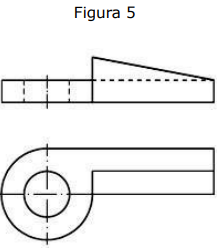
Observe as vistas ortogonais a seguir.

Fonte:o autor
Provas
A linguagem SQL oferece várias funções para manipulação de strings de caracteres, como concatenação, conversão para maiúsculas e minúsculas, extração de substrings, entre outras. A combinação de padrões pode ser realizada em strings, utilizando o operador LIKE, o qual permite buscas flexíveis com base em padrões específicos.
Considerando o uso do operador LIKE, a ausência de caracteres de espaço nos padrões apresentados e as operações de igualdade entre strings, em que há diferenciação entre maiúsculas e minúsculas, analise as afirmativas a seguir:
I. O padrão ‘Intro%’ combina com qualquer string começando com “Intro”, como ‘Introdução’ e ‘Introdução a Banco de Dados’.
II. O padrão ‘%Comp%’ combina com qualquer string contendo “Comp” como substring, por exemplo, ‘Introdução a Computação’ e ‘Computação Sustentável’.
III. O padrão ‘_ a _’ combina com qualquer string de exatamente três caracteres em que o segundo caractere seja “a”.
IV. O padrão ‘%_ _ _%’ combina com qualquer string de pelo menos três caracteres, como ‘Banco de Dados’, ‘IFSul’ e ‘SQL’.
Estão corretas as afirmativas
Provas
Ulrich Beck, caracterizando o que chama de “modernidade reflexiva”, discorre acerca do papel desempenhado pela ciência quanto à produção de conhecimentos concernentes aos riscos acarretados por essa forma de modernidade.
Sobre o papel da ciência conforme Beck, analise as afirmativas a seguir:
I. A crescente cientificização ocasionou indistinções entre ciência e política, as quais perpassam todas as esferas da vida social.
II. As contestações à autoridade científica foram decisivas para a sua obsolescência na “modernidade reflexiva”.
III. A racionalidade científica tornou-se imune a críticas, porquanto seja uma forma socialmente legítima de produzir verdades.
IV. Embora cada vez mais necessária, a ciência se torna cada vez menos suficiente para a definição socialmente vinculante de verdade.
Estão corretas apenas as afirmativas
Provas
- AdministraçãoBackup e Recuperação
- Banco de Dados RelacionalACIDDefinição: ACID
- Banco de Dados RelacionalTransações
Uma coleção de operações no banco de dados geralmente é vista como uma única ação pelo usuário. Por exemplo, uma transferência entre uma conta corrente e uma conta poupança parece uma única operação, mas, no banco de dados, envolve várias etapas. Essas coleções de operações são chamadas de transações, e o sistema de banco de dados deve garantir sua execução correta, mesmo em situações de falha.
Com base nos conceitos de transações e recuperação de falhas da linguagem SQL, analise as afirmativas a seguir e, assinale V, para as Verdadeiras, e F, para as Falsas:
( ) Em sistemas SQL que seguem o protocolo ACID, o sistema deve garantir que, em caso de falha durante uma transação, as alterações parciais realizadas até o momento da falha sejam preservadas para facilitar a recuperação.
( ) Quando uma transação tiver sido confirmada (committed), não é possível desfazer seus efeitos abortando-a. Para desfazer os efeitos de uma transação confirmada, é preciso executar uma transação de compensação.
( ) O mecanismo de ponto de verificação (checkpoint) em um banco de dados SQL permite uma recuperação mais rápida após uma falha, pois os dados até o último checkpoint são considerados estáveis e não precisam ser restaurados a partir do log de transações.
( ) A técnica de rollback é utilizada para desfazer alterações realizadas por uma transação que falhou, retornando o banco de dados ao estado estável do último ponto de verificação.
A sequência correta, de cima para baixo, é:
Provas
- AdministraçãoOtimização e Performance de Banco de DadosOtimização de Consultas
- SQLConceitos e Fundamentos de SQL
- SQLDML
No contexto de consultas em banco de dados relacionais utilizando a linguagem SQL, uma consulta pode ser estruturada com diversas cláusulas, sendo que apenas as cláusulas SELECT e FROM são obrigatórias para que a consulta seja válida.
Considerando as cláusulas opcionais e o processo de otimização de consultas, analise as afirmativas a seguir:
I. A cláusula WHERE é usada para definir as condições de seleção de tuplas, incluindo condições de junções se necessário.
II. A cláusula GROUP BY pode ser utilizada sem a presença de funções agregadas, como COUNT e SUM.
III. A cláusula HAVING é aplicada após a cláusula GROUP BY e define condições para selecionar grupos de resultados.
IV. A consulta SQL pode ser otimizada com o uso mínimo de aninhamentos e ordenações.
V. O Sistema de Gerenciamento de Banco de Dados (SGBD) sempre processa consultas da mesma forma, independentemente de como foram formuladas.
Estão corretas apenas as afirmativas
Provas
Zygmunt Bauman faz a defesa da relevância da sociologia para o mundo contemporâneo, no bojo das transformações que originaram a chamada “modernidade líquida”.
Considerando o posicionamento de Bauman, analise as afirmativas abaixo e classifique V, para as sentenças verdadeiras, e F, para as falsas.
( ) Embora diagnosticar as “doenças” da sociedade não seja o mesmo que “curá-las”, a falta de diagnósticos favorece tais “doenças”.
( ) O trabalho sociológico deve ter por objetivo reduzir ou mesmo eliminar a miséria humana.
( ) Os sociólogos podem optar por uma forma descomprometida de fazer sociologia.
A sequência correta, de cima para baixo, é
Provas
Um profissional da área de tecnologia da informação está projetando um sistema de gerenciamento escolar para um Instituto Federal de Educação, Ciência e Tecnologia. O sistema deve automatizar várias tarefas e garantir a integridade dos dados por meio do uso de triggers no banco de dados. Cada tipo de trigger possui um papel específico na execução de operações, como inserções, atualizações e exclusões.
Faça a associação correta para cada tipo de trigger na coluna I com a descrição e comportamento correspondente na coluna II.
Coluna I - Tipos de Trigger:
1. Trigger BEFORE
2. Trigger AFTER
3. Trigger INSTEAD OF
4. Trigger FOR EACH STATEMENT
A. Para garantir que as notas inseridas para os alunos sejam validadas antes de serem gravadas no sistema, essa trigger executa ações antes da operação de inserção ou atualização, permitindo verificar ou ajustar os dados.
B. Após a inserção de um novo registro de aluno, é necessário atualizar automaticamente a lista de turmas e registrar o novo aluno em outras tabelas relacionadas. Essa trigger executa ações automaticamente depois que a operação principal é concluída.
C. Para enviar um relatório para a coordenação sempre que um comando SQL afeta várias linhas, como a atualização de notas para todos os alunos de uma turma, é utilizada uma trigger que realiza a ação para toda a operação em vez de para cada linha individualmente.
D. Se o objetivo é substituir a operação padrão de atualização das notas por uma nova lógica que ajusta a média final dos alunos, essa trigger permite definir uma ação alternativa que será executada no lugar da operação original.
Qual é a associação correta entre números e letras?
Provas
Caderno Container