Foram encontradas 1.600 questões.
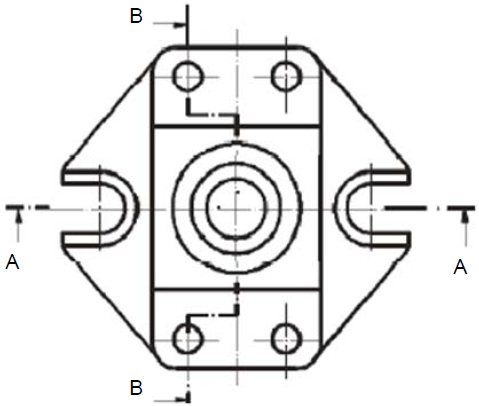
Observe a vista superior abaixo.
Nela estão indicados os cortes AA e BB.

A vista ortográfica abaixo representa o corte _____, que é um corte _____

A vista ortográfica abaixo representa o corte _____, que é um corte _____

Assinale a alternativa que preenche corretamente as lacunas das frases acima, na ordem em que aparecem.
Provas
Questão presente nas seguintes provas
No Tractatus Lógico-Philosophicus, obra reconhecida como a primeira fase de Wittgenstein (2001), encontra-se a noção sobre proposição.
Segundo o autor (op. cit. 2001), a proposição
I. deve comunicar um novo sentido com velhas expressões.
II. é uma figuração da situação na medida em que é logicamente articulada.
III. não é uma figuração da realidade.
IV. descreve um estado de coisas.
Estão corretas as afirmativas:
Provas
Questão presente nas seguintes provas
Quanto à aplicação de meio-corte em Desenho Técnico, afirma-se que
I. apenas a metade do objeto é cortada, permanecendo a outra metade em vista externa com indicação de linhas tracejadas.
II. onde a linha de simetria é vertical, o corte deve ser representado na metade direita da vista ortográfica.
III. este tipo de corte é peculiar aos objetos assimétricos.
Está(ão) correta(s) a(s) afirmativa(s)
Provas
Questão presente nas seguintes provas
A incineração é o processo mais antigo e o mais empregado de tratamento térmico de resíduos sólidos urbanos. A respeito desta técnica de tratamento, é correto afirmar que
Provas
Questão presente nas seguintes provas
Observe as seguintes imagens de obras de artes visuais:

Zero Cruzeiro, 1974-1978, lito offset sobre papel, 6,5 x 15,5 cm.

Blue Phase [Defacements], 1992, papel moeda com intervenções
anônimas, nylon, entretela, 85 x 85 cm
Tais obras registram o trabalho de dois artistas brasileiros que encontram no mesmo tema (material), o suporte para produzirem suas obras. O primeiro, na década de 70, com seu questionamento político contundente. O segundo, de outra forma, mas não menos importante, no contexto dos anos 90, com a obra “Blue Phase”, uma apropriação de objetos do cotidiano que faz interferir diretamente no circuito natural das coisas, o dinheiro que vem das diversas partes do país traz uma memória implícita de percursos, ressignificados como arte.
As obras “Zero Cruzeiro” e “Blue Phase” são, respectivamente, da autoria de:
Provas
Questão presente nas seguintes provas
Leia o texto a seguir.
“A greve foi um dos instrumentos mais utilizados pelos trabalhadores na sociedade capitalista. A paralisação das atividades de uma ou mais empresas sempre se apresentou como uma poderosa arma de reivindicação. O movimento operário – e a greve em particular – pode ser analisado pelo menos de acordo com dois pontos de vista: o de Émile Durkheim e o de Karl Marx”.
TOMAZI, Nelson Dacio. Sociologia para o ensino médio. São Paulo: Atual, 2007.
Qual alternativa melhor representa o pensamento desses dois teóricos sobre a greve de trabalhadores?
Provas
Questão presente nas seguintes provas
Como uma das consequências do desenvolvimento do pensamento científico da modernidade, a constituição da Sociologia também deve muito a dois movimentos que representaram uma ruptura com o mundo medieval e embasaram o pensamento burguês: o Renascimento e a Ilustração.
Na Ilustração, foram fundamentais os questionamentos proporcionados pela Filosofia Social dos séculos XVII e XVIII que, entre outras coisas, contribuíram para
Provas
Questão presente nas seguintes provas
Os resíduos sólidos de serviço de saúde (RSS) compreendem todos os resíduos gerados nos diferentes estabelecimentos que prestam serviços de saúde, como hospitais, clínicas médicas e veterinárias, laboratórios de análises clínicas, farmácias, etc. A respeito deste assunto, é correto afirmar que
Provas
Questão presente nas seguintes provas
A noção de preconceito é indispensável para a análise das diferentes formas de discriminação.
Qual alternativa aponta a definição de preconceito?
Provas
Questão presente nas seguintes provas
O conceito de exclusão social, segundo Simon Schwartzman, “traz implícita a problemática da desigualdade, já que os excluídos, só o são, pelo fato de estarem privados de algo que outros (os incluídos) usufruem”. Então, o conceito de exclusão é inseparável do conceito de
Provas
Questão presente nas seguintes provas
Cadernos
Caderno Container