Foram encontradas 910 questões.
Sobre os efeitos dos reguladores de crescimento em algodão, considere:
I - Redução do tamanho dos internódios e do número de nós das plantas.
II - Aumento do número de frutos danificados e do número de folhas por planta.
III - Redução da altura das plantas e do comprimento dos ramos reprodutivos.
IV - Redução da retenção de frutos nas primeiras posições dos ramos produtivos.
São efeitos dos reguladores:
Provas
Questão presente nas seguintes provas
Bourdieu e Passeron, na obra A Reprodução, consideram que toda ação pedagógica é objetivamente resultante de relações de dominação, de imposições, de um poder arbitrário, de um arbitrário cultural, ou seja, de violência simbólica. Como esses autores definem violência simbólica?
Provas
Questão presente nas seguintes provas
Na obra As Regras do Método Sociológico, de 1895, Émile Durkheim procura, com sua sociologia, formular uma teoria do fato social, demonstrando que pode haver uma ciência sociológica objetiva e científica, como nas ciências físico-matemáticas. Considerando a abordagem metodológica de Emile Durkheim, apresentada nesse livro, a primeira e mais fundamental regra relativa à observação dos fatos sociais considera
Provas
Questão presente nas seguintes provas
Vacas de alta produção não ingerem nutrientes na quantidade adequada no início da lactação. Por exemplo, uma vaca que produz 35 kg de leite por dia requer três vezes mais energia do que para mantença. Isso porque o pico de produção de leite ocorre de 5 a 8 semanas pós-parto, muito antes do consumo máximo de matéria seca (MS), que se dá entre 12 e 15 semanas após a parição.
A condição descrita acima é definida como
Provas
Questão presente nas seguintes provas
Marque a alternativa que apresenta nomenclaturas e significados diferentes.
Provas
Questão presente nas seguintes provas
Admita que a água contida em um tanque na forma de um cilindro circular reto, com 10 m de altura e 5 m de raio, é bombeada, em taxa constante, para outro tanque na forma de um cone circular reto, com 30 m de altura e 5 m de raio e a base voltada para cima. Se inicialmente o tanque cilíndrico está cheio, o cônico está vazio e toda água é bombeada em 10 minutos, qual é a taxa de variação da altura do nível da água no tanque cônico, em m/min, no instante t = 8 minutos?
Provas
Questão presente nas seguintes provas
Assinale a alternativa que melhor representa classes e objetos de uma linguagem orientada a objetos utilizando diagrama da UML.
Provas
Questão presente nas seguintes provas
A diferença entre o valor de venda e os custos e despesas decorrentes dessa venda, também conhecidos por custos variáveis, denomina-se
Provas
Questão presente nas seguintes provas
Um processo em fluxo contínuo, de baixa intensidade (10 a 15 segundos; 60ºC a 65ºC), aplicado ao leite cru, de modo a manter baixa a taxa de bactérias psicrotróficas, contudo não é suficiente para destruir todos os microrganismos patogênicos não esporulados. Trata-se de:
Provas
Questão presente nas seguintes provas
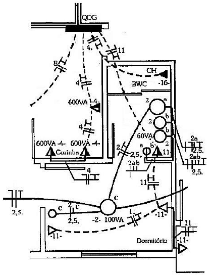
A figura mostra uma planta baixa parcial de uma instalação elétrica de baixa tensão, na qual estão representados os elementos, dispositivos e acessórios projetados ou representativos de uma instalação já executada.

Em relação à representação simbólica, que segue a norma associada a instalações elétricas prediais, assinale a afirmativa correta.
Provas
Questão presente nas seguintes provas
Cadernos
Caderno Container