Magna Concursos

Foram encontradas 90 questões.

354272 Ano: 2011
Disciplina: Matemática
Banca: Marinha
Orgão: Escola Naval
Ao meio dia, o navio NE-Brasil encontra-se a 100 km a leste do navio Aeródromo São Paulo. O NE-Brasil navega para oeste com a velocidade de 12 km/h e o São Paulo para o sul a 10 km/h. Em que instante, aproximadamente, os navios estarão mais próximos um do outro?
 

Provas

Questão presente nas seguintes provas
354221 Ano: 2011
Disciplina: Física
Banca: Marinha
Orgão: Escola Naval
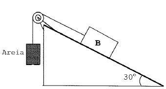
Na figura abaixo, temos o bloco B de massa igual a 4,0 kg e um recipiente (massa desprezível) cheio de areia, interligados por um fio (inextensível e de massa desprezível) que passa por uma polia ideal. Os coeficientes de atrito estático e cinético entre o bloco B e a reta de maior declive do plano inclinado valem, respectivamente, !$ 0,050.\sqrt{3} !$ e !$ 0,040.\sqrt{3} !$.
O recipiente possui um pequeno orifício no fundo, por onde a areia pode sair. No instante t= 0, a massa da areia no recipiente é de 1,7 kg. A partir do instante t = 0, com a areia saindo do orifício, o módulo da maior aceleração (em m/ s2) adquirida pelo bloco B é
enunciado 354221-1
Dado: !$ \mid \vec{g} \mid \, = \, 10 \, m \, / \, s^2 !$
 

Provas

Questão presente nas seguintes provas
354031 Ano: 2011
Disciplina: Português
Banca: Marinha
Orgão: Escola Naval
Regina tem 82 anos de idade, e mora sozinha no seu minúsculo apartamento. Ninguém a chama de Dona Regina, nem crianças, nem adultos nem velhos: é Regina mesmo. Vai diariamente à beira da praia, e num banco se senta para tomar sol e ar livre. Apesar de ser um passarinho tem dias que acorda de mau humor. Um dia desses estava sentada no banco e Alfredo, um menino amigo dela, convidou-a: "Regina, vamos brincar? " Não respondeu. O menino repetiu o convite. Então ela, com a voz débil de quem ainda não falou com ninguém naquele dia, resmungou qualquer coisa bem baixinho.(d) Alfredo virou-se para a mãe, que estava perto, e disse, desolado: "Mamãe, Regina hoje está com as pilhas fracas! "
De vez em quando Regina escreve numa folha de papel alguma coisa, sem intuito de divulgação ou laivos de publicação.(a) Mantém um diário.
Certa manhã uma vizinha do mesmo edifício passeava pela calçada da praia, empurrando o seu carrinho de bebê.(b) O olhar da moça se cruzou um instante com o de Regina, e a moça lhe sorriu. Regina lhe deu de volta um levíssimo sorriso.
Quando a moça voltou para casa, encontrou, passada pela soleira da porta de seu apartamento, uma folha de papel.(c)
Era um bilhete. Que assim dizia: "Obrigada pelo sorriso. Regina."(e)
(Lispector, Clarice. Um ser chamado Regina. In: A descoberta do mundo.
Rio de Janeiro: Rocco, 1999, p.321)
Em que opção a outra possibilidade de pontuação está correta de acordo com a norma padrão atual?
 

Provas

Questão presente nas seguintes provas
353405 Ano: 2011
Disciplina: Matemática
Banca: Marinha
Orgão: Escola Naval
Considere um cubo maciço de aresta !$ a \, = \, 2cm. !$ Em cada canto do cubo, corte um tetraedro, de modo que este tenha um vértice no respectivo vértice do cubo e os outros vértices situados nos pontos médios das arestas adjacentes, conforme ilustra a figura dada abaixo. A soma dos volumes desses tetraedros é equivalente ao volume de uma esfera, cuja área da superfície, em !$ cm^2 !$, mede.
enunciado 353405-1
 

Provas

Questão presente nas seguintes provas
353346 Ano: 2011
Disciplina: Inglês (Língua Inglesa)
Banca: Marinha
Orgão: Escola Naval
Choose the best reply to this statement.
Dayse: I haven't seen The King's Speech yet. You: (1).
 

Provas

Questão presente nas seguintes provas
353315 Ano: 2011
Disciplina: Matemática
Banca: Marinha
Orgão: Escola Naval
Sejam !$ f !$ e !$ g !$ funções cujo domínio é o conjunto !$ D \, = \, \{ n \, \epsilon \, IN \, / \, n \, \ge \, 3 \} !$ onde !$ n !$ representa o número de lados de um polígono regular. As funções !$ f !$ e !$ g !$ associam respectivamente para cada !$ n \, \epsilon \, D, !$ as medidas dos
ângulos interno e externo do mesmo polígono . É correto afirmar que:
 

Provas

Questão presente nas seguintes provas
352825 Ano: 2011
Disciplina: Português
Banca: Marinha
Orgão: Escola Naval
O Rei mandava cortar a cabeça dos mensageiros que lhe davam más notícias. Dessa forma, um processo de seleção natural se estabeleceu: os inábeis foram sendo progressivamente eliminados, até que restou apenas um mensageiro no país. Tratava-se, como é fácil de imaginar, de um homem que dominava espantosamente bem a arte de dar más notícias.
Seu filho morreu, dizia a uma mãe, e a mulher punha-se a entoar cânticos de júbilo: Aleluia, Senhor! Sua casa incendiou, dizia a um viúvo, e este prorrompia em aplausos frenéticos. Ao Rei, o mensageiro anunciou sucessivas derrotas militares, epidemias de peste, catástrofes naturais, destruição de colheitas, miséria e fome; surpreso consigo mesmo, o Rei ouvia sorrindo tais novas. Tão satisfeito ficou com o mensageiro que o nomeou seu porta-voz oficial. Nessa importante posição, o mensageiro não tardou a granjear a simpatia e o afeto do público. Paralelamente, crescia o ódio contra o monarca; uma rebelião popular acabou por destituí-lo, e o antigo mensageiro foi coroado Rei.
A primeira coisa que fez, ao assumir o governo, foi mandar executar todos os candidatos a mensageiro. A começar por aqueles que dominavam a arte de dar más notícias.
(Scliar, Moacyr. Mensagem. In: Contos reunidos.
São Paulo: Companhia das Letras, 1995, p. 101. )
Que afirmativa está correta em relação aos aspectos morfossintáticos do texto?
 

Provas

Questão presente nas seguintes provas
352059 Ano: 2011
Disciplina: Português
Banca: Marinha
Orgão: Escola Naval
O Rei mandava cortar a cabeça dos mensageiros que lhe davam más notícias. Dessa forma, um processo de seleção natural se estabeleceu: os inábeis foram sendo progressivamente eliminados, até que restou apenas um mensageiro no país. Tratava-se, como é fácil de imaginar, de um homem que dominava espantosamente bem a arte de dar más notícias.
Seu filho morreu, dizia a uma mãe, e a mulher punha-se a entoar cânticos de júbilo: Aleluia, Senhor! Sua casa incendiou, dizia a um viúvo, e este prorrompia em aplausos frenéticos. Ao Rei, o mensageiro anunciou sucessivas derrotas militares, epidemias de peste, catástrofes naturais, destruição de colheitas, miséria e fome; surpreso consigo mesmo, o Rei ouvia sorrindo tais novas. Tão satisfeito ficou com o mensageiro que o nomeou seu porta-voz oficial. Nessa importante posição, o mensageiro não tardou a granjear a simpatia e o afeto do público. Paralelamente, crescia o ódio contra o monarca; uma rebelião popular acabou por destituí-lo, e o antigo mensageiro foi coroado Rei.
A primeira coisa que fez, ao assumir o governo, foi mandar executar todos os candidatos a mensageiro. A começar por aqueles que dominavam a arte de dar más notícias.
(Scliar, Moacyr. Mensagem. In: Contos reunidos.
São Paulo: Companhia das Letras, 1995, p. 101. )
Qual dos provérbios a seguir pode ser aplicado ao texto?
 

Provas

Questão presente nas seguintes provas
352052 Ano: 2011
Disciplina: Português
Banca: Marinha
Orgão: Escola Naval
Todos temos amigos e não é difícil falar de suas qualidades. No Brasil que, na minha obra, eu tenho definido como um país marcado pela casa, pela família e pelos laços sagrados da hospitalidade e da cortesia, os amigos se dividem em muitas categorias. Há amigos "próximos", "íntimos" e "do peito", com quem compartilhamos segredos e nos quais depositamos uma confiança ilimitada. E há também, como uma espécie de compensação a nos prevenir contra os riscos da estima e da ternura devotada às pessoas, os "amigos da onça" e os "falsos amigos", aqueles que, ao lado dos "amigos distantes", estão próximos dos inimigos "íntimos" e "cordiais". No Brasil, não seria exagero dizer, há amigos para tudo e sem eles a vida social estaria provavelmente paralisada, pois o que seria de nós sem esses "amigos" (ou "amigões") que temos na padaria, na condução, na academia de ginástica, no banco nas repartições públicas, no consultório médico, na praia, piscina, colégio, bar e praças que frequentamos?
Dir-se-ia que, onde há um grupo de pessoas, existem amigos potenciais ou virtuais, ou seja: aquelas criaturas com as quais simpatizamos e descobrimos afinidades especiais e singulares.
É mais fácil, entretanto, falar dessa rede de amigos que todos possuímos e que, num sentido muito preciso, são o sal da nossa vida, do que discernir as linhas daquilo que chamamos de "amizade", ultrapassando o plano do lugar-comum, que aprisiona a amizade dentro de um quadro de escolhas pessoais, passando por cima de sua importância política e social.
Sei que sou amigo de Maria ou de João porque gosto deles. Mas como definir esse "gostar" política ou sociologicamente? Que implicações sociais tem essa afeição? Que deveres e coerções ela apresenta e demanda?
Falar disso é discorrer sobre as teias da amizade. E a amizade, ao fim e ao cabo, está contida no afeto como obrigação e como dever. Um afeto que, uma vez testado e estabelecido, vai além das escolhas, obrigando a tomar partido. O amigo de um amigo é, por definição, um amigo; a mulher de um amigo é homem; aos inimigos a lei, aos amigos tudo. Eis três princípios que ajudam a entender a amizade, pelo menos no caso do Brasil. Neles temos um eixo comum que ajuda a compreender o seu sentido.
Refiro-me, é claro, às obrigações impostas pela norma mais importante da vida social: a reciprocidade (que obriga a dar, receber e retribuir). Dar e receber, para depois retribuir, são marcas mais claras da amizade como um princípio moral sem o qual a própria sociabilidade deixaria de existir. Damos aos amigos e deles esperamos receber. As amizades fazem parte do momento, mas se prolongam no futuro: o amigo dos meus pais é meu amigo, o que seria do nosso famoso clientelismo sem essa regra que nos obriga a ter redes de amizade ou "turmas"? Ademais, as amizades não se medem de forma instrumental: um presente dado hoje pode ser retribuído muitos anos depois, o que distingue a amizade da relação instrumental típica dos elos comerciais.
Finalmente, vale considerar o perturbador princípio que submete o inimigo à lei e aos amigos dá todas as regalias. Para além de um cinismo fácil de condenar, esse axioma, que tem marcado por tantos séculos o nosso sistema político, distingue interesses imediatos de amor; separa a vida social como feita de contratos visando ao lucro, da existência marcada pelo afeto e pelo carinho. Se a sociedade é governada por regras que a todos submetem, como as leis do mercado e os códigos legais, ela também tem como base esses elos inscritos no coração que constituem as grandes amizades.
Falar da amizade, portanto, é refletir sobre essas correntes de presentes, palavras e gestos que se situam aquém (ou além) dos deveres e obrigações legais e econômicas. Não fosse assim e ninguém seria capaz de realizar o gesto supremo da amizade que constitui o "dar de graça", o presente impossível que, sendo sinal de carinho e amor, não deseja retorno.
(DaMatta, Roberto. Em torno dos amigos e da amizade. In: Borja, Maria Isabel; Vassalo,
Márcio, orgs. Valores para viver. Rio de Janeiro: Guarda-Chuva, 2005, p.159-161)
Em que opção a oração destacada aparece com o mesmo valor sintático-semântico da do seguinte trecho do texto: " [ . . . ] separa a vida social como feita de contratos visando ao lucro, [ ...] ." ?
 

Provas

Questão presente nas seguintes provas
351468 Ano: 2011
Disciplina: Inglês (Língua Inglesa)
Banca: Marinha
Orgão: Escola Naval
BIG INCREASE IN DRUNKEN 10-YEAR-OLDS WHO NEED AN AMBULANCE
London Ambulance Service figures today reveal that the number of 10- and 11-year-olds requiring medical treatment for alcohol abuse has more than doubled in the past two years. The figures come as health groups called for restrictions on cheap alcohol after it was revealed that youngsters could get drunk for half the price of a bar of chocolate.
Campaigners called on the Government to tackle the "plague" of illness caused by cheap alcoholic drinks after an investigation found that strong cider was available in city supermarkets for as little as 10p a unit.
Former chief medical officer Sir Liam Donaldson has recommended that parents should not let children under 15 drink alcohol. But many young people are consuming an average of 15 units a week, the equivalent of a pint of beer every day.
A report by Alcohol Concern and the Children's Society reveals that parents who drink to excess might also be influencing their children. At least 2.6 million children in the UK now live with parents drinking "hazardously".
(Adapted from http: / /www.thisislondon.co.uk)
Considering the text, what does the word "reveal" mean in this extract?
"London Ambulance Service figures today reveal that the number of 10- and ll-year-olds requiring medical treatment for alcohol abuse has more than doubled in the past two years."
 

Provas

Questão presente nas seguintes provas