Foram encontradas 523 questões.
Determinada empresa adquiriu 5.000 Kg de matéria-prima a R$ 30,00 o Kg, pagou R$ 4.000,00 de frete e R$ 2.000,00 de seguro. Considerando 18% de ICMS, 10% de IPI e 12% de ICMS s/ frete, é CORRETO afirmar que o custo de aquisição é de:
Provas
Questão presente nas seguintes provas
Todo e qualquer sistema de amortização por meio de prestações, constante ou não, uniformes ou não. Observe as seguintes premissas básicas:
I- Cada prestação é a soma de duas parcelas: a primeira é de juro, e a segunda de amortização.
II- A parcela de juro é sempre devida nos períodos em que existir prestação, podendo ser paga ou incorporada à principal.
III- Os sistemas de amortização de empréstimos são constituídos pela tabela SAC, SAM, PRICE e SACRE (este último adotado pela CEF).
Está (ão) CORRETA (S):
Provas
Questão presente nas seguintes provas
Em três meses consecutivos um fundo de renda fixa rendeu, respectivamente, 1,3%, 1,8%, e 2,1%. Se o capital aplicado foi de R$ 15.000,00, a taxa acumulada desse fundo no trimestre é de:
Provas
Questão presente nas seguintes provas
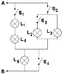
O diagrama da figura representa uma combinação de ligações de lâmpadas com vários interruptores. Todas as lâmpadas são de 40 W e 127 V. Os terminais A e B dessa combinação são ligados a uma tensão de 220 V. Considere que todos os interruptores estão abertos.
Qual combinação submeterá pelo menos uma lâmpada a uma tensão fora das especificações?

Provas
Questão presente nas seguintes provas
Um cilindro hidráulico de um trator pode fornecer uma pressão máxima de 160 psi. Deseja-se saber a força máxima fornecida pelo cilindro sabendo que seu êmbolo interno tem um diâmetro de 4 polegadas e que 1lbf = 4,45N.
Provas
Questão presente nas seguintes provas
Uma empresa Cia apresentou os seguintes dados em 31/12/X0:
• ICMS sobre vendas – R$ 95
• Provisão para devedores duvidosos – R$ 15
• Ganho na baixa com imobilizado – R$ 45
• Receita com vendas – R$ 500
• Depreciação – R$ 75
• Receitas Financeiras – R$ 35
• Custo das mercadorias vendidas – R$ 105
• Resultado Equivalência Patrimonial – R$ 25
• Serviços de Terceiros – R$ 50
• Provisão para devedores duvidosos – R$ 15
• Ganho na baixa com imobilizado – R$ 45
• Receita com vendas – R$ 500
• Depreciação – R$ 75
• Receitas Financeiras – R$ 35
• Custo das mercadorias vendidas – R$ 105
• Resultado Equivalência Patrimonial – R$ 25
• Serviços de Terceiros – R$ 50
Elaborando a Demonstração do Valor Adicionado (DVA), o valor adicionado total a distribuir será de:
Provas
Questão presente nas seguintes provas
Os motores síncronos são uma nova opção para melhorar o fator de potência dentro das indústrias, onde a exigência sobre esse o fator de potência deve ser maior que 0,85.
Assim, pode se afirmar que:
I. Os motores síncronos, por possuírem fonte de excitação separada, podem ser sobreexcitados, fazendo com que a corrente avance em relação à tensão, melhorando o fator de potência de uma instalação.
II. Um gerador síncrono de uma usina pode atuar como um motor síncrono a vazio e corrigir o fator de potência de linhas de distribuição.
III. Em um motor síncrono, a carga pode ser aplicada mesmo sem ter atingido a velocidade de sincronismo.
IV. A partida de um motor síncrono se dá com tensão reduzida por meio de um autotransformador de partida, reator ou resistência série.
Estão CORRETAS:
Provas
Questão presente nas seguintes provas
Segundo a NR-26, as mangueiras de oxigênio e acetileno devem ser verdes e vermelhas, respectivamente. Além disso:
Provas
Questão presente nas seguintes provas
De acordo com as Normas Brasileiras de Contabilidade e conforme o Pronunciamento Técnico – CPC 03 – Demonstração dos Fluxos de Caixa, do Comitê de Pronunciamentos Contábeis, constantes na Deliberação CVM 547/08 e na Resolução do CFC n.º 1.125/08, atribua a letra V para as proposições verdadeiras e F para as falsas. Em seguida, marque a opção que contenha a sequência CORRETA:
( ) São exemplos de fluxos de caixa que decorrem das atividades operacionais recebimentos e pagamentos de caixa de contratos mantidos para negociação imediata ou disponíveis para venda futura.
( ) São exemplos de fluxos de caixa decorrentes das atividades de investimento pagamentos de caixa a investidores para adquirir ou resgatar ações da entidade.
( ) São exemplos de fluxos de caixa decorrentes das atividades de financiamento pagamentos para aquisição de ações ou instrumentos de dívida de outras entidades e participações societárias em joint ventures (exceto desembolsos referentes a títulos considerados como equivalentes de caixa ou mantidos para negociação imediata ou venda futura).
Provas
Questão presente nas seguintes provas
Um aumento nos impostos acompanhado de um aumento no estoque de moeda:
Provas
Questão presente nas seguintes provas
Cadernos
Caderno Container