Foram encontradas 785 questões.
O fenômeno conhecido como chuva ácida está relacionado ao ciclo hidrológico e à dispersão de gases na atmosfera. Óxidos de enxofre (SOx) e óxidos de nitrogênio (NOx), emitidos principalmente por processos de combustão em atividades humanas, reagem com o vapor d’água na atmosfera, produzindo ácidos que precipitam com as chuvas, podendo causar problemas no solo, na vegetação, na água e em materiais. Em relação a esse fenômeno e às substâncias envolvidas em sua formação, tem-se que
Provas
O potencial hidrogeniônico (pH) e o potencial hidroxiliônico (pOH) são utilizados para medir, respectivamente, a acidez e a basicidade de soluções aquosas. A respeito do equilíbrio iônico nessas soluções, afirma-se que
Provas
Segundo a resolução CONAMA nº 357, de 2005, que, dentre outras disposições, estabelece as condições e os padrões de lançamento de efluentes, carga poluidora é a quantidade de determinado poluente transportado ou lançado em um corpo de água receptor, expressa em unidade de massa por tempo. Assim, a carga mensal de cádmio, em kg, lançada em um rio, através de uma corrente de efluente industrial que apresenta uma concentração do metal de 2,0 mg/L e um volume diário de lançamento de 100 m3, será
Provas

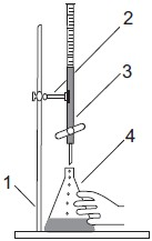
Sobre o sistema apresentado na figura acima e os equipamentos que o compõem, tem-se que
Provas
Considerando que o trabalhador, antes de iniciar o serviço, deve seguir as normas de SMS (Segurança, Meio Ambiente e Saúde), analise as recomendações abaixo.
I - Ler atentamente a PT (Permissão para Trabalho).
II - Usar EPI (Equipamento de Proteção Individual).
III - Fazer uma inspeção visual em todas as ferramentas para ver se não oferecem riscos de acidente.
IV - Usar sua experiência e improvisar sempre que necessário.
Estão corretas as recomendações
Provas
Em um tratamento termoquímico de cementação aplicado em um aço de baixo teor de carbono, uma concentração de carbono C foi obtida a uma profundidade x da superfície, sendo Cs a concentração de carbono na superfície, T a temperatura do tratamento e D o coeficiente de difusão, em 60 minutos. Para obter a mesma concentração de carbono C no mesmo aço, a uma profundidade 2x da superfície, mantendo as demais condições iguais, o tempo, em minutos, necessário para o tratamento é
Provas
O ensaio de dureza adequado para verificação de fases microscópicas de um material é o do tipo
Provas

Considerando o plano de corte representado, a vista obtida na direção indicada pela seta está corretamente representada na figura
Provas
Um suporte ABCD possui seção transversal quadrada cujos lados medem 100 mm. O suporte possui peso desprezível, e a forma e as dimensões são as mostradas na figura abaixo. O suporte é engastado no ponto A e possui uma carga aplicada de 500 N no ponto D.

A tensão normal máxima verificada no suporte, em MPa, é igual a
Provas
Um corpo de prova, com comprimento inicial de 200 mm e seção transversal quadrada de 10 mm de lado, foi ensaiado em tração e apresentou um gráfico força x variação de comprimento, conforme ilustrado abaixo.

Os valores das forças e das variações de comprimentos nos pontos marcados são fornecidos abaixo.
|
Ponto |
F (N) | !$ \Delta !$L (mm) |
| A | 20.000 | 0,200 |
| B | 20.000 | 0,300 |
| C | 30.000 | 0,600 |
| D | 25.000 | 0,700 |
O limite de resistência à tração do material da peça, em MPa, é igual a
Provas
Caderno Container