Foram encontradas 2.095 questões.
O circuito a seguir composto pelas impedâncias Z1, Z2 e Z3 representa uma carga conectada em Y (Estrela). Determine as impedâncias Za, Zb e Zc para o equivalente em !$ \triangle !$ (Delta). (Dados: Z1 = 5 a, Z2 = 8 a e Z3 = 9 a )

Provas
Em farmacoepidemiologia, estudos descritivos tem sido amplamente empregados para conhecer aspectos importantes na utilização de medicamentos por determinados grupos ou populações. Correlacione o tipo de estudo com a sua definição.
( A ) Estudo Ecológico.
( B ) Estudo Transversal.
( C ) Estudo de Caso-Controle.
( D ) Estudo de Coorte.
( ) Seleciona-se um grupo de pessoas de uma população que, no início do acompanhamento, não sejam portadores da doença/evento que se quer estudar e avalia-se se a exposição a uma determinada variável contribui para o desenvolvimento da doença/evento.
( ) Medem, em uma população previamente delimitada, a exposição (geralmente a vários fatores) e o efeito (doença/evento) simultaneamente, no momento de sua realização.
( ) Possibilita a comparação entre dois grupos de pessoas. Um dos grupos é composto por pessoas com uma determinada doença/evento. Outro grupo é composto por pessoas com características semelhantes ao grupo anterior, exceto pelo fato de que não sofrem a doença/evento.
( ) São também denominados estudos de correlação. A unidade de análise são populações ou grupos de pessoas, fato que não permite fazer associação individual entre a exposição e a doença/evento.
Provas
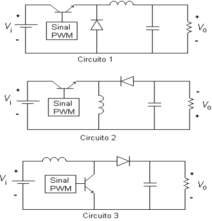
Os circuitos abaixo representam três topologias de conversores CC-CC. O controle da tensão V0 na saída do conversor é feito através do sinal modulado por largura de pulso (PWM), no qual a razão entre a largura positiva do pulso pelo período é chamada de razão cíclica de trabalho representada pela letra D.
Sabendo que os conversores operam no modo de condução contínua de corrente sobre o indutor, é correto afirmar que

I. o circuito 1 é um conversor abaixador de tensão, no qual tem-se a seguinte relação entre as tensões de saída e entrada: V0 / Vi = D.
II. o circuito 2 é um conversor elevador de tensão, no qual tem-se a seguinte relação entre as tensões de saída e entrada: V0 / Vi = 1 / (1-D).
III. o circuito 3 é um conversor abaixador/elevador de tensão, no qual tem-se a seguinte relação entre as tensões de saída e entrada: V0 / Vi = D / (1-D). IV. o circuito 3 é um conversor elevador de tensão, no qual tem-se a seguinte relação entre as tensões de saída e entrada: V0 / Vi = 1 / (1-D).
Provas
Texto I para a questão
O novo inimigo do clima
Pela primeira vez, buraco na camada de ozônio é ligado a mudanças climáticas.
Para ambientalistas e pesquisadores preocupados com as mudanças climáticas, o Judas dos últimos sábados de Aleluia foram os gases-estufa. Controlar sua emissão é a única forma de impedir que o clima atinja patamares incontroláveis. Mas a edição de hoje da revista “Science” traz um novo obstáculo à tona. A circulação atmosférica e o índice de chuvas também são influenciados pelo buraco da camada de ozônio – um problema já dado como resolvido, com a proibição, respeitada internacionalmente, da produção industrial de compostos químicos que aumentariam a abertura da camada protetora do planeta.
Segundo um estudo da Universidade de Columbia, de Nova York, os efeitos provocados pelo buraco da camada de ozônio sobre a Antártica podem aumentar em até 10%, a pluviosidade em diversos pontos do Hemisfério Sul – incluindo o Centro-Sul do Brasil, no trecho que se estende até Brasília. Os pesquisadores, porém, ainda consideram leviano usar este fenômeno para explicar recentes desastres climáticos, como a tempestade na Região Serrana, em janeiro.
Ainda de acordo com os autores da pesquisa, o buraco na camada de ozônio provocou uma mudança na direção dos ventos que passavam pela Antártica. Uma área marcada pela menor umidade, que existia mais ao norte do continente gelado foi deslocada para o sul. Com isso, uma região sobre este cinturão seco e próximo ao Equador ficou exposta a chuvas.
Esta é a primeira vez que um levantamento relaciona o buraco na camada de ozônio às mudanças climáticas.
– O buraco sequer é mencionado no sumário para formuladores de políticas públicas escrito pelo Painel Intergovernamental de Mudanças Climáticas (IPCC, da ONU) – destaca Lourenzo Polvani, coautor da pesquisa da Universidade de Columbia. – Mostramos, no entanto, que a camada de ozônio tem muito impacto no sistema do clima. É um jogador que deve ser observado.
Autora principal do levantamento, Sarah Kang também se admira com a relação em cadeia provocada pelo buraco.
– É realmente impressionante que o buraco na camada de ozônio, localizado tão alto na atmosfera sobre a Antártica (a até 30 quilômetros de distância) possa ter um impacto sobre os trópicos, aumentando o nível de chuvas por lá. É um efeito dominó – compara a pesquisadora.
Polvani e Sarah atribuíram ao buraco as mudanças na circulação atmosférica observadas no Hemisfério Sul durante a segunda metade do século passado. Com isso, os acordos internacionais para mitigar as mudanças climáticas não farão sentido se ficarem restritos ao controle das emissões de carbono. O ozônio, a partir de agora terá de ser considerado.
No Ártico, ozônio teve redução recorde.
Localizada na estratosfera, logo acima da troposfera (cujo início é na superfície terrestre), a camada de ozônio absorve boa parte dos raios ultravioleta emitidos pelo sol. Durante a última metade do século XX, o uso em larga escala de compostos químicos pelo homem, especialmente aerossóis contendo clorofluorcarbono (CFC), provocaram danos significativos na camada a tal ponto que um buraco sobre a Antártica foi descoberto em meados da década de 80.
Com o protocolo de Montreal, assinado em 1989 e que agora conta com a assinatura de 196 países, a produção global de CFC foi cancelada. A iniciativa já colhe frutos: na década passada a destruição da camada foi quase totalmente interrompida. Espera-se que a sua recuperação prossiga até meados do século, quando o buraco deve enfim ser fechado.
A comunidade internacional, portanto já via o buraco como um problema resolvido. Mas, de acordo com o estudo de Polvani e Sarah, mesmo quando coberto, ele provocará um impacto considerável no clima.
A dupla tirou suas conclusões baseada na construção de dois modelos: um em que projetaram a evolução da abertura na camada de ozônio; outro onde analisaram eventos climáticos das últimas décadas no Hemisfério Sul. A associação entre os resultados permitiu-os responsabilizar o ozônio por algumas das mudanças do clima observadas naquela região – com uma contribuição menor dos gases-estufa.
A camada de ozônio não inspira preocupação apenas na Antártica. No início do mês, a Organização Meteorológica Mundial (OMM) divulgou que aquele escudo natural sofreu uma redução recorde de 46% sobre o Ártico entre o fim de 2010 e março deste ano.
A OMM atribuiu o fenômeno à persistência de CFC na atmosfera e ao inverno muito frio na estratosfera. Junto ao motivo veio um alerta aos países nórdicos:
“Como a elevação do sol vai aumentar nas próximas semanas, as regiões afetadas pelo buraco na camada de ozônio terão que vigiar as radiações ultravioletas que serão superiores ao normal”, advertiu a organização em comunicado.
A redução é ainda mais preocupante porque, no Ártico, ela não é um fenômeno frequente como no Sul – na Antártica, o mesmo episódio ocorre todos os anos, sempre no inverno e na primavera, também devido às temperaturas baixas da estratosfera.
(Jornal “O Globo” / Ciência – sexta-feira, 22 de abril de 2011)
“A iniciativa já colhe frutos: na década passada a destruição da camada foi quase totalmente interrompida.” A expressão destacada anteriormente
Provas
Identifique a alternativa que completa corretamente as lacunas a seguir.
A filariose linfática humana é causada por helmintos nematoda das espécies Wuchereria bancrofti, Brugia malayi e B. timori. Sobre o diagnóstico laboratorial dessa doença, complete a sentença a seguir. “A pesquisa de no sangue periférico é feita por diferentes exames parasitológicos. Entre as técnicas disponíveis, a mais utilizada é a . Após 12-15h do preparo das lâminas, faz-se a , cora-se com Giemsa e examina-se ao microscópio”.
Provas
Com um Osciloscópio não se pode medir
Provas
Um motor de indução trifásico, rotor em gaiola, aciona uma carga acoplada diretamente ao seu eixo que deverá girar a 1140 RPM sobre condições nominais de operação. A partida será efetuada através de uma chave autotransformadora usando a derivação de 65%. O conjugado da carga acionada varia de acordo com a seguinte equação: ( Cr em Nm e n em RPM)
!$ C_r = 21,31 + 10^{-4}n^2 !$
Determine a potência requerida na ponta do eixo do motor, o conjugado resistente nominal e o conjugado de partida do motor.
Provas
Sobre a anemia aplástica, indique se a afirmativa é falsa (F) ou verdadeira (V) e assinale a alternativa que apresenta a sequência correta.
( ) A anemia é normocrômica.
( ) Geralmente, a contagem de reticulócitos está aumentada em relação ao grau de anemia.
( ) Presença de leucopenia.
( ) Contagem alta de plaquetas.
( ) Não há células anormais no sangue periférico.
Provas
Conforme o aspecto, a consistência ou a composição do excipiente, as pomadas podem classificar-se em grupos diferentes. Assim sendo, unguentos são pomadas que
Provas
Disciplina: TI - Desenvolvimento de Sistemas
Banca: DIRENS Aeronáutica
Orgão: CIAAR
- Compilação e Interpretação de CódigoBytecode
- LinguagensC++
- LinguagensJava
- Paradigmas de ProgramaçãoOrientação a ObjetosDefinição Técnica: Orientação a Objetos
Sobre linguagens de programação, analise as afirmativas a seguir, preencha com verdadeiro (V) ou falso (F) e marque a sequência correta.
( ) JAVA é uma linguagem de programação estritamente orientada a objetos.
( ) C++ permite linguagem estruturada ou orientada a objetos.
( ) C é estritamente orientada a objetos.
( ) A Linguagem Java é compilada para um bytecode que é executado por uma máquina virtual.
Provas
Caderno Container