Foram encontradas 2.095 questões.
O GNSS (Global Navigation Satellite System) é o nome concebido em 1991, durante a 10ª Conferência de Navegação Aérea, quando a Associação Internacional de Aviação Civil (ICAO) reconheçeu o GNSS como fonte primária para a navegação aérea. Analise os sistemas que compõem o GNSS, julgando-os verdadeiro(s) (V) ou falso(s) (F).
( ) NAVSTAR-GPS.
( ) GLONASS.
( ) GALILEU.
( ) BEIDOU/COMPASS.
A sequência correta é
Provas
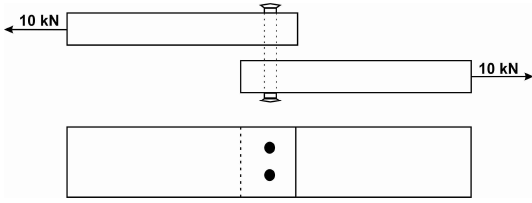
Considere as figuras a seguir que representam a seção transversal e a vista em planta de duas placas ligadas por dois rebites de 10 mm de diâmetro.

A tensão de cisalhamento nos dois rebites que seguram as duas placas tracionadas por uma força de 10 kN é, aproximadamente
Provas
A agressividade ambiental é um importante fator a ser considerado no projeto de estruturas em concreto por ser muito prejudicial. Considerando a classificação apresentada pela NBR 6118:2003, correlacione as colunas e depois indique a alternativa que apresenta a sequência correta.
(1) Edificação residencial urbana.
(2) Edificação residencial rural.
(3) Indústria química.
(4) Edificação residencial em região praiana.
( ) Agressividade fraca.
( ) Agressividade moderada.
( ) Agressividade forte.
( ) Agressividade muito forte
Provas
Texto IV para a questão
Tsunami
No Japão, os quebra- mares construídos para conter as ondas gigantes não deram nem para o começo. E a maior parte das casas não estava pronta para resistir à força das águas. “Faltam investimentos”, diz o professor Synolakis. para ele, pouco foi feito desde o desastre na Indonésia, em 2004, que deixou 230 mil vítimas. Os principais problemas são a falta de mapeamento de quais áreas podem ser atingidas e o número limitado de tsunamógrafos – como seu nome sugere, são os aparelhos que medem a frequência e o tamanho das ondas.
Mas a pedra maior no caminho é a falta de informação, como no desastre das ilhas Samoa, em 2009, que deixou 189 vítimas. Muitas tentaram fugir de carro e, com o trânsito, morreram afogadas dentro deles. O correto teria sido caminhar até os terrenos altos nas redondezas e esperar o aguaceiro passar.
Para aliviar as tragédias, o aviso precisa ser rápido e eficaz. Na Indonésia, em 2004, muitos dos 230 mil mortos não chegaram a ver o alerta emitido pela televisão local. A razão: eles viviam em vilas sem energia elétrica. Mas em muitos casos não há sequer tempo para divulgar a informação: um tsunami formado perto da costa pode chegar a ela em menos de 10 minutos. No caso recente do Japão, o problema de comunicação foi agravado porque o terremoto havia sido tão forte que cortou até a internet.
Outra medida necessária é investir em uma arquitetura antitsunami. Um bom exemplo é o dos templos islâmicos na Indonésia, que passaram ilesos pela avalanche de ondas. Suas grandes colunas circulares, que sustentavam os andares superiores, permitiram que a água fluísse livremente. Moral da história: se não pode vencê-lo, adapte-se a ele.
(Superinteressante – 04/2011) 24)
“Tsunami é substantivo masculino, o tsunami, palavra de origem japonesa que deveria levar acento por ser paroxítona terminada em i: tsu (porto); nami (onda, mar). A palavra é registrada como estrangeirismo, na 5ª edição do Vocabulário Ortográfico da Língua Portuguesa, de 2009.” (Revista Língua Portuguesa – nº. 66 – abril de 2011).
No texto aparecem duas palavras formadas a partir do vocábulo “tsunami”: tsunamógrafos e antitsunami. Indique (V) verdadeiro ou (F) falso para as afirmações abaixo.
( ) O prefixo “anti” em antitsunami tem o mesmo significado que o prefixo “ante” em antepor.
( ) Antitsunami e antagonista possuem prefixo com o mesmo significado.
( ) Tsunamógrafo é formado por dois radicais e o segundo elemento (-grafo) tem o mesmo significado apresentado em calígrafo.
A sequência correta é
Provas
As doenças ácido-pépticas são distúrbios, nos quais o ácido gástrico e a pepsina constituem fatores patogênicos necessários, porém habitualmente não suficientes. Para regular farmacologicamente a secreção gástrica, existem vários mecanismos. Analise os itens citados abaixo e assinale a alternativa que contém os mecanismos farmacológicos utilizados para este fim.
I. Inibidores da bomba de prótons.
II. Antagonistas α-adrenérgicos.
III. Antagonistas dos receptores H2.
IV. Análogos das prostaglandinas.
Provas
As reações adversas graves aos inibidores da ECA (enzima conversora de angiotensina) são raras e, em geral, esses fármacos são bem tolerados de modo satisfatório. Qual desses efeitos colaterais pode ser atribuído aos inibidores de ECA?
Provas
Identifique a assertiva que melhor completa a afirmação abaixo.
“O rendimento máximo, ou máxima transferência de potência, para um transformador, acontece na condição de carga em que ...”
Provas
Qual dessas apolipoproteínas não está presente nas lipoproteínas de densidade alta (HDL)?
Provas
Disciplina: TI - Desenvolvimento de Sistemas
Banca: DIRENS Aeronáutica
Orgão: CIAAR
Numere a segunda coluna de acordo com a primeira e depois marque a opção correta.

Provas
Por definição, argamassa é “uma mistura homogênea de aglomerante, agregado miúdo, água e eventualmente adições e/ou aditivos destinados a melhoria de suas propriedades”. Quando assentada na alvenaria a argamassa não proporciona
Provas
Caderno Container