Foram encontradas 39.300 questões.
Na soldagem oxiacetilênica, o maçarico pode fornecer diferentes tipos de chama, em função da quantidade de acetileno e de oxigênio, que são aplicáveis à soldagem de diferentes tipos de metais. A respeito dos tipos de chama, analise as afirmativas abaixo e assinale a opção correta.
I- Chama redutora é obtida pela mistura de oxigênio e menor quantidade de acetileno. Esse tipo de chama é caracterizado pela cor amarela clara e luminosa e pela zona carburante presente no dardo da chama. É usada para a soldagem de ferro fundido, alumínio, chumbo e ligas de zinco.
II- Chama neutra é formada a partir da regulagem da chama redutora, é obtida pela mistura de uma parte de gás, uma de oxigênio do maçarico e 1,5 parte de oxigênio do ar, e se caracteriza por apresentar um dardo brilhante. Ela é usada para a soldagem de cobre e todos os tipos de aços.
III- Chama oxidante é obtida a partir da chama neutra, aumentando a quantidade de acetileno e diminuindo a quantidade de oxigênio. É usada para a soldagem de aços galvanizados, latão e bronze. ·
Provas
Considerando uma função f do 2° grau, em que f(0) = 4, f(1) = 9 e f(-1) = 7, calcule f(2) e assinale a opção correta.
Provas
Uma instalação terrestre da Marinha do Brasil conta com um sistema de aquecimento solar que utiliza glicol em sua rede de circulação. O Departamento de engenharia decidiu utilizar a energia solar para também aquecer a água que circula na rede sanitária. Para isso, decidiu-se pela instalação de um equipamento que permita a transferência de calor através de uma interface metálica, em que o fluido mais quente cederá calor ao fluido mais frio, sem que ocorra a mistura dos fluidos que circulam nas redes solar e sanitária. Assinale a opção que apresenta o equipamento que deverá ser instalado.
Provas
A radiografia com raios X e com raios gama são alguns dos principais tipos de ensaios não destrutivos utilizados industrialmente. Com relação aos ensaios de raios X e de raios gama, assinale a opção correta.
Provas
A Rugosidade pode ser entendida como um conjunto de irregularidades. Ou seja, pequenas saliências ou reentrâncias que caracterizam uma superfície. A rugosidade desempenha um papel importante no comportamento dos componentes mecânicos, apresentando influência em diversos fatores. Assinale a opção que NÃO se relaciona com rugosidade.
Provas
Considere duas chapas de aço unidas por meio de cinco rebites iguais com seções transversais circulares, conforme figura abaixo. Estando o conjunto submetido a uma carga de 150 kN, conforme indicado, calcule o diâmetro d mínimo dos rebites para que a tensão de cisalhamento atuante em cada rebite seja de, no máximo, 100 MPa e assinale a opção correta.
Dado:
!$ π !$=3

Provas
Deseja-se aquecer a água de um tanque com 1.200 litros, elevando-se a temperatura de 20ºC a 80ºC em 15 minutos. Assinale a opção que apresenta a quantidade de calor necessária (Q) e a potência calorifica (P).
Dado: calor específico da água= 1cal/gºC
Provas
Uma cafeteira com 500 W de· potência, uma torradeira com 1000 W de potência, e ·uma fritadeira .elétrica com 1500 W de potência estão ligadas em paralelo em uma mesma rede doméstica com tensão de 120 V. Determine a tensão da cafeteira, da torradeira e da fritadeira elétrica respectivamente, e assinale a opção correta.
Provas
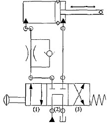
Observe figura abaixo:

O circuito apresentado acima é tipo Meter Out, ou seja, uma válvula é instalada de forma a restringir a saída de fluido do atuador, consequentemente, controlando sua velocidade. Esse tipo de circuito é utilizado quando a carga_ tende a fugir do atuador ou quando há carga negativa. No caso apresentado, o controle de velocidade é realizado pela válvula controladora de vazão quando a haste está fazendo o movimento de:
Provas
Os processos de conformação mecânica diferem da usinagem, pois alteram a geometria da peça através da deformação plástica e não há formação de cavaco. Um _dos processos de conformação mecânica é a trefilação que consiste:
Provas
Caderno Container