Foram encontradas 187 questões.
Trezentas Onças
J. Simões Lopes Neto
– Eu tropeava, nesse tempo. Duma feita que viajava de escoteiro, com a guaiaca empanzinada de onças de ouro, vim virar aqui neste mesmo passo, por me ficar mais perto da estância a Coronilha, onde devia pousar.
Parece que foi ontem!... Era por fevereiro; eu vinha abombado da troteada.
– Olhe, ali, na restinga, à sombra daquela mesma reboleira de mato, que está nos vendo, na beira do passo, desencilhei; e estendido nos pelegos, a cabeça no lombilho, com o chapéu sobre os olhos, fiz uma sesteada morruda.
Despertando, ouvindo o ruído manso da água tão limpa e tão fresca rolando sobre o pedregulho, tive ganas de me banhar; até para quebrar a lombeira... e fui-me à água que nem capincho!
Debaixo da barranca havia um fundão onde mergulhei umas quantas vezes; e sempre puxei umas braçadas, poucas, porque não tinha cancha para um bom nado.
E solito e no silêncio, tornei a vestir-me, encilhei o zaino e montei.
Daquela vereda andei como três léguas, chegando à estância cedo ainda, obra assim de braça e meia de sol.
– Ah!... esqueci de dizer-lhe que andava comigo um cachorrinho brasino, um cusco mui esperto e boa vigia. Era das crianças, mas às vezes dava-lhe para acompanhar-me, e depois de sair da porteira, nem por nada fazia cara-volta, a não ser comigo. E nas viagens dormia sempre ao meu lado, sobre a ponta da carona, na cabeceira dos arreios. (excerto do texto original).
O uso de travessão no início do primeiro, terceiro e oitavo parágrafos tem a função de indicar que
Provas
Questão presente nas seguintes provas
- Linguagens e Suportes MidiáticosProdução AudiovisualTeorias, Conceitos e Terminologia de Audiovisual e Cinema
Sobre o formato BLU-RAY e DVD, considere as afirmativas:
I) O formato BLU-RAY aceita codecs H.264, mas não aceita o codec MPEG-2.
II) O codec MPEG-2 é aceito tanto para DVD tanto para BLU-RAY.
III) O codec H.264 é aceito tanto para DVD tanto para BLU-RAY.
IV) A única taxa de proporção que o formato DVD suporta é 16:9 (Widescreen).
II) O codec MPEG-2 é aceito tanto para DVD tanto para BLU-RAY.
III) O codec H.264 é aceito tanto para DVD tanto para BLU-RAY.
IV) A única taxa de proporção que o formato DVD suporta é 16:9 (Widescreen).
Está(ão) correta(s),
Provas
Questão presente nas seguintes provas
- Linguagens e Suportes MidiáticosProdução AudiovisualTeorias, Conceitos e Terminologia de Audiovisual e Cinema
Quando falamos de áudio digital, sabemos que existem diversas extensões de arquivo de áudio. Qual alternativa abaixo apresenta apenas formatos de áudio:
Provas
Questão presente nas seguintes provas
O elemento instalado na horizontal, com pequena inclinação, sempre na terminação de um painel de telhado com a função de conduzir águas de chuva até os funis, chama-se
Provas
Questão presente nas seguintes provas
Na execução do reboco, qual é a sequência CORRETA das tarefas envolvidas?
Provas
Questão presente nas seguintes provas
Sobre a correta utilização de pHmetro e procedimento de leitura de pH é correto afirmar que
Provas
Questão presente nas seguintes provas
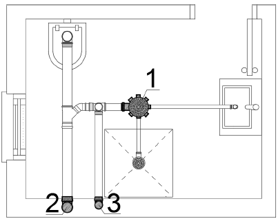
A figura abaixo representa as instalações de esgoto sanitário de um banheiro situado no 3º andar de um condomínio.

Os elementos 1, 2 e 3 indicam, respectivamente,
Provas
Questão presente nas seguintes provas
DIFERENÇAS ESTRUTURAIS ENTRE CÉREBRO DE HOMENS E MULHERES PODE SER MITO, SUGERE ESTUDO COM NEUROIMAGENS
“O cérebro masculino é mais racional; o feminino, mais emotivo.” Quem já não ouviu esse senso comum? E, além disso, há quem diga que homens são biologicamente mais propensos a seguir carreira na área das exatas e, as mulheres, no campo das humanas. Um estudo feito na Universidade de Tel-Aviv, no entanto, sugere que essas percepções são superficiais e, muito possivelmente, carregadas de vieses culturais. Com base no estudo de imagens do cérebro de mais de 1.400 pessoas, os cientistas descobriram que cérebros de homens e de mulheres compartilham uma miscelânea de formas, que pareceriam variar mais de indivíduo para indivíduo do que de sexo para sexo.
Os neurocientistas encontraram algumas poucas diferenças estruturais. O hipocampo esquerdo – área associada com a memória – costumava ser maior em homens, por exemplo. No entanto, houve uma quantidade significativa de cérebros femininos em que essa região era do tamanho típico de um cérebro masculino. Por outro lado, em diversos cérebros masculinos o hipocampo esquerdo era menor do que a média dos femininos.
Mas então por que homens e mulheres agem de forma tão diferente? Há base neurobiológica para isso? Segundo a chefe de pesquisa, Daphna Joel, isso parece ser um mito. Sua equipe analisou dados sobre comportamentos estereotipados de cada gênero, como jogar videogame e fazer artesanato. Os resultados também foram muito variados: apenas 0,1% dos indivíduos tinha apenas comportamentos considerados femininos ou apenas comportamentos considerados masculinos. Joel acredita que os resultados, publicados no Proceedings of the National Academy of Sciences, são um primeiro passo para revolucionar a forma como o cérebro é compreendido pela comunidade científica e as percepções sobre gênero.
Se no período “Um estudo feito na Universidade de Tel-Aviv, no entanto, sugere que essas percepções são superficiais e, muito possivelmente, carregadas de vieses culturais” (excerto do primeiro parágrafo) substituíssemos Um estudo por Estudos, quantas outras palavras teriam que sofrer alteração para que o período conservasse a correção gramatical?
Provas
Questão presente nas seguintes provas
Paciente de 22 anos, masculino, chega de missão no Haiti e apresenta quadro de diarreia aquosa aguda com desidratação importante. Diagnosticado cólera, realiza-se hidratação vigorosa intravenosa e inicia-se antibioticoterapia. Considere os antibióticos abaixo:
I) Doxiciclina.
II) Azitromicina.
III) Ciprofloxacina.
II) Azitromicina.
III) Ciprofloxacina.
Qual(is) dele(s) é (são) o(s) mais adequado(s)?,
Provas
Questão presente nas seguintes provas
DIFERENÇAS ESTRUTURAIS ENTRE CÉREBRO DE HOMENS E MULHERES PODE SER MITO, SUGERE ESTUDO COM NEUROIMAGENS
“O cérebro masculino é mais racional; o feminino, mais emotivo.” Quem já não ouviu esse senso comum? E, além disso, há quem diga que homens são biologicamente mais propensos a seguir carreira na área das exatas e, as mulheres, no campo das humanas. Um estudo feito na Universidade de Tel-Aviv, no entanto, sugere que essas percepções são superficiais e, muito possivelmente, carregadas de vieses culturais. Com base no estudo de imagens do cérebro de mais de 1.400 pessoas, os cientistas descobriram que cérebros de homens e de mulheres compartilham uma miscelânea de formas, que pareceriam variar mais de indivíduo para indivíduo do que de sexo para sexo.
Os neurocientistas encontraram algumas poucas diferenças estruturais. O hipocampo esquerdo – área associada com a memória – costumava ser maior em homens, por exemplo. No entanto, houve uma quantidade significativa de cérebros femininos em que essa região era do tamanho típico de um cérebro masculino. Por outro lado, em diversos cérebros masculinos o hipocampo esquerdo era menor do que a média dos femininos.
Mas então por que homens e mulheres agem de forma tão diferente? Há base neurobiológica para isso? Segundo a chefe de pesquisa, Daphna Joel, isso parece ser um mito. Sua equipe analisou dados sobre comportamentos estereotipados de cada gênero, como jogar videogame e fazer artesanato. Os resultados também foram muito variados: apenas 0,1% dos indivíduos tinha apenas comportamentos considerados femininos ou apenas comportamentos considerados masculinos. Joel acredita que os resultados, publicados no Proceedings of the National Academy of Sciences, são um primeiro passo para revolucionar a forma como o cérebro é compreendido pela comunidade científica e as percepções sobre gênero.
De acordo com o texto, é correto afirmar que:
I) a região cerebral do hipocampo é sempre maior em homens;
II) comportamentos masculinos e femininos apresentam inúmeras diferenças;
III) a ciência está desmitificando a ideia comumente aceita de que os homens são mais racionais que as mulheres;
IV) o hipocampo, região do cérebro de muitos indivíduos do sexo feminino envolvidos na pesquisa, tinha as mesmas dimensões do que é convencionado para essa região em cérebros masculinos.
Está(ão) correta(s),
Provas
Questão presente nas seguintes provas
Cadernos
Caderno Container