Foram encontradas 1.313 questões.
O planejamento educacional abarca vários tipos de planos que envolvem a organização e a sistematização de estratégias que devem contribuir para o alcance das metas e dos objetivos.
Analise e enumere de acordo com as concepções de cada tipo de plano:
I. Plano Nacional de Educação (PNE).
II. Projeto Pedagógico Institucional (PPI).
III. Plano de Desenvolvimento Institucional (PDI).
IV. Projeto Pedagógico de Curso (PPC).
V. Plano de Ensino (PE).
( ) Define diretrizes específicas, metas e projetos a serem desenvolvidos em determinado período de tempo, em geral de cinco a dez anos, em perfeita consonância com a missão institucional estabelecida. É um instrumento de planejamento que dá sequência às diretrizes de outro plano.
( ) É o documento que traça diretrizes e metas para a Educação no Brasil e tem prazo de até dez anos, para que todas elas sejam cumpridas e venham a contribuir para a melhoria da qualidade do ensino.
( ) Refere-se à reflexão, à tomada de decisão e à sistematização em relação à disciplina para determinado curso e período, em documento onde o professor organiza as práticas a serem adotadas na sua ação educativa em sala de aula ou em outro espaço educativo.
( ) É um instrumento que estabelece a missão, a vocação, os objetivos, os princípios, as diretrizes e os caminhos de uma instituição educacional de ensino superior, com caráter permanente, e é elemento-chave da gestão acadêmica, em coerência e articulação com os demais planos.
( ) É elaborado, observando os princípios da contemporaneidade, da inovação, da flexibilidade, dentre outros, e deve atender às diretrizes curriculares, ter aderência com a identidade institucional e com a diversidade regional.
Assinale a alternativa correta, em que aparece a sequência correta:
Provas
As afirmações abaixo dizem respeito à organização de elementos de conteúdo e forma de um livro.
Marque V para as afirmações verdadeiras e F para as falsas.
( ) Lombada ou dorso é o espaço constituído pela espessura do livro, limitado entre as duas dobras por ela definidas. Além do título do livro e do nome do autor, é comum encontrar numa das extremidades o logotipo da Editora da obra.
( ) Pré-textual é o conjunto de componentes que antecedem o conteúdo essencial da obra. Inclui a guarda, o falso rosto, o rosto ou frontispício, a dedicatória, a epígrafe, agradecimentos ou nota prévia, o prefácio, a lista de abreviaturas e siglas, a lista de figuras ou ilustrações e o sumário ou índice.
( ) Rosto ou frontispício é a página de registros opcionais da obra. Entre esses registros podem ser citados, além do nome do autor e do
título da obra, o subtítulo, o nome do tradutor (quando se trate do caso) e a imprensa (logotipo e nome da Editora, e o ano da publicação).
( ) Prefácio é um componente de inclusão obrigatória pelo autor ou editor. Consiste numa apreciação objetiva da obra e de seu autor, podendo incluir dados biográficos, comentários de aspectos afins ao conteúdo, elementos de documentação e orientação ao leitor, escritos por um especialista no assunto.
( ) Por escolha e desejo de seu autor, um livro pode ser aberto com uma epígrafe – sentença, estrofe ou pensamento diretamente relacionados com o tema da obra. É de uso colocá-la numa página específica ímpar, impressa em caracteres distintos em tipo e corpo, também de maneira sóbria, acompanhada apenas pelo nome do autor.
O verso dessa página é mantido em branco. A ordem correta está expressa na alternativa:
Provas
As geotecnologias já estão inseridas, há algum tempo, em vários setores da atividade humana, como mineração, transportes, etc; e tendem a aumentar devido à importância que vêm adquirindo nos últimos anos, pois, em um ambiente de SIG, por exemplo, o acúmulo de informações geográficas, em níveis local, regional ou global, e a possibilidade de relacionamento de dados espaciais e de atributos das geometrias, com rapidez no processamento e agilidade de geração do produto cartográfico, potencializam os processos de tomada de decisão e planejamento por parte do usuário.
Com base nessas informações, é correto afirmar:
Provas
Considere a representação dos dados espaciais, na figura abaixo.

Figura: Representação vetorial e matricial de um mapa temático.
Fonte: CÂMARA, G; DAVIS, C; MONTEIRO, A. Introdução à ciência da geoinformação. São José dos Campos: INPE, 2001, p. 31.
Com base na figura acima, é correto afirmar:
Provas
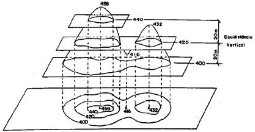
Observe a figura a seguir

Figura: Curvas de Nível.
Fonte: IBGE. Noções básicas de cartografia. Rio de Janeiro: IBGE, 1999, p. 78.
Com base na figura acima, é correto afirmar:
Provas
A troca do meio de cultura em linhagens celulares é realizada para
Provas
Assinale o procedimento para fazer o repique de culturas celulares:
Provas
Provas
Provas
Provas
Caderno Container