Foram encontradas 384 questões.
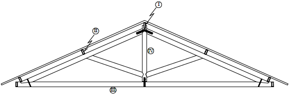
Observe a tesoura da estrutura de cobertura:

Marque a alternativa que indica CORRETAMENTE a nomenclatura usual das peças numeradas:
Provas
Questão presente nas seguintes provas
Para a realização de um esfregaço a partir de diferentes amostras clínicas, deve-se:
I – Lavar em água.
II – Colocar o corante.
III – Fixar através de calor ou metanol.
IV – Depositar uma fina camada do material.
V – Limpar a lâmina.
Assinale a alternativa que apresenta a sequência CORRETA:
Provas
Questão presente nas seguintes provas
Em conformidade com a lei que dispõe sobre o Regime Jurídico dos Servidores Públicos Civis da União, das Autarquias e das Fundações Públicas Federais (Lei nº 8.112/90 e suas alterações), analise as proposições:
I – A posse em cargo público dependerá de prévia inspeção médica oficial.
II – É de quinze dias o prazo para o servidor empossado em cargo público entrar em exercício, contados da data da nomeação.
III – Exercício é o efetivo desempenho das atribuições do cargo público ou da função de confiança.
Marque a alternativa CORRETA:
Provas
Questão presente nas seguintes provas
São atividades do dia-a-dia de um operador de máquinas agrícolas, EXCETO:
Provas
Questão presente nas seguintes provas
No tratamento da madeira, a concentração do produto preservativo é estabelecido de acordo com:
Provas
Questão presente nas seguintes provas
Apresentam-se abaixo, funções do AutoCAD e suas respectivas descrições. Enumere a descrição de acordo com a função:
| Função | Descrição |
| 1. Measure |
( ) Insere marcas (que podem ser pontos ou blocos) em intervalos definidos ao longo de
um objeto sem fracioná-los ou parti-los.
|
| 2. Divide |
( ) Insere marcas (que podem ser pontos ou blocos) equidistantes em um objeto sem
fracioná-los ou parti-los.
|
| 3. Array |
( ) Faz cópias múltiplas de objetos selecionados, formando uma matriz polar ou
retangular.
|
| 4. Offset | ( ) Executa cópias paralelas de objetos selecionados a uma distância específica. |
| 5. Lengthen | específica. |
| 6. Copy | |
| 7. Modify |
Assinale a alternativa que apresenta a sequência CORRETA:
Provas
Questão presente nas seguintes provas
As pessoas que trabalham com madeira, frequentemente se deparam com os organismos xilófagos. Com respeito aos organismos xilófagos, é CORRETO afirmar:
Provas
Questão presente nas seguintes provas
Na marcenaria, muitas ferramentas são utilizadas em função do trabalho que será realizado. Algumas ferramentas se diferenciam pela maneira como será trabalhada a madeira. Nesse sentido, os termos ângulo de corte, vídia, ângulo de ataque e ângulo de saída se referem a:
Provas
Questão presente nas seguintes provas
A curva de solubilidade de um sal hipotético é apresentada a seguir:

Os pontos de A a D representam a massa do sal hipotético adicionada a 100 g de solvente a uma determinada temperatura. No que diz respeito à classificação das soluções estáveis resultantes quanto à solubilidade, as afirmativas estão corretas, EXCETO:
Provas
Questão presente nas seguintes provas
Relacione os sistemas empregados em laboratório com suas principais aplicações.
| Sistemas empregados | Aplicações |
| I – Sistema de destilação à vácuo | ( ) Separação acelerada de misturas heterogêneas. |
| II – Sistema de filtração à vácuo | ( ) Separação de misturas termo-sensíveis. |
| III – Sistema de destilação fracionada | ( ) Separação de misturas líquidas homogêneas. |
Assinale a alternativa que apresenta a sequência CORRETA:
Provas
Questão presente nas seguintes provas
Cadernos
Caderno Container