Foram encontradas 100 questões.
Analise as afirmações abaixo e marque as verdadeiras.
I. A velocidade da luz é a mesma em todos os referenciais.
II. O tempo próprio é o menor intervalo de tempo possível entre dois eventos.
III. O movimento absoluto pode ser observado a partir da contração das distâncias.
IV. O ano-luz é uma unidade de distância.
V. Eventos simultâneos devem ocorrer no mesmo local.
VI. Dois eventos que não são simultâneos em um referencial não podem ser simultâneos em nenhum outro referencial.
VII. Se duas partículas são mantidas juntas por forças atrativas, a massa de repouso do sistema é menor do que a soma das massas das partículas que compõem o sistema.
São verdadeiros os itens:
Provas
Questão presente nas seguintes provas
As variações de temperatura de dois corpos de massas \( M_ 1 \) e \( M_2 \) são iguais quando cada um fornece a mesma quantidade de calor. Sobre a relação entre os calores específicos \( c_1 \) e \( c_2 \) pode-se afirmar que :
Provas
Questão presente nas seguintes provas
A figura abaixo representa uma haste delgada de massa M de densidade uniforme e comprimento L = 6 a . A haste é posta em oscilação com pequena amplitude em torno de um eixo que passa pelo ponto O.

Considerando que o movimento oscilatório da haste (figura anterior) reduz-se por completo até extinguir-se. Do ponto de vista termodinâmico, esse movimento caracteriza um fenômeno
Provas
Questão presente nas seguintes provas
Responda a questão, com base no Texto II
Texto II
Qualificação profissional, como ela faz falta!
Existe uma unanimidade no mercado de trabalho: qualificação faz muita falta. Essa é uma verdade sentida na pele tanto por profissionais quanto por empregadores. Os profissionais podem nem notar, talvez imaginando que “apenas um diploma basta” – pode até mesmo ser um diploma de nível superior. No entanto, muitos não se dão conta de que chegariam mais longe em suas carreiras e conseguiriam salários mais atrativos se investissem, direta (pagando do próprio bolso, na medida do possível) ou indiretamente (buscando apoio das empresas em que trabalham), na própria especialização.
As empresas também sentem, talvez mais diretamente, os efeitos da falta de qualificação. No final do ano passado, o IPEA – Instituto de Pesquisa Econômica Aplicada – divulgou um estudo que revela que apenas 18% dos desempregados brasileiros têm requisitos necessários para serem absorvidos pelo mercado de mão-de-obra especializada. A realidade aponta que há oportunidades, mas falta gente preparada para aproveitá-las.
Há, porém, casos notáveis de programas mantidos por empresas, especialmente de grande porte, visando à qualificação da mão-de-obra. Essas empresas utilizam-se de institutos que formam profissionais capacitados para seu negócio ou formam parcerias com instituições de ensino.
A educação, que é a mãe da qualificação, é a chave de um ciclo virtuoso que inevitavelmente resulta no crescimento do país e na redução das abismais desigualdades sociais. O caminho é esse, inevitavelmente.
(Jornal da Paraíba – Caderno Concursos e Empregos, domingo, 4 de maio de 2008, p. 1). Com adaptação.
Os parênteses presentes no primeiro parágrafo intercalam estruturas que indicam uma:
Provas
Questão presente nas seguintes provas
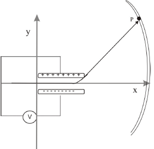
O esquema abaixo representa um corte transversal de um tubo de raios catódicos.

Nele duas placas paralelas carregadas criam no seu interior um campo elétrico uniforme, que faz com que o feixe atinja o ponto S, da tela, formando uma mancha luminosa. Se a tensão uniforme V aplicada às placas for substituída por uma tensão alternada, a tela do tubo mostrará
Provas
Questão presente nas seguintes provas
Quanto à postura de trabalho sentado, pode-se afirmar:
Provas
Questão presente nas seguintes provas
Quanto aos EPIs, é correto afirmar:
Provas
Questão presente nas seguintes provas
Nas máquinas e equipamentos, para que seja resguardada a segurança do operador, o dispositivo de acionamento e parada deve permitir:
Provas
Questão presente nas seguintes provas
Quanto às instituições SESMT e CIPA, pode-se afirmar:
I - Tanto o SESMT quanto a CIPA são formados por profundos conhecedores de higiene e segurança no trabalho.
II - As empresas públicas ou privadas, cujos empregados sejam regidos pela CLT, podem possuir SESMT ou CIPA.
III - A CIPA é recomendada apenas para às empresas privadas.
Assinale a alternativa correta:
Provas
Questão presente nas seguintes provas
O SESMT pode ser integrado por:
Provas
Questão presente nas seguintes provas
Cadernos
Caderno Container