Foram encontradas 1.156 questões.
A possibilidade de obter gravidez a termo, a partir da injeção intracitoplasmática de espermatozóides obtidos diretamente do testículo, ampliou, significativamente, o espectro de causas de infertilidade masculina passíveis de tratamento. A partir de então, mesmo os indivíduos portadores de azoospermia poderiam gerar os próprios filhos, desde que fosse possível obter algum espermatozóide viável no interior do parênquima testicular.
Em relação às técnicas que permitem a obtenção de espermatozóides, assinale a alternativa correta:
Provas
Questão presente nas seguintes provas
Assinale a alternativa correta. Das bases de dados abaixo relacionadas, qual delas é Latino-americana?
Provas
Questão presente nas seguintes provas
“O desenvolvimento de um indivíduo começa no momento da fecundação. O respeito que deve ser garantido, até pelas vias constitucionais, à vida humana, a defesa que se deseja intransigente dos direitos do Homem e a necessidade de preservar princípios de índole ética, social e deontológica impõem, porém, uma continuada reflexão acerca do momento que define o começo do processo vital. A análise desejável terá de ser de natureza sociológica, mas não poderá deixar de se fundamentar em premisssas científicas inequívocamente objectivas, algumas ainda em contínua e renovada evolução conceptual.
Será o embrião humano uma pessoa potencial ou uma pessoa humana real?
E a partir de que momento exacto deverá o produto de concepção ser objecto de toda a protecção implícita a um ser humano?
...a possibilidade de manipulação laboratorial de embriões humanos com todo o cortejo de consequências imagináveis daí resultantes – diagnósticos precoces in vitro antes da implantação, selecção do sexo, eliminação de indesejáveis, tentações eugénicas, análises preditivas, modificações da identidade genética – quase obriga ou pelo menos aconselha a que se estabeleça um verdadeiro estatuto para um ser humano não vivo mas com promessa de vida”
(Agostinho de Almeida Santos - Universidade de Coimbra.)
Assinale a alternativa correta, em relação a resolução do CFM 1992:
Provas
Questão presente nas seguintes provas
Em relação a programas de exercícios físicos para idosos é correto afirmar:
Provas
Questão presente nas seguintes provas
Assinale a alternativa correta. Dentre os critérios utilizados na seleção de materiais que abordam a adequação ao usuário, podemos citar:
Provas
Questão presente nas seguintes provas
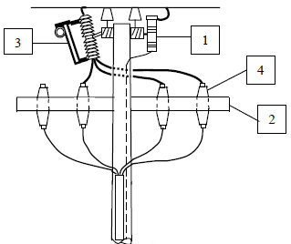
Dado o desenho a seguir:

Assinale a alternativa que indica corretamente os equipamentos ligados à rede de distribuição, conforme a numeração indicada na figura.
Provas
Questão presente nas seguintes provas
Dadas as afirmativas a seguir:
I. A corrente nominal de um disjuntor é definida como a corrente que o disjuntor pode suportar em regime ininterrupto, a uma temperatura de referência especificada pelo fabricante.
II. As normas NBR-IEC-60947-2 e NBR-IEC-60898 fabricam disjuntores com curvas de atuação B, C e D, sendo a corrente de atuação instantânea do tipo B é maior do que a corrente de atuação instantânea do tipo D.
III. A capacidade de interrupção dos disjuntores termomagnéticos deve ser superior a corrente de curto-circuito da instalação.
IV. Os disjuntores magnéticos protegem os circuitos contra sobrecargas e curto-circuitos.
Assinale a alternativa correta.
Provas
Questão presente nas seguintes provas
No tocante à economia brasileira é correto afirmar que:
Provas
Questão presente nas seguintes provas
Com relação ao infanticídio é correto afirmar:
Provas
Questão presente nas seguintes provas
As hepatites virais são um grupo de interesse para a Saúde Pública pela possibilidade de transmissão de pessoa a pessoa. Classificam-se em hepatites virais dos tipos A, B, D, E, G. Em nosso meio são detectáveis as dos tipos A, B e C. Em relação a estas últimas, é INCORRETO afirmar:
Provas
Questão presente nas seguintes provas
Cadernos
Caderno Container