Foram encontradas 612 questões.
Em um sistema operando em regime contínuo e estacionário,
pode-se afirmar que:
Provas
Questão presente nas seguintes provas
Observe o diagrama tensão (
) versus deformação (
) obtido em um ensaio de tração de uma peça de aço carbono.

Com base nesse diagrama, pode-se afirmar que a tensão de escoamento desse aço vale:
Provas
Questão presente nas seguintes provas
A figura a seguir apresenta um circuito, em equilíbrio, constituído por um fluido e dois êmbolos.
Sobre o êmbolo 1 é aplicada uma carga de 200N e sobre o êmbolo 2 é aplicada uma carga de magnitude F2. Sabendo que a área
da seção transversal do êmbolo 1 é de 100mm2
e que a do êmbolo 2 é de 500mm2
, a carga F2 vale:
Sobre o êmbolo 1 é aplicada uma carga de 200N e sobre o êmbolo 2 é aplicada uma carga de magnitude F2. Sabendo que a área
da seção transversal do êmbolo 1 é de 100mm2
e que a do êmbolo 2 é de 500mm2
, a carga F2 vale:Provas
Questão presente nas seguintes provas
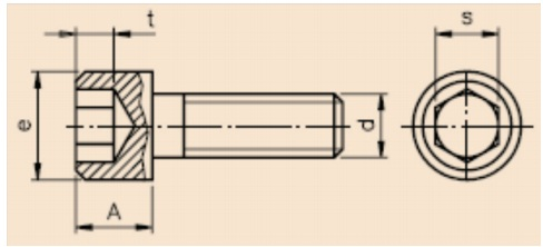
A figura a seguir apresenta um corte longitudinal e a vista lateral de um parafuso com sextavado interno.
Esses parafusos são usualmente fabricados utilizando-se:
Esses parafusos são usualmente fabricados utilizando-se:Provas
Questão presente nas seguintes provas
Os elementos de vedação se classificam em dois grupos: os elementos de junções fixas e os de junções móveis. Um tipo de
vedação direta para junções fixas recomendado para operações com fluidos de baixa pressão é vedação:
Provas
Questão presente nas seguintes provas
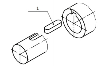
A figura a seguir apresenta uma peça mecânica.
Nessa peça, o elemento indicado pelo número 1 é conhecido como:
Nessa peça, o elemento indicado pelo número 1 é conhecido como:Provas
Questão presente nas seguintes provas
No projeto de circuitos lógicos combinacionais, o método gráfico utilizado para simplificar uma expressão lógica, ou para converter
uma tabela-verdade em um circuito lógico mais simplificado, é denominado de:
Provas
Questão presente nas seguintes provas
A curva característica de um diodo relaciona a tensão aplicada (U) às extremidades do diodo com a corrente elétrica (I) que o
atravessa. O gráfico que melhor representa essa relação é:
Provas
Questão presente nas seguintes provas
Mostra-se, a seguir, a tabela verdade de uma porta lógica, onde “A” e “B” indicam as entradas e “S” indica a saída.
Essa porta lógica é do tipo:
Essa porta lógica é do tipo:Provas
Questão presente nas seguintes provas
Observe as características abaixo, que podem ou não ser encontradas em um retificador monofásico AC/DC.
Um retificador monofásico do tipo controlado apresenta a(s) característica(s):
Um retificador monofásico do tipo controlado apresenta a(s) característica(s):Provas
Questão presente nas seguintes provas
Cadernos
Caderno Container