Foram encontradas 873 questões.
3148523
Ano: 2024
Disciplina: Engenharia Civil
Banca: FAU-UNICENTRO
Orgão: Pref. Prudentópolis-PR
Disciplina: Engenharia Civil
Banca: FAU-UNICENTRO
Orgão: Pref. Prudentópolis-PR
Provas:
De acordo com a terça bi-apoiada de
cobertura, conforme ilustrada abaixo, da qual
está submetida a flexão simples oblíqua,
devido os carregamentos qgk e fgk estarem
na direção gravitacional. Determine o valor
momento fletor Mx característico máximo
(ilustrado) presente na terça. (considerar seno
de 25° = 0,4 e cosseno de 25° = 0,9)


Provas
Questão presente nas seguintes provas
3148522
Ano: 2024
Disciplina: Engenharia Civil
Banca: FAU-UNICENTRO
Orgão: Pref. Prudentópolis-PR
Disciplina: Engenharia Civil
Banca: FAU-UNICENTRO
Orgão: Pref. Prudentópolis-PR
Provas:
Infelizmente no Brasil, nem todos os
cidadãos dispõem ainda de saneamento
básico, que é um fator muito importante para
a saúde da população. Qual das alternativas
abaixo refere-se à SANEAMENTO BÁSICO?
Provas
Questão presente nas seguintes provas
3148521
Ano: 2024
Disciplina: Engenharia Civil
Banca: FAU-UNICENTRO
Orgão: Pref. Prudentópolis-PR
Disciplina: Engenharia Civil
Banca: FAU-UNICENTRO
Orgão: Pref. Prudentópolis-PR
Provas:
- Auditoria de Obras PúblicasFundação
- EstruturasAnálise Estrutural
- Geotecnia
- Resistência dos Materiais e Análise EstruturalEstruturas de Concreto
Um reservatório de concreto armado com
peso próprio de 20 kN e mais 6 m³ de água em
seu interior está apoiado sobre 4 pontaletes
de madeira em seus quatro cantos, de forma
simétrica conforme ilustração abaixo.
Considerando que cada pontalete possui
seção transversal de 10cm x 10cm, qual a
tensão gerada no pontalete considerando o
peso próprio da estrutura mais o peso da
água em seu interior? (Considerar aceleração
da gravidade igual a 10m/s²).


Provas
Questão presente nas seguintes provas
3148520
Ano: 2024
Disciplina: Direito Urbanístico
Banca: FAU-UNICENTRO
Orgão: Pref. Prudentópolis-PR
Disciplina: Direito Urbanístico
Banca: FAU-UNICENTRO
Orgão: Pref. Prudentópolis-PR
Provas:
De acordo com a constituição federal de
1988, no Art. 182, no parágrafo terceiro, como
as desapropriações de imóveis urbanos são
realizadas?
Provas
Questão presente nas seguintes provas
3148519
Ano: 2024
Disciplina: Direito Urbanístico
Banca: FAU-UNICENTRO
Orgão: Pref. Prudentópolis-PR
Disciplina: Direito Urbanístico
Banca: FAU-UNICENTRO
Orgão: Pref. Prudentópolis-PR
Provas:
De acordo com a constituição federal de
1988, no Art. 182, no parágrafo primeiro, o
plano diretor, aprovado pela Câmara
Municipal, que é o instrumento básico da
política de desenvolvimento e de expansão
urbana, é obrigatório para cidades com
população maior que:
Provas
Questão presente nas seguintes provas
3148518
Ano: 2024
Disciplina: Engenharia Civil
Banca: FAU-UNICENTRO
Orgão: Pref. Prudentópolis-PR
Disciplina: Engenharia Civil
Banca: FAU-UNICENTRO
Orgão: Pref. Prudentópolis-PR
Provas:
- Gerenciamento, Planejamento e Controle de Obras
- Orçamento no Planejamento e Controle de Obras na Engenharia Civil
Considerando a utilização de um bloco
cerâmico 9x14x19 cm assentados de 1 vez
(tijolo deitado, em planta 14 x 19cm), com
junta de argamassa de assentamento com 1
cm de espessura, quantos tijolos são
necessários para construir 50 m² de
alvenaria? (Desprezar perdas):
Provas
Questão presente nas seguintes provas
3148517
Ano: 2024
Disciplina: Engenharia Civil
Banca: FAU-UNICENTRO
Orgão: Pref. Prudentópolis-PR
Disciplina: Engenharia Civil
Banca: FAU-UNICENTRO
Orgão: Pref. Prudentópolis-PR
Provas:
Sapata associada é uma fundação comum
a mais de um pilar, sendo também chamada
sapata combinada ou conjunta. Transmitem
ações de dois ou mais pilares. Em que casos
é utilizada a associação de sapatas como
alternativa?
Provas
Questão presente nas seguintes provas
3148516
Ano: 2024
Disciplina: Engenharia Civil
Banca: FAU-UNICENTRO
Orgão: Pref. Prudentópolis-PR
Disciplina: Engenharia Civil
Banca: FAU-UNICENTRO
Orgão: Pref. Prudentópolis-PR
Provas:
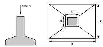
Abaixo temos a ilustração da lateral e da
vista em planta de uma sapata de fundação.
Considerando o carregamento de 500 kN e os
lados A e B da sapata 65cm e 125cm
respectivamente, qual a tensão transmitida
para o solo aproximadamente?


Provas
Questão presente nas seguintes provas
3148515
Ano: 2024
Disciplina: Engenharia Civil
Banca: FAU-UNICENTRO
Orgão: Pref. Prudentópolis-PR
Disciplina: Engenharia Civil
Banca: FAU-UNICENTRO
Orgão: Pref. Prudentópolis-PR
Provas:
Para dimensionamento de fundações
profundas como estacas, faz-se necessário a
determinação da resistência vertical,
resistência horizontal e resistência ao
momento fletor. No que tange a determinação
de resistência vertical de estacas, temos
métodos de cálculo que são utilizados. Um
dos métodos utilizados para determinação de
resistência vertical de estacas é método:
Provas
Questão presente nas seguintes provas
3148514
Ano: 2024
Disciplina: Engenharia Civil
Banca: FAU-UNICENTRO
Orgão: Pref. Prudentópolis-PR
Disciplina: Engenharia Civil
Banca: FAU-UNICENTRO
Orgão: Pref. Prudentópolis-PR
Provas:
Uma laje de beiral é engastada em uma
viga da edificação. Esta laje não possui
continuidade, assim para equilíbrio estático
foi considerado um engaste perfeito da laje na
viga, gerando torção na viga, conforme
ilustrado abaixo. O carregamento total neste
beiral é de 2kN/m² e o balanço possui 1,20m de comprimento. Qual o valor do momento
torsor na viga por metro linear da viga?


Provas
Questão presente nas seguintes provas
Cadernos
Caderno Container