Foram encontradas 300 questões.
936270
Ano: 2016
Disciplina: Engenharia Civil
Banca: Pref. Montes Claros-MG
Orgão: Pref. Montes Claros-MG
Disciplina: Engenharia Civil
Banca: Pref. Montes Claros-MG
Orgão: Pref. Montes Claros-MG
Provas:
De acordo com a ABNT NBR 6118/2014, a segurança das estruturas de concreto deve sempre ser verificada em relação aos estados-limites últimos listados abaixo, EXCETO
Provas
Questão presente nas seguintes provas
936268
Ano: 2016
Disciplina: Português
Banca: Pref. Montes Claros-MG
Orgão: Pref. Montes Claros-MG
Disciplina: Português
Banca: Pref. Montes Claros-MG
Orgão: Pref. Montes Claros-MG
Provas:
TEXTO 01
A medicina não sabe como muitos remédios funcionam. E alguns simplesmente não funcionam.
Você provavelmente já tomou paracetamol quando estava com febre. Já deve ter usado algum relaxante muscular para aliviar dores no corpo. Quem sabe tenha tomado isotretinoína, na adolescência, para tratar acne. Ou faça uso, hoje, de algum antidepressivo. Mas esses medicamentos têm uma característica em comum que você não conhece: seu “mecanismo de ação não é plenamente conhecido”. Leia bulas de remédio e você encontrará essa frase em muitos, mas muitos deles. Ela significa que a ciência não sabe, com exatidão, o que eles fazem dentro do organismo. Sabe quais são seus efeitos (tanto os desejados quanto os colaterais), comprova sua eficácia e segurança, geralmente possui teorias sobre o mecanismo de ação. Mas, a rigor, não sabe como aquilo funciona. Só sabe, empiricamente, que funciona. Ela também sabe que alguns remédios, inclusive, não funcionam. Ou até funcionam, mas da mesma forma que uma pílula de farinha funcionaria: como placebo.
Um estudo de 2014 que avaliou antidepressivos concluiu que a maioria deles era indistinguível do placebo. Em tese, esses remédios deveriam aumentar os níveis de serotonina e/ou dopamina no cérebro. Algumas das drogas estudadas, entretanto, não demonstraram superioridade clinicamente significativa ao placebo (pílulas inócuas, sem efeito). Os pacientes que tomaram placebo também apresentaram níveis aumentados de serotonina – só que ela foi produzida pelo próprio organismo, sem nenhum medicamento.
(Fonte: Revista Super Interessante, edição 358, março 2016, p. 35. Adaptado.)
De acordo com o Texto 01, é CORRETO afirmar:
Provas
Questão presente nas seguintes provas
936224
Ano: 2016
Disciplina: Segurança e Saúde no Trabalho (SST)
Banca: Pref. Montes Claros-MG
Orgão: Pref. Montes Claros-MG
Disciplina: Segurança e Saúde no Trabalho (SST)
Banca: Pref. Montes Claros-MG
Orgão: Pref. Montes Claros-MG
Marque a alternativa CORRETA referente à temperatura mínima, na qual os gases desprendidos dos combustíveis entram em combustão, apenas pelo contato com o oxigênio do ar, independentemente de qualquer outra fonte de calor.
Provas
Questão presente nas seguintes provas
936216
Ano: 2016
Disciplina: Engenharia Ambiental e Sanitária
Banca: Pref. Montes Claros-MG
Orgão: Pref. Montes Claros-MG
Disciplina: Engenharia Ambiental e Sanitária
Banca: Pref. Montes Claros-MG
Orgão: Pref. Montes Claros-MG
Provas:
Considerando a carga per capta igual a 50 g/hab.dia, o Equivalente Populacional de uma indústria, com vazão de águas residuárias igual à 140 !$ m^3/d !$ e a concentração de DBO igual a 2.500 mg/L, é de
Provas
Questão presente nas seguintes provas
935068
Ano: 2016
Disciplina: Português
Banca: Pref. Montes Claros-MG
Orgão: Pref. Montes Claros-MG
Disciplina: Português
Banca: Pref. Montes Claros-MG
Orgão: Pref. Montes Claros-MG
Provas:
Leia atentamente o texto I abaixo e responda a questão.
TEXTO I - POR QUE AS PESSOAS SÃO TÃO AGRESSIVAS NA INTERNET?
Um dos comportamentos humanos mais comuns também é um dos mais assustadores: nossa tendência a punir e ofender as pessoas. Qualquer um que passe meia hora no Facebook ou no Twitter pode comprovar isso.
Um caso que deu muito o que falar nos Estados Unidos foi o da norte-americana Justine Sacco. Em 2013, ela escreveu no Twiter: “Indo para a África. Espero não pegar AIDS. Tô brincando. Sou branca”. Certamente ela escreveu uma coisa muito, muito idiota. Ela merecia tomar umas broncas. Mas será que mereceu as milhares e milhares de respostas ofensivas e agressivas, além de ameaças de morte? Depois do caso, ela perdeu o emprego, amigos e até contato com familiares. Passou a enfrentar graves problemas psicológicos e teve que recomeçar a sua vida pessoal e profissional e outra cidade.
A psicóloga Nichola Raihani, que realiza estudos sobre cooperação humana na University College London, em entrevista ao site Vox, explica: “O ser humano é a única espécie que sente prazer em punir seus iguais. É como se nosso cérebro já fosse condicionado a deleitar a punição de outra pessoa”.
Ainda segundo a psicóloga, este sistema fortalecido pela internet é perigoso, já que quem ofende hoje pode ser ofendido amanhã. Apesar de ter intensificado na era da internet, o comportamento não é novidade. Nichola cita um exemplo: o sistema de julgamento de supostos criminosos, em que pessoas que também são suscetíveis a deslizes julgam outras por terem cometido seus próprios erros. Ela também atesta que é muito mais fácil a opinião pública se manifestar a favor da condenação do suspeito, mesmo sem provas de que ele tenha cometido um crime.
(Fonte: Revista Galileu, ano 28, n. 272, p. 28, outubro 2015. Adaptado.)
Em relação ao caso da norte-americana Justine Sacco, assinale a afirmativa INCORRETA.
Provas
Questão presente nas seguintes provas
935065
Ano: 2016
Disciplina: Comunicação Social
Banca: Pref. Montes Claros-MG
Orgão: Pref. Montes Claros-MG
Disciplina: Comunicação Social
Banca: Pref. Montes Claros-MG
Orgão: Pref. Montes Claros-MG
Provas:
Numere a coluna II de acordo com a coluna I, associando corretamente as teorias da comunicação à sua respectiva denominação:
| 1- Teoria hipodérmica |
( ) Consiste na revisão do processo comunicativo como relação
mecânica.
|
| 2- Teoria psicológica |
( ) De orientação sociológica, trata da influência dos mass media sobre a
sociedade.
|
| 3- Teoria dos efeitos limitados | ( ) Aborda as consequências averiguáveis da ação dos mass media sobre a sociedade. |
| 4- Teoria funcionalista |
( ) Atinge, por meio da mensagem, pessoal e diretamente, cada elemento do
público.
|
Assinale a alternativa que apresenta a sequência CORRETA.
Provas
Questão presente nas seguintes provas
935021
Ano: 2016
Disciplina: Desenho Técnico e Industrial
Banca: Pref. Montes Claros-MG
Orgão: Pref. Montes Claros-MG
Disciplina: Desenho Técnico e Industrial
Banca: Pref. Montes Claros-MG
Orgão: Pref. Montes Claros-MG
Provas:
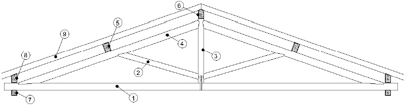
A figura abaixo representa as diversas peças da estrutura de um telhado. A questão deve ser respondida de acordo esta figura.

Caibro é o nome da peça de número
Provas
Questão presente nas seguintes provas
933616
Ano: 2016
Disciplina: Direito Constitucional
Banca: Pref. Montes Claros-MG
Orgão: Pref. Montes Claros-MG
Disciplina: Direito Constitucional
Banca: Pref. Montes Claros-MG
Orgão: Pref. Montes Claros-MG
Provas:
Assinale a alternativa CORRETA.
Provas
Questão presente nas seguintes provas
932171
Ano: 2016
Disciplina: Segurança e Saúde no Trabalho (SST)
Banca: Pref. Montes Claros-MG
Orgão: Pref. Montes Claros-MG
Disciplina: Segurança e Saúde no Trabalho (SST)
Banca: Pref. Montes Claros-MG
Orgão: Pref. Montes Claros-MG
Provas:
Marque a alternativa INCORRETA referente às responsabilidades dos armadores e seus prepostos, de acordo com a Norma Regulamentadora que tem como objetivo a proteção e a regulamentação das condições de segurança e saúde dos trabalhadores aquaviários.
Provas
Questão presente nas seguintes provas
932030
Ano: 2016
Disciplina: Serviço Social
Banca: Pref. Montes Claros-MG
Orgão: Pref. Montes Claros-MG
Disciplina: Serviço Social
Banca: Pref. Montes Claros-MG
Orgão: Pref. Montes Claros-MG
Provas:
Com base nos estudos realizados, marque V para as afirmativas verdadeiras e F, para as falsas:
I - O reconhecimento social da profissão advém das suas influências originárias e da homogeneidade das ações profissionais, social e institucionalmente construídas.
II - Compreender a posição que a dimensão instrumental da intervenção profissional ocupa na prática do Assistente Social exige a adoção de referências teórico-metodológicas, procedimentos analíticos e categorias intelectivas que extrapolam o âmbito do Serviço Social, bem como das racionalidades subjacentes às formas de ser e pensar a profissão.
III - A profissão carece de uma racionalidade como fundamento e expressão das teorias e práticas que seja capaz de iluminar as finalidades, a partir das quais o aparato técnico-operativo é mobilizado.
IV - Mesmo considerando a importância de todas as dimensões constitutivas do Serviço Social, a dimensão prática é a mais importante, principalmente porque a imagem dessa profissão tem sua sustentação na ação cotidiana de seus profissionais.
V - O ato de atribuir “nova qualidade” à intervenção dos assistentes sociais emana da necessidade de se criar novos instrumentos de ação profissional e de se recriar os instrumentos tradicionalmente utilizados pelos assistentes sociais.
A partir da análise das afirmativas acima, assinale a alternativa CORRETA.
Provas
Questão presente nas seguintes provas
Cadernos
Caderno Container