Foram encontradas 150 questões.
As Teorias de Jornalismo clássicas pressupõem fundamentos igualmente clássicos ministrados nas escolas e abordados nas pesquisas da área. Marque a opção ERRADA sobre esses fundamentos:
Provas
As cobaias são fundamentalmente herbívoras e comem a maioria dos tipos de grãos, verduras e pasto. As rações comerciais são peletizadas, com diâmetro recomendável de no máximo de 50 mm, e devem ser administradas em comedouros adequados para minimizar o desperdício, contaminação fecal e urinária. O consumo médio diário de ração comercial peletizada pelos animais adultos é de 40 g. As cobaias, do mesmo modo que primatas não humanos e o próprio homem, são dependentes de fontes exógenas de ácido ascórbico. A deficiência de ácido ascórbico na alimentação das cobaias:
Provas
Os benzodiazepínicos pertencem a uma variedade de substâncias que tem a capacidade de deprimir o Sistema Nervoso Central (SNC), provocando calma ou sedação (sonolência), e são classificados como sedativo-hipnóticos (FOSCARINI, 2010). Pertence à classe dos benzodiazepínicos:
Provas
Aparentemente, alguns medicamentos e produtos químicos têm ação tóxica direta nas células-tronco. Em animais, os medicamentos associados à lesão de células-tronco incluem estrógeno. Pode ocorrer intoxicação por estrógeno:
Provas
O sistema respiratório pode ser dividido em vias respiratórias e locais de troca gasosa. As vias respiratórias compreendem os seguintes órgãos:
Provas
A sarna notoédrica (sarna felina) é uma dermatose intensamente pruriginosa e formadora de crostas dos gatos, causada pelo:
Provas
No exame semiológico de pequenos animais, como cães e gatos, não são palpáveis, mesmo quando aumentados, os linfonodos:
Provas
Ao que se refere à aspectos de hábitos pessoais ou de exposição ambiental, que está associado ao aumento da probabilidade de ocorrência de alguma doença, uma vez que podem ser modificados, algumas medidas que os atenuem podem levar a diminuição da ocorrência de doenças. Na epidemiologia, chamamos de:
Provas
Analisando o diagrama lógico dado abaixo, podemos afirmar que o conjunto que representa o elemento X , que faz parte da operação lógica (A ^ B) é o:

Provas
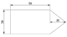
Assinale a alternativa que corresponde a área do objeto abaixo, considerando as dimensões do desenho em metros (m):

Provas
Caderno Container