Foram encontradas 2.131 questões.
Observe a imagem da operação que está sendo executada com uma motoniveladora.
(Arquivo pessoal; imagem usada com autorização)
Assinale a alternativa correspondente à operação representada na imagem.
(Arquivo pessoal; imagem usada com autorização) Assinale a alternativa correspondente à operação representada na imagem.
Provas
Questão presente nas seguintes provas
3731330
Ano: 2025
Disciplina: Agronomia (Engenharia Agronômica)
Banca: VUNESP
Orgão: Pref. Itatiba-SP
Disciplina: Agronomia (Engenharia Agronômica)
Banca: VUNESP
Orgão: Pref. Itatiba-SP
Provas:
Observe a imagem:
(Arquivo pessoal; imagem usada com autorização)
Na operação com motoniveladora Komatsu, ao acionar a alavanca de comando conforme as posições indicadas na imagem, ocorrerá
(Arquivo pessoal; imagem usada com autorização)
Na operação com motoniveladora Komatsu, ao acionar a alavanca de comando conforme as posições indicadas na imagem, ocorrerá
Provas
Questão presente nas seguintes provas
Considere a imagem a seguir:
(Arquivo pessoal; imagem usada com autorização)
Quando, durante operação com máquinas pesadas, o indicador apresentado nessa imagem acender no painel de instrumentos, indicará ao operador a ocorrência de
(Arquivo pessoal; imagem usada com autorização)
Quando, durante operação com máquinas pesadas, o indicador apresentado nessa imagem acender no painel de instrumentos, indicará ao operador a ocorrência de
Provas
Questão presente nas seguintes provas
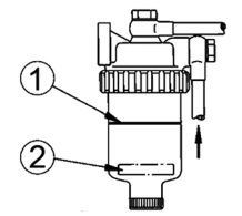
Observe a imagem:
(Arquivo pessoal; imagem usada com autorização)
Quando, durante inspeção preventiva em máquinas pesadas, o flutuador representado pelo número “2” do componente da imagem estiver na linha indicada pelo número “1”, o operador deverá
(Arquivo pessoal; imagem usada com autorização)
Quando, durante inspeção preventiva em máquinas pesadas, o flutuador representado pelo número “2” do componente da imagem estiver na linha indicada pelo número “1”, o operador deverá
Provas
Questão presente nas seguintes provas
Assinale a alternativa que apresenta um benefício do
uso de Ambientes Virtuais de Aprendizagem (AVA) na
educação.
Provas
Questão presente nas seguintes provas
3731326
Ano: 2025
Disciplina: TI - Segurança da Informação
Banca: VUNESP
Orgão: Pref. Itatiba-SP
Disciplina: TI - Segurança da Informação
Banca: VUNESP
Orgão: Pref. Itatiba-SP
Provas:
Assinale a alternativa que apresenta uma característica
correta acerca de programas do tipo antivírus.
Provas
Questão presente nas seguintes provas
3731325
Ano: 2025
Disciplina: TI - Segurança da Informação
Banca: VUNESP
Orgão: Pref. Itatiba-SP
Disciplina: TI - Segurança da Informação
Banca: VUNESP
Orgão: Pref. Itatiba-SP
Provas:
Considerando os pilares da segurança da informação,
assinale a alternativa que apresenta o princípio que pode
ser buscado a partir de implantação de balanceamento
de carga e mecanismos de failover.
Provas
Questão presente nas seguintes provas
3731324
Ano: 2025
Disciplina: TI - Redes de Computadores
Banca: VUNESP
Orgão: Pref. Itatiba-SP
Disciplina: TI - Redes de Computadores
Banca: VUNESP
Orgão: Pref. Itatiba-SP
Provas:
Analise a definição a seguir:
“Camada responsável pela entrega e formatação da informação para a camada de aplicação, essencial para a interoperabilidade entre sistemas que podem ter diferentes representações internas de dados, como diferentes codificações de caracteres.
Exemplos de protocolos são o TLS/SSL e o MIME.”
Assinale a alternativa que apresenta a camada que cumpre a definição, no modelo OSI e no modelo TCP/IP, respectivamente.
“Camada responsável pela entrega e formatação da informação para a camada de aplicação, essencial para a interoperabilidade entre sistemas que podem ter diferentes representações internas de dados, como diferentes codificações de caracteres.
Exemplos de protocolos são o TLS/SSL e o MIME.”
Assinale a alternativa que apresenta a camada que cumpre a definição, no modelo OSI e no modelo TCP/IP, respectivamente.
Provas
Questão presente nas seguintes provas
3731323
Ano: 2025
Disciplina: TI - Redes de Computadores
Banca: VUNESP
Orgão: Pref. Itatiba-SP
Disciplina: TI - Redes de Computadores
Banca: VUNESP
Orgão: Pref. Itatiba-SP
Provas:
Assinale a alternativa que apresenta o modelo de tecnologia de rede que cobre uma grande área geográfica e é
utilizada por operadoras de telefonia de rede móvel.
Provas
Questão presente nas seguintes provas
Considere o modelo de um banco de dados do tipo SQL a seguir, para responder a questão:

(Arquivo pessoal; imagem usada com autorização)
Provas
Questão presente nas seguintes provas
Cadernos
Caderno Container