Foram encontradas 2.689 questões.
No engaxetamento das válvulas de controle, os materiais mais utilizados são o
Provas
Questão presente nas seguintes provas
A representação de um elemento primário de medição de vazão tipo deslocamento positivo, segundo a norma ISA 5.1, é
Provas
Questão presente nas seguintes provas

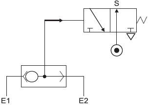
A equação booleana correspondente à representação pneumática da ilustração é
Provas
Questão presente nas seguintes provas
A sequência de letras e números de uma identificação funcional, em uma malha, é selecionada de acordo com a variável controlada.
Assim, um instrumento identificado por MIC21002 será um
Provas
Questão presente nas seguintes provas

Segundo a norma ISA 5.1, a figura ilustrada corresponde a um
Provas
Questão presente nas seguintes provas
Toma-se um conjunto P com 2 elementos e um conjunto Q com 3 elementos.
Quantas são as possíveis relações não vazias de P em Q?
Provas
Questão presente nas seguintes provas
Em um círculo unitário de centro O, traça-se um diâmetro AB e uma corda AC que forma com AB um ângulo de 15º.

Se AD é a projeção ortogonal de AC sobre AB, quanto mede, em unidades de comprimento, o segmento CD?
Provas
Questão presente nas seguintes provas
O Equipamento de Proteção Individual (EPI), utilizado na proteção de um soldador contra os perigos específicos à operação de soldagem, compreende
Provas
Questão presente nas seguintes provas
Qual o menor valor de x que torna a expressão 9x − 7 . 3x + 10 = 0 verdadeira?
Dados: log 2 = 0,3
log 3 = 0,48
log 3 = 0,48
Provas
Questão presente nas seguintes provas
Seja f: A → !$ \mathbb {R} !$ uma função dada por !$ f(x)= \sqrt {16-(x-2)^2} !$, onde A é o domínio tal que qualquer outro domínio possível para f seja um subconjunto de A.
Se pudermos escrever A pela notação [a, b], então o valor de b − a será
Provas
Questão presente nas seguintes provas
Cadernos
Caderno Container